Antenne cornet

Une antenne cornet est une antenne en forme de cylindre, de cône ou pyramide tronquée employée pour des liaisons directes ou comme antenne-source pour éclairer un réflecteur parabolique (voir antenne parabolique).
Histoire

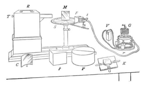
La toute première antenne cornet était de petite taille ; elle a été inventée par le chercheur/botaniste indien Jagadish Chandra Bose.
Il l'a décrite dans un article publié en 1897 en tant que l'un des éléments d'un appareil couplant un émetteur et un récepteur de micro-ondes.
Cet appareil était destiné à l'étude des effets des micro-ondes sur les cellules végétales et les plantes (illustration ci-contre).
Principe et utilisation

L'antenne cornet utilise le principe d'ouverture rayonnante, la forme de cornet assurant simplement l'adaptation progressive de l'onde électromagnétique entre le point de couplage et la surface de rayonnement.
Son gain théorique est directement lié à la surface rayonnante, qui pour une ouverture nettement plus grande que la longueur d'onde, est presque égale à la surface équivalente . Ce gain théorique n'est obtenu qu'avec la géométrie correcte et l'adaptation du couplage.
Quoique des antennes de type cornet puissent être réalisées à toutes fréquences, elles sont surtout utilisées en hyperfréquences (3 à 300 GHz). Aux fréquences basses, l'attaque s'effectue en général avec un coaxial couplé par un quart d'onde. Aux fréquences hautes, le couplage direct à un guide d'ondes est seul utilisable, dans ce cas le cornet n'est qu'une extension évasée du guide d'ondes.
Des variantes diverses existent selon la polarisation, les performances souhaitées (et le coût acceptable) :
- adjonction d'une lentille diélectrique pour raccourcir l'encombrement et réduire les lobes secondaires (lentille de Fresnel). La lentille peut aussi servir de radôme ;
- usinages annulaires intérieurs pour améliorer le diagramme (« cornet corrugué »).
Notes et références
Voir aussi
Articles connexes
Liens externes
- Les antennes cornets, sur le site je-comprends-enfin.fr
- Portail de l’électricité et de l’électronique
- Portail des télécommunications