Bâton sauteur

Le bâton sauteur (ou pogo stick) est une perche sur laquelle une personne peut se tenir debout (comme avec une échasse), comprenant à son extrémité supérieure des poignées et à son extrémité inférieure un dispositif à ressort ou à air comprimé permettant des rebonds sur le sol.
Le bâton sauteur peut être un moyen de déplacement, mais il est généralement considéré soit comme un jeu pour enfants, soit comme un sport à part entière, notamment pour les acrobaties qu'il permet.
Origines

.jpg)
Le bâton sauteur moderne (ou pogo) est la conjonction d'une série d'inventions en matière de jouets et de modes de déplacements :
Les échasses à ressort (spring stilt) ont été inventées en 1881 par George H. Herrington[1], originaire de Wichita, Kansas, « pour sauter sur de grandes distances et de grandes hauteurs ».
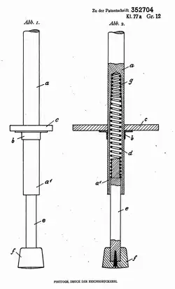
Les Allemands Max Pohlig et Ernst Gottschall ont breveté, à Hanovre en mars 1920[2], sous l'appellation d'« échasse de saut à ressort » (« Federnd wirkende Huepfstelze ») le premier bâton sauteur à proprement parler. L'innovation majeure est l'ajout d'un double repose-pied sur une échasse qui dispense de l'usage d'une paire d'échasses. L’adjonction des initiales de leurs patronymes donne le mot « pogo », nom sous lequel l'objet est aussi connu dans le monde.
Autre innovation majeure de cette période, l'ajout d'une vraie poignée est brevetée par Walter Lines en 1921[3].
Cette invention de Max Pohlig et Ernst Gottschall a connu un fort succès en France et en Angleterre[4] dans les années 1920.
La marque Pogo a été lancée aux États-Unis en 1921[5].
Des troupes de spectacles telles les Ziegfeld Girls, aux États-Unis, l'ont inclus dans leurs spectacles[6]. Des courses de pogo sont même organisées à New-York dans la Cinquième avenue[7].
La version à deux poignées et matériaux métalliques a été inventée par George Hansburg, un inventeur allemand établi en Illinois, fabricant de mobilier pour enfants et créateur de jouets et brevetée en 1957[8].
Hansburg a donné une autre origine au nom pogo lors de son passage dans l'émission What's my line? en 1959[9]: Il y raconte que, pendant la Première Guerre mondiale, il aurait rencontré un fermier pauvre lors d'un voyage en Birmanie. La fille de ce fermier, subissant la pauvreté de son milieu social, allait et venait nu-pieds. Très croyante, la jeune Pogo souhaitait se rendre chaque jour au temple pour prier, mais le long chemin escarpé et boueux s'avérait être un obstacle assez insurmontable sans chausses convenables. Le fermier aurait alors expliqué à Hansburg qu'il avait confectionné un moyen de locomotion permettant à la jeune Pogo d'aller et venir du Temple à la ferme sans craindre de s'écorcher les pieds. L'instrument en question ressemblait à une échasse unique, fabriquée en bois souple, et pouvant supporter le poids de sa fille pendant qu'elle se déplaçait par petits sauts. À son retour dans l'Illinois, Hansburg se serait mis en tête de fabriquer son propre modèle de bâton sauteur, grandement inspiré de la version grossière observée auprès de ses hôtes birmans.
Cette légende a probablement été inventée par Hansburg lui-même pour donner au bâton sauteur une image exotique et s'attribuer l'origine du nom et du succès. L'attribution fallacieuse de l'invention à Hansburg a été reprise par un article du New York Times de 1975[10] qui le présente à tort, comme à l'origine de l'engouement pour le produit dès les années 1920. Une étude des dépôts de brevets montre que s'il a bien déposé un brevet en 1919, il s'agit de celui d'une voiture propulsée par un moteur avec élastique. De plus, s'il a déposé de nombreux brevets en matière de jouets, son premier dépôt sur le bâton sauteur date de 1955, le brevet de Lines y est d'ailleurs mentionné, reconnaissant de facto, qu'il n'est pas le premier à travailler sur cet objet. Enfin, en 1921, en pleine popularité du bâton sauteur, son entreprise fait d'ailleurs l'objet d'une requête de mise en faillite[11]
Retour à la mode

L'apport véritable de Hansburg à travers ses brevets à partir de 1955[8] est l'ajout d'une poignée double et le passage du bois à des matériaux plus modernes. Son bâton sauteur métallique est un succès indéniable qui a relancé la popularité de cet objet pendant quelques années.
Après un relatif retour à l'obscurité, le bâton sauteur, connaît un relatif retour en grâce lié à son association aux sports extrêmes et à l'acrobatie. En 1999, une communauté de passionnés d'acrobatie avec bâton sauteur créé le site xpogo.com pour partager leur vidéos de ce sport. Le succès est au rendez-vous et l'équipe créée autour de ce site est rapidement connue pour plusieurs records du monde dans le domaine du bâton sauteur.
En 2004, SBI, société crée par Hansburg, Bruce Middleton et le skateboarder Andy Macdonald lancent la marque Flybar et développe, grâce à de nouveaux système de propulsion élastiques, les premiers "extreme pogo sticks".
En 2006, la firme Vurtego, propose un système avec air comprimé.
Records

Le Livre Guinness des records s'intéresse aux records de distance parcourues ou encore au nombres de sauts consécutifs :
- Record mondial de la plus grande distance parcourue : en 1997, à New York, Ashrita Furman a sauté pendant 12 h 21, sur 37,18 km.
- Record du monde du nombre de sauts : en 1980, Gary Stewart, sur un double bâton sauteur[C'est-à-dire ?], a rebondi 177 737 fois en 20 h 20 (soit environ 2,4 rebonds par seconde), sur le parking d'un Burger King.
- Record du monde du nombre de backflips consécutifs : en enchaînant 15 « saltos arrière », Dmitry Arsenyev a réalisé le nouveau record du monde de backflips sur la place de l'Europe à Montpellier lors du FISE en [12]. Le précédent record était de 12, détenu par Fred Grzybowski, un Américain.
De nombreux records ont été reconnus par le Livre Guinness des records ; l'équipe Xpogo détient notamment 13 records[13] en bâton sauteur.
Voir aussi
Articles connexes
Liens externes
Références et notes
- ↑ (en) Spring-stilt, (lire en ligne)
- ↑ (en) Huepfgeraet, (lire en ligne)
- ↑ (en) A new or improved hopping-pole for use in exercise or in playing games, (lire en ligne)
- ↑ « Hopping Stilts are the New French Playthings. », Illustrated World, , p. 900
- ↑ « The Pogo Stick; An Appreciation », sur Global Toy News (consulté le )
- ↑ (en) « Gossip », The Evening post, , p. 28 (lire en ligne)
- ↑ (en) « In America's first pogo race », Evening Public Ledger, , p. 24 (lire en ligne)
- 1 2 (en) Pogo stick, (lire en ligne)
- ↑ (en) « What's my line? with George hansburg »
- ↑ (en) « George Hansburg, Pogo stick inventor », New york Times, , p. 44 (lire en ligne)
- ↑ « Business Trouble », New-York Tribune, , p. 16 (ISSN 1941-0646, lire en ligne, consulté le )
- ↑ article sur BatonSauteur.fr
- ↑ « Le top-3 des personnalités du Pogo Stick / baton sauteur », sur blogspot.de (consulté le ).
- Portail du sport
- Portail des jeux