Encodeur

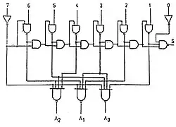
Encodeur prioritaire

Un encodeur est un composant matériel ou logiciel qui transforme une information en un code.

Exemples

Notes et références

  1. Jérôme Laplace, « Les encodeurs pour la robotique mobile », sur Génération Robots - Blog, (consulté le )
  2. « Encodeur rotatif : fonctionnement + exemples de code arduino », (consulté le )

Voir aussi

  • icône décorative Portail de l’informatique