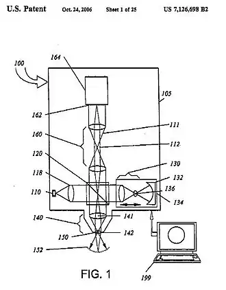
Interféromètre Linnik

N°120 : lame séparatrice produisant les deux bras de l'interféromètre.
N°140 : bras de mesure contenant un objectif (n°141) pour imager la surface à étudier (n°152).
N°130 : bras de référence contenant des optiques complémentaires pour compenser les aberrations produites dans le bras de mesure.
N°164 : détecteur.
Un interféromètre Linnik est un interféromètre à deux faisceaux utilisé en microscopie et dans les mesures de contours de surface ou de topographie. La configuration de base est la même que celle d'un interféromètre de Michelson. La configuration Linnik se distingue par l'utilisation d'optiques de mesure dans le bras de référence, qui dupliquent essentiellement l'optique de mesure dans le bras de mesure. L'avantage de cette conception est sa capacité à compenser la dispersion chromatique et autres aberrations optiques.
Notes et références
- Dubois, Kate Grieve, Gael Moneron et Romain Lecaque, « Ultrahigh-resolution full-field optical coherence tomography », Applied Optics, vol. 43, no 14, , p. 2874–2883 (PMID 15143811, DOI 10.1364/AO.43.002874, Bibcode 2004ApOpt..43.2874D)
- Portail des micro et nanotechnologies
- Portail de l’optique