Jean Perrin

| Président de l'Académie des sciences | |
|---|---|
| - | |
| Président Société française de physique | |
| - | |
| Naissance | |
|---|---|
| Décès |
(à 71 ans) New York (États-Unis) |
| Sépulture |
Panthéon (depuis le ) |
| Nationalité | |
| Formation | |
| Activités | |
| Conjoint | |
| Enfants | |
| Parentèle |
Georges Lapicque (petit-fils) David Perrin (petit-fils) |
| A travaillé pour | |
|---|---|
| Membre de |
Royal Society () Académie des sciences de Turin () Académie des sciences de Russie Académie des sciences Académie royale des sciences de Suède Académie des sciences de l'URSS (en) |
| Directeur de thèse | |
| Distinctions |
Prix Nobel de physique () Liste détaillée Vallauri Prize () Médaille Matteucci () Prix Henri-de-Parville () Prix La Caze de l'Académie des sciences () Membre étranger de la Royal Society () Commandeur de l'ordre de Léopold II () Commandeur de la Légion d'honneur () Prix Nobel de physique () Grande médaille d'or de la Société d'encouragement au progrès () |
Les Atomes, Œuvres scientifiques de Jean Perrin (d) |


_2.jpg)
Jean Baptiste Perrin, dit Jean Perrin, né le à Lille en France et mort le à New York aux États-Unis, est un physicien, chimiste et homme politique français. Il reçoit le prix Nobel de physique en 1926. Ancien élève de l'École normale supérieure, il fut nommé chargé de cours (1898) puis professeur (1910) de chimie physique à la Faculté des sciences de Paris où il enseigna pendant 40 ans.
Dans son premier projet de recherche, Jean Perrin a entrepris de résoudre l'énigme de la nature des rayons cathodiques et des rayons X. Sont-ils lumière ou matière ? En 1895, il démontra, par des expériences très convaincantes, que les rayons cathodiques sont composés de corpuscules de matière chargés négativement. En 1896, il constata que les rayons X se comportent comme de la lumière ultra-violette de très courte longueur d'onde et il découvrit qu'ils ont le pouvoir d'ioniser les molécules de gaz.
Ses recherches les plus connues concernent une série d'expériences menées entre 1907 et 1909 pour valider l'interprétation du mouvement brownien proposée par Albert Einstein en 1905 et déterminer le nombre d'Avogadro. Dans un livre intitulé Les Atomes, paru en 1913, Jean Perrin a dressé un état des connaissances en sciences physiques, incluant ses propres découvertes. Cet ouvrage de synthèse lui assura une renommée internationale. Il reçut le prix Nobel de physique de 1926 pour avoir validé scientifiquement l'hypothèse atomiste, mettant un terme définitif à la longue bataille concernant l’existence réelle des molécules.
Durant la Première Guerre mondiale, Jean Perrin a conçu et mis au point divers appareils stéréo-acoustiques pour localiser les batteries d'artillerie et les sous-marins ennemis. Après la guerre, il a poursuivi son activité pédagogique comme auteur d'ouvrages et d'articles pour les étudiants et le grand public. Parallèlement, il a consacré beaucoup d'énergie au développement, à l'organisation et à la valorisation, aussi bien culturelle qu'industrielle, de la recherche scientifique, d'abord comme conseiller, puis comme membre du gouvernement français. Il a en particulier été un des artisans majeurs de la création de l'Observatoire de Haute-Provence en 1936, du Palais de la découverte en 1937 et du Centre national de la recherche scientifique (CNRS) en 1939.
Jean Perrin était membre de l'Académie des sciences de Paris, de la Royal Society de Londres, de l'Académie royale des sciences, des lettres et des beaux-arts de Belgique et de bien d'autres académies. Il était Grand-officier de la Légion d'Honneur. Jean Perrin est mort en exil volontaire à New York en 1942. Ses cendres, ainsi que celles de son confrère et ami Paul Langevin, ont été transportées au Panthéon en 1948.
Biographie
Enfance et adolescence (1870-1891)
Jean Perrin naît le à Lille[1], alors que son père, le capitaine Jean Baptiste Perrin, blessé à la bataille de Saint-Privat le , est enfermé dans Metz avec l'armée du Rhin, avant d'être fait prisonnier par les Prussiens le [2]. Sa mère, Thérèse Estelle Lasalle, est née de parents épiciers à Boulogne-sur-mer[3]. Le capitaine Jean Baptiste Perrin est né à Saint Dié dans une famille de cultivateurs[4]. Il a été incorporé à 21 ans au 66e régiment de ligne en qualité de soldat et a gravi un à un les échelons hiérarchiques, d'abord sous-officier, puis officier avec le grade de sous-lieutenant en 1854[2]. Il épouse Thérèse Lasalle à Boulogne le [5]. Il est promu lieutenant en 1860, puis capitaine en 1867. Il rentre de captivité en Allemagne en . Il est fait chevalier de la Légion d'honneur par décret du ministre de la Guerre le [2]. Il est admis à la retraite en 1874 et se retire à Lyon où il meurt en 1880 à l'âge de 59 ans. Son fils Jean n'a que 10 ans.
Jean Perrin a deux sœurs aînées : Eugénie, née en 1858, et Marie Rose, née en 1867. Eugénie épousera son cousin germain, François Leprêtre, médecin-major de 1re classe, à Lyon le . Marie Rose, institutrice, épousera Gustave Bernard, instituteur, à Sourdun. À la suite du décès de son mari, elle se remariera, le , avec Pierre Frédéric.
À la mort de son mari, Thérèse Perrin-Lasalle ne dispose que de sa pension de veuve d'officier et des revenus d'un bureau de tabac[6]. Les ressources de la famille sont faibles. Jean est boursier de la IIIe République. Il effectue ses études primaires au petit lycée de Saint-Rambert, devenu le lycée Jean-Perrin en 1949, et ses études secondaires au grand lycée Ampère. Il obtient le baccalauréat en lettres et en sciences, et part à Paris, où il entre en classe de mathématiques supérieures au lycée Janson-de-Sailly pour préparer le concours d'entrée à l'École normale supérieure. Il y est reçu 12e dans la section sciences[6]. Il fait alors son service militaire comme soldat de 2e classe au 36e régiment d'infanterie du au . Il fait par la suite 6 périodes d'exercices militaires au cours desquelles il devient officier de réserve. Il passe dans la réserve territoriale le avec le grade de lieutenant[7].
École normale supérieure et Sorbonne (1891-1914)
Thèse, mariage et premier poste d'enseignement
Jean Perrin entre à l'École normale supérieure à l'automne 1891[8]. Il y étudie de 1891 à 1894, date à laquelle il est reçu au concours d'agrégation de physique. Parallèlement avec ses études à l'ENS, il suit les cours à la Sorbonne où il obtient la licence ès sciences mathématiques et la licence ès sciences physiques. De 1895 à 1898, il occupe les fonctions d'agrégé préparateur[9] tout en préparant une thèse de doctorat au laboratoire de physique de l'école, alors dirigé par Jules Violle. Il soutient sa thèse, intitulée Rayons cathodiques et rayons de Röntgen. Études expérimentales, en [10]. La même année, la Physical Society de Londres lui décerne le prix James Joule pour sa thèse.

Il épouse Henriette Duportal, sœur d'un de ses camarades de Janson-de-Sailly, le . Henriette est bachelière, ce qui est exceptionnel à cette époque. Elle est fille d'Henri Duportal, ingénieur des Ponts et Chaussée, ardent républicain, et petite-fille d'Armand Duportal qui avait été Préfet de Haute-Garonne. Ils ont deux enfants : Aline, née en 1899, et Francis, né en 1901[1]. Aline épousera le peintre Charles Lapicque. Ils auront cinq enfants, dont le poète Georges Lapicque. Elle-même sera illustratrice sous le nom d'Aline Lapicque-Perrin. Francis Perrin sera physicien, spécialiste de la fission nucléaire, et haut-commissaire du Commissariat à l'énergie atomique (CEA) de 1951 à 1970. Il épousera Colette Auger, fille de Victor Auger (professeur de chimie à la faculté des sciences de Paris), avec laquelle il aura trois enfants : Nils, David et Françoise.
En 1898, Jean Perrin postule à la fonction de chargé de cours de chimie-physique de la faculté des sciences de l'université de Paris. Il est en concurrence avec Pierre Curie. Bien que plus jeune que Curie, Perrin obtient le poste à la faveur de son statut de normalien et d'agrégé. Le fait que le rapporteur de sa candidature, Henri Poincaré, soit plus influent que Gabriel Lippmann, rapporteur de Pierre Curie, semble avoir aussi joué un rôle[11]. Il devient aussi professeur à l'École normale supérieure de Sèvres en 1900 et y enseignera jusqu'en 1925.
Affaire Dreyfus
C'est en que le célèbre J'accuse d'Émile Zola, en première page de l'Aurore, déclenche l'Affaire Dreyfus. Lucien Herr, bibliothécaire de l'ENS, lance une pétition en faveur de la révision du procès, pétition qui recueille les signatures des normaliens, des professeurs, des écrivains, des journalistes, des artistes, première manifestation de ceux qu'on nommera « les intellectuels »[12].
C'est dans le cadre de l'École normale supérieure, et dans le contexte de l'affaire Dreyfus, que Jean Perrin s'entoure d'un groupe d'amis indéfectibles, par affinités politiques notamment : ils sont tous socialisants, et farouchement dreyfusards. Il s'agit d'Émile Borel, de Pierre et Marie Curie et de Paul Langevin. Ils militent tous à la Ligue des droits de l'homme dès sa fondation, et participent également aux premières universités populaires. Le clan Borel, Curie, Langevin et Perrin est très soudé. Le couple Borel et le couple Perrin seront d'un grand secours pour Marie Curie lors de la mort tragique de Pierre Curie en 1906 et lors de l'affaire Curie-Langevin en 1911[13].
Au cours de leur longue amitié, ils organiseront des dîners entre intellectuels, auxquels participent Paul Painlevé, Paul Adam, Charles Péguy, Léon Blum, Édouard Herriot, entre autres. En 1906, est créée par Borel et sous l'impulsion de ce groupe La Revue du mois, qui regroupe, dans son comité de rédaction, outre Perrin et Langevin, Aimé Cotton, Jacques Duclaux, Henri Mouton, Robert Lespieau et Louis-Jacques Simon. Blum, Painlevé et Herriot y écrivent également. En 1907, les familles du « clan » décident d'élever conjointement et eux-mêmes leurs enfants en dehors de l'institution scolaire publique[14].

Debout (de g. à dr.) : Robert Goldschmidt, Max Planck, Heinrich Rubens, Arnold Sommerfeld, Frederick Lindemann, Maurice de Broglie, Martin Knudsen, Friedrich Hasenöhrl, Georges Hostelet, Édouard Herzen, James Jeans, Ernest Rutherford, Heike Kamerlingh Onnes, Albert Einstein, et Paul Langevin.
C'est au début du siècle aussi que se forme une communauté de vacances. En été, Jean Perrin fréquente la maison que le physiologiste Louis Lapicque a fait construire à l'Arcouest en 1902, puis celle que l'historien Charles Seignobos, a édifié peu après à proximité. Jean Perrin loue une maison modeste sans confort mais qui permet à sa famille de profiter du site exceptionnel de l'Arcouest et de la communauté des universitaires parisiens qui s'enrichit rapidement de la famille Borel et de la famille Curie[15]. Après la guerre, Jean Perrin fait construire sa propre villa, Ti-Yann, avec l'argent du prix Nobel. Il y reçoit ses amis avec grand plaisir. Marie Curie fait aussi construire sa villa. L'Arcouest devient Sorbonne Plage.
Les Atomes
En 1907-1909, Jean Perrin publie une série d'articles sur le mouvement brownien dont il fait une synthèse sous le titre Mouvement brownien et réalité moléculaire[16] publié dans les Annales de Chimie et de Physique en 1909. Cet article, immédiatement traduit en anglais, contribue à sa notoriété scientifique en France et à l'étranger. En 1910, Jean Perrin est promu professeur de chimie physique à la Sorbonne. En 1911, il est élu membre d'honneur de l'Institut de physique de l'université de Berlin.
Il est aussi convié au premier congrès Solvay de physique qui se tient à Bruxelles. Ernest Solvay organise ainsi le premier congrès scientifique qui rassemble une vingtaine des plus grands physiciens de l'époque. Les congressistes doivent envoyer leur communication en avance pour qu'elles soient distribuées aux participants avant la réunion. La conférence de Jean Perrin, intitulée Les preuves de la réalité moléculaire, est si claire et argumentée que tous les participants sont convaincus de l'existence des atomes, même les plus sceptiques. En particulier, Wilhelm Ostwald qui, comme chimiste, n'a pas participé à la réunion et qui avait été un opposant déterminé à l'atomisme défendu par son collègue Ludwig Boltzmann, s'est déclaré converti à la lecture de la communication de Perrin[17]. Henri Poincaré, jusqu'alors sceptique sur l'existence des atomes, avoue, après avoir entendu l'exposé de Perrin, que « l'atome des chimistes est devenu réalité ».
Jean Perrin veut communiquer sa conception atomique ou moléculaire de la matière à l'ensemble des citoyens éclairés en publiant son livre Les Atomes en 1913, livre aussi traduit en plusieurs langues. Jean Perrin est nommé Chevalier de l'ordre de la Légion d'Honneur le [18].
Première Guerre mondiale
À la déclaration de guerre, Jean Perrin a 43 ans. Il ne semble pas avoir été rappelé dans une unité de l'armée. Au cours de l'été 1914, les physiciens français se mobilisent pour apporter leur concours à la défense nationale. Jean Perrin, Paul Langevin, Ernest Esclangon, Aimé Cotton orientent les recherches de leurs laboratoires vers la détection du son émis par les batteries d'artillerie et les sous-marins en vue de les localiser et de les neutraliser. Pierre Weiss, qui enseigne à Zurich, rejoint Cotton à l'ENS. Ensemble, ils développent le système Cotton-Weiss[19]. Sur intervention de Painlevé, des essais sont réalisés sur le front et se révèlent satisfaisants. Mais l'Administration de la Guerre se désintéresse de ces dispositifs "expérimentaux" et interdit même aux scientifiques l'accès au front, ce qui scandalise les parlementaires. Après la démission du gouvernement en , Paul Painlevé devient ministre de l'Instruction publique. Il crée la Direction des inventions intéressant la défense nationale. Il nomme Borel et Perrin, respectivement, chef et chef adjoint du Cabinet technique, et Jules-Louis Breton, chef de la Commission des inventions, organisme créé en 1877 mais peu actif jusqu'alors et désormais rattaché à la Direction des inventions. La grande nouveauté de cette Direction est qu'elle dispose d'un budget important. Les chercheurs doivent adresser leurs projets et le Grand Quartier Général doit adresser ses besoins au Comité technique. C'est donc Borel et Perrin qui opèrent un premier tri des offres et des demandes, et les transmettent à la Commission des inventions (Breton) qui procède à la sélection finale à travers 7 jurys d'experts. En , Painlevé quitte le gouvernement. Jules-Louis Breton devient secrétaire d'État aux inventions dans le nouveau ministère de l'artillerie et des munitions, dirigé par Albert Thomas. Jean Perrin quitte ses fonctions politiques. Il reste très marqué par cette expérience sous la tutelle de Painlevé, de sept ans son aîné, dont il admire l'expérience et la vision politique. Il retourne à plein temps au laboratoire.
Pendant ce temps, le système de localisation Cotton-Weiss se révèle moins efficace face aux nouveaux canons allemands. Lorsque les obus sont animés d'une vitesse supérieure à la vitesse du son, il se crée une onde de choc qui a été décrite dès 1886 par le physicien autrichien Ernst Mach. Cette onde de choc, ou onde de Mach, accompagne le projectile le long de sa trajectoire et se superpose à l'onde de bouche, c'est-à-dire à l'onde sonore émise au moment où le projectile quitte le canon. Le mathématicien Ernest Esclangon s'attache à définir les équations de propagation de ces deux ondes sonores pour améliorer la détection de l'onde de bouche, seule informative de la position des batteries.
Langevin, professeur à l'École supérieure de physique et de chimie industrielles de la ville de Paris, s'intéresse à la détection des sous-marins et met au point un système de détection précurseur du sonar. Jean Perrin retrouve l'uniforme en . Il est affecté avec son grade, par décision présidentielle, à la section technique du Génie[7]. Il développe des appareils qu'il nomme géophones et myriaphones. Les géophones sont des détecteurs d'ondes sonores transmises par le sol, qui, correctement positionnés, doivent permettre de déterminer le lieu d'émission. Les myriaphones sont des détecteurs d'ondes sonores dans l'air, composés de 6, 6 x 6 = 36 ou 6 x 7 = 42 cornets hexagonaux assemblés en nid d'abeille. Le montage de ces ensembles par paires horizontales ou verticales permet de déterminer la direction de la source sonore. Ils sont appliqués à la détection des avions à la fin de la guerre. Ces systèmes, conçus pour la réception des bruits, peuvent aussi être utilisés comme haut-parleurs (et appelés familièrement clairons des tranchées) pour transmettre des messages sur la ligne de front[20].
« Cette sorte d'oreille composée, constituée par la mise en parallèle de prises d'écoute identiques, peut fonctionner réversiblement pour l'émission de sons dirigés, comme porte-voix, par exemple. Il suffit, au moyen d'un commutateur acoustique, de substituer au tuyau qui allait à l'oreille un tuyau qui vient de la bouche. J'ai proposé d'appeler myriaphone l'appareil composé qui vient d'être décrit. De tels myriaphones ont été construits et expérimentés par centaines (Jean Perrin, cité dans Charpentier-Morize, 1997[21]). »
Jean Perrin tente d'appliquer le même principe avec des hydrophones pour la détection des sous-marins. C'est d'ailleurs par décret du ministre de la Marine qu'il est promu au grade d'officier de la Légion d'Honneur en 1920 avec la mention suivante
« Savant physicien dont les travaux sont bien connus en France et à l'étranger. A rendu pendant la guerre des services de très grande importance, imaginant et mettant au point plusieurs appareils (géophones, myriaphones, télésitemètres et hydrophones) adoptés et mis en service par la Guerre et la Marine (p. 13)[18]. »
Fin 1915, lorsque le Haut commandement s'avise de l'importance du rôle que jouent les savants dans l'armée allemande, il décide de retirer du front les savants français pour qu'ils contribuent à l'effort de guerre selon leurs compétences. Cependant, à la fin de la guerre, 40 % des anciens étudiants de la Sorbonne et 50 % des anciens de l'ENS sont morts au combat. Il faut donc déployer des efforts importants pour reconstruire la recherche et l'enseignement universitaire français[22].

Années 1920-1939
Prix Nobel
En 1920, Jean Perrin adhère à la Confédération des travailleurs intellectuels, créée par son ami Jean Borel pour voir « l'intelligence […] acheminer le pays tout entier vers une organisation technique et une politique régénérée. »
En 1921, il participe au troisième Congrès Solvay de physique sur le thème Atomes et électrons. A ce premier congrès scientifique de l'après-guerre, les scientifiques allemands sont bannis[23]. Il participe l'année suivante au premier Congrès Solvay de Chimie, où il rencontre, entre autres, Sir William Henry Bragg, Svante Arrhenius et Frederick Soddy. Il participe ensuite aux Congrès Solvay de 1925 et de 1928.
En 1921, au cours d'une cérémonie à l'Opéra en hommage à Marie Curie, Jean Perrin prononce un discours dans lequel il expose pour la première fois ce que devrait être une politique scientifique pour la France. Il estime que le développement de la science est indispensable au progrès humain et économique. Il considère que c'est sa mission d'œuvrer en ce sens. « Il a tout d'un prophète, sa foi dans la science est bel et bien d'origine religieuse. Il n'en disconvenait pas. » (Pascal Ory)[24].

de Jean Perrin (en suédois).
Jean Perrin, candidat à l'Académie des sciences[25], est élu le dans la section de Physique générale, avec une voix de plus que son concurrent, Charles Fabry[26].
Il reçoit le prix Nobel de physique de 1926 « pour ses travaux sur la discontinuité de la matière, et particulièrement pour sa découverte de l'équilibre de sédimentation[27]. » Plus explicitement, le jour de la remise du prix, Carl Benediks, membre du comité Nobel qui avait défendu sa candidature, précisa que « l’objet des recherches du professeur Jean Perrin (…) était de mettre un terme définitif à la longue bataille concernant l’existence réelle des molécules »[28].
Création de deux instituts de recherche
Jean Perrin obtient de l'université de Paris la création d'un Institut de chimie physique avec l'appui du député Léon Blum. L'Institut est construit entre 1922 et 1926 à proximité de l'Institut du radium créé pour Marie Curie en 1909, sur un terrain que l'université avait acquis en 1906 grâce à un don du Prince de Monaco. Jean Perrin s'implique personnellement dans les plans, la construction et la décoration. À partir de 1926, Perrin donne ses cours de chimie physique dans le bel amphithéâtre de l'Institut, décoré d'une fresque de Louis Ménard[29]. À peine le chantier de l'Institut de chimie physique terminé, Jean Perrin lance la construction de l'Institut de biologie physico-chimique avec le financement de la Fondation Rothschild.
Le baron Edmond de Rothschild « était profondément convaincu que la science est l'essentiel instrument du Progrès ». Il comprit, après la guerre, qu'il était nécessaire à la France de joindre la Science à l'Industrie, comme l'avaient fait les Allemands. « Son idée première était de créer et d'entretenir des centres de recherche scientifique où l'industrie pourrait puiser des moyens d'action et de développement. » En 1921, il expose ses projets à Paul Appell, Pierre Weil et André Job. Mais ces universitaires, constatant l'état de pénurie des laboratoires et l'absence de soutien aux jeunes chercheurs, persuadent Edmond de Rothschild de subventionner des chercheurs et les laboratoires existants plutôt que de créer de nouveaux laboratoires. La Fondation Rothschild est donc créée. Dans le comité d'administration siègent des représentants de la science appliquée tel Henry Le Chatelier, et des représentants de la science « pure » comme Jean Perrin[30]. La fondation participe au mécénat qui se substitue à l’État pour financer la recherche publique. En 1925, le mécénat privé distribue 1 700 000 francs en complément du million de francs accordé par l’État aux laboratoires universitaires.
Le , Paul Appel, président de la Fondation Rothschild, Charles Moureu et Jean Perrin présentent, dans une note à l'Académie des sciences, la création d'une seconde Fondation Rothschild destinée à l'établissement d'un Institut de biologie physico-chimique. Les plans de cet Institut sont établis par Jean Perrin (physique), André Mayer (biologie), André Job (chimie) auxquels se joindra Pierre Girard, en collaboration étroite avec les architectes. Malheureusement, André Job meurt le . Pierre Girard fait part de sa surprise et de son admiration pour Jean Perrin : « Jusqu'ici je n'avais connu de Jean Perrin que l'homme de science. C'est l'organisateur, le bâtisseur, qui allait m'étonner. En fait, les qualités qu'il déploya dans ce rôle nouveau restaient les mêmes: même réalisme profond à quoi ne peuvent atteindre que ceux qui sont doués à un degré exceptionnel d'invention et d'imagination. Quant à son goût de l'universel, il se muait ici en un sens inné de la grandeur »[31]. Le bâtiment est terminé fin 1928. Il est alors équipé et les chercheurs sont recrutés. L'Institut est inauguré une première fois en pour les chercheurs, une seconde fois en janvier pour le conseil d'administration et une troisième fois pour les journalistes, en .
En 1932, la deuxième fondation Rothschild absorbe la première. Les nouveaux statuts de la Fondation stipulent que « L'Institut de biologie physico-chimique n'est pas destiné à recevoir des chercheurs temporaires et on n'y admettra que des collaborateurs dont le séjour sera prévu pour une durée de plusieurs années. » Le métier de chercheur à plein temps est créé. La Fondation consacre tous ses moyens au financement de l'Institut. Elle ne soutient plus la recherche extérieure, notamment la recherche appliquée. L'organisation et les principes de fonctionnement de l'Institut préfigurent ceux qui régiront le CNRS[32].
L'Institut de biologie physico-chimique a des moyens financiers très importants. « L'Institut abritait des biologistes, des biochimistes, des chimistes, des physiologistes et des physiciens pour qu'en travaillant les uns près des autres, leur collaboration puisse être journalière. Ainsi l'avait voulu le fondateur. » En pratique, il y a eu très peu de collaborations et les chercheurs travaillaient chacun dans son coin. Le seul moment d'échange était le séminaire hebdomadaire pendant lequel certains chercheurs présentaient leur travail devant les Tétrarques, c'est-à-dire Jean Perrin, Georges Urbain (chimiste, qui avait remplacé André Job), André Mayer et Pierre Girard qui formaient le conseil de direction[33].
Sous-secrétaire d'État à la recherche
Jean Perrin adhère à l'Union rationaliste dès sa création en 1930 et est membre du conseil de direction. Cette organisation se fixe pour programme de « Défendre et répandre dans le grand public l'esprit et les méthodes de la Science pour lutter contre irrationalisme, et plus encore, l'ignorance, en groupant nombre de savants disposés à dérober quelques heures à leurs recherches personnelles pour se consacrer à cette œuvre d'éducation[34]. »
Jean Perrin et ses amis réussissent à faire voter par la Chambre des députés la loi le , par laquelle sont créées la Caisse nationale des lettres et la Caisse nationale des sciences. Il persuade Édouard Herriot de se faire l'avocat d'un financement important de la Caisse nationale des sciences. Ce qu'il obtient en juin avec le vote d'un budget de 5 millions de francs. En 1933, il fédère ses collègues de toutes les disciplines scientifiques pour réclamer la création du Conseil Supérieur de la Recherche Scientifique, et obtenir une augmentation de l'enveloppe des crédits pour la recherche.
En 1933, Hitler prend le pouvoir en Allemagne et Staline promeut l'image de l'URSS, patrie du communisme, tout en procédant à des purges de grande envergure loin des yeux de l'Occident. Pour la gauche française, le climat est donc à la peur du fascisme et à la séduction du communisme. Victor Basch rameute les intellectuels dreyfusards et crée en le Comité de vigilance des intellectuels anti-fascistes. Jean Perrin adhère immédiatement au mouvement tout comme son ami Paul Langevin. Cependant, à la différence de celui-ci, il garde ses distances avec le communisme[35].
En 1936, dans le gouvernement Léon Blum, un sous-secrétariat d'État à la recherche scientifique est créé auprès du ministre de l'Éducation nationale, Jean Zay. Le sous-secrétariat est attribué à Irène Joliot-Curie. Lorsque celle-ci démissionne en août, Jean Perrin est nommé à sa place. Il organise alors le Service central de la recherche scientifique. Il en confie la direction à Henri Laugier et prend lui-même la présidence du conseil d'administration. Le nouveau service a la faculté de recruter des chercheurs et des techniciens. Il est doté d'un budget important qui lui permet de financer des grands projets. Sa fusion avec le Centre national de la recherche scientifique appliquée en 1939 conduit à la création de CNRS.
Il s'oppose aux accords de Munich signés par le gouvernement français avec le régime hitlérien[36].
Dans les années 1930, Henriette Perrin-Duportal publie chez Nathan, sous son nom de jeune fille, une série de livres pour enfants autour du personnage de Georgie, qui est un avatar de son petit-fils Georges Lapicque[37]. Elle meurt le .
Seconde Guerre mondiale
Le CNRS est créé par décret le , un mois après la déclaration de guerre. Le nouvel organisme est constitué de la fusion de trois institutions : la Caisse nationale, le Service central et le Haut Conseil pour la recherche scientifique appliquée[38].
Le , Jean Perrin, accompagné de sa collègue Nine Choucroun, quitte Paris avec le gouvernement, qui se réfugie à Bordeaux devant l'avancée allemande. Le , il embarque à bord du paquebot Massilia, à destination de Casablanca. Le navire est en rade et l'embarquement se fait en chaloupe. Marcelle Huisman, citée par Micheline Charpentier-Morize[39], témoigne : « Quelle ne fut pas ma surprise, en descendant dans la chaloupe, d'y retrouver Jean Perrin. Dès qu'il nous vit, il s'exclama avec force : « Pétain est un traître à la Patrie ! C'est un nouveau Bazaine ! ». Ces propos que l'on avait pas l'habitude d'entendre dans Bordeaux dominé par la peur, m'allèrent droit au cœur ». Jean Perrin revit donc explicitement l'humiliation de son père, fait prisonnier à Metz, au moment de sa naissance.
Casablanca, Alger
Le but de Jean Perrin, comme celui des ministres, députés et hauts fonctionnaires qui se rendaient au Maroc, était de constituer un gouvernement et une administration française non vichyste en dehors de la métropole. Arrivés à Casablanca, ils déchantent car l'administration locale, acquise au maréchal Pétain, isole immédiatement les politiques et les renvoie en France. Jean Perrin reste libre de ses mouvements mais il constate qu'aucune organisation libre ou résistante ne peut prendre corps au Maroc. Commence alors une errance dans l'incertitude qui dure 18 mois. Il quitte Casablanca et gagne Alger où il s'embarque pour Marseille avec les Huisman[40]. Il se réfugie à Lyon, probablement dès . Il est admis à la retraite le . Francis Perrin, son fils, se porte candidat à la chaire de chimie-physique de la Sorbonne. Le conseil de la faculté des sciences de Paris choisit Jean Thibaud pour le remplacer (par 18 voix contre 13)[41]. Francis Perrin informe son père de ces événements. Comme la direction du laboratoire est aussi remise à Thibaud, Francis récupère les affaires personnelles que son père avait laissées dans son bureau (lettre de Francis à Jean Perrin du ). Francis félicite son père d'avoir rédigé plusieurs fascicules. Il s'agit probablement des chapitres de son traité de Physique générale, intitulé À la surface des choses, qui paraîtront chez Hermann en 1941. En , Francis informe son père qu'il attend son visa pour les États-Unis. Il semble que Jean Perrin mûrit à ce moment le dessein d'émigrer lui aussi aux États-Unis.
Retour à Lyon
À la fin , Émile Borel et son épouse viennent passer trois jours à Lyon en compagnie de Jean Perrin qui les quitte à la gare de Perrache comme s'il s'en allait définitivement vers le Sud-Ouest[42]. Mais il est revenu car Jean Cabannes rapporte avoir été témoin d'un entretien émouvant entre Charles Fabry et Jean Perrin, près de Toulon, à la fin de l'automne, la veille du départ de ce dernier[43]. « Marcelle Huisman raconte que, fin 1941, elle et son mari, ont accompagné Jean Perrin à la gare de Marseille, d'où il prit le train pour Madrid, première étape vers les États-Unis. Elle rapporte que, jamais, elle n'avait vu Perrin aussi tendu et aussi triste : peut-être avait-il le pressentiment qu'il ne reverrait jamais plus son pays »[40]. Jean Perrin et Nine Choucroun embarquent, probablement à Lisbonne, sur le SS Excambion et débarquent à New York le [44]. Georges Huisman, haut fonctionnaire, et son épouse ont décidé de rester en France pour combattre l'ennemi de l'intérieur. Jean Perrin a décidé de combattre de l'extérieur : « En ce qui me concerne, écrit-il, j'ai toujours été de ceux qui savaient pouvoir rendre plus de services hors de France que sous l'emprise allemande »[40].
Mort à New York
À New York, Jean Perrin est accueilli par Louis Rapkine, qui était chercheur à l'Institut de biologie physico-chimique depuis 1931 et qui a organisé l'exode des scientifiques allemands vers la France, puis des Français vers les États-Unis. Avec Rapkine, il fonde l'École libre des hautes études de New York dont il devient président. Lors de l'inauguration, le , il déclare : « Je suis venu vous rejoindre, presque le dernier, vous qui avez su créer ici ce nouveau foyer libre de culture française qu'est notre École des Hautes Etudes qui vient prolonger en Amérique notre Sorbonne et notre Collège de France[45]. »
Jean Perrin meurt trois semaines plus tard. Par une petite annonce parue dans le JAMA[46], on apprend que Jean Perrin vivait chez son fils, Francis Perrin, visiting professor de physique et de mathématiques à l'Université Columbia, et qu'il est mort le au Mount Sinai Hospital. Henri Focillon, qui enseigne à Yale à New Haven mais ne peut pas se déplacer, rédige le discours qui est lu aux funérailles de Jean Perrin à New York. Un hommage lui est rendu par Ernest Esclangon à l'Académie des sciences, le [47], ainsi que par J. S. Townsend à la Royal Society, le [48]. Louis de Broglie lui consacre un éloge plus développé devant l'Académie des sciences le [49].
Au Panthéon

En 1948, le cercueil de Jean Perrin est transféré de New York à Montréal où le croiseur Jeanne d'Arc le prend en charge pour le rapatrier. Le , il est accueilli à Brest par sa famille, quelques amis et Jean Cabannes, représentant l'Académie des Sciences[43]. Le lendemain, le cercueil est reçu solennellement dans la cour d'honneur de la Sorbonne[42]. Le [50], ses cendres, ainsi que celles de son confrère et ami Paul Langevin, sont transportées au Panthéon de Paris[51] à l'issue de funérailles nationales[52].
Colloques tenus en mémoire de Jean Perrin
Un hommage national a été rendu à Jean Perrin le , à l'occasion du 20e anniversaire de sa mort. Louis de Broglie a fait un discours au Panthéon. Francis Perrin a retracé les grandes lignes de l'œuvre scientifique de son père par une conférence dans le grand amphithéâtre de la Sorbonne. Enfin, Jean Coulomb a rappelé le rôle de Jean Perrin dans la fondation du CNRS[53].
Le centenaire de la naissance de Jean Perrin a été célébré par un colloque à l'Académie des sciences, le , au cours duquel trois orateurs ont exposé différents aspects de son œuvre scientifique :
Chronologie
- 1891 : il entre à l'École normale supérieure de Paris
- 1894 : il est reçu au concours d'agrégation de physique
- 1895 : agrégé préparateur au Laboratoire de physique de l'École normale supérieure, il démontre que les rayons cathodiques sont constitués de corpuscules de charge négative
- 1897 : docteur ès sciences physiques
- 1898 : chargé de cours de chimie-physique à la Sorbonne
- 1900 : professeur à l'École normale supérieure de Sèvres
- 1908 : il détermine de manière précise le nombre d'Avogadro
- 1910 : titulaire de la chaire de chimie-physique à la Faculté des sciences de Paris
- 1911 : membre du conseil Solvay de physique (Bruxelles), y présente Les Preuves de la Réalité Moléculaire.
- 1913 : il publie Les Atomes
- 1913 : Professeur en échange à l'université Columbia (New York)
- 1914-1918 : il est officier du Génie dans l'armée française
- : il est élu membre de l'Académie des sciences (section de Physique générale)
- 1926 : il reçoit le prix Nobel de physique. Création de l'Institut de Chimie physique.
- 1930 : création de l'Institut de biologie physico-chimique
- 1936 : en octobre il est nommé sous-secrétaire d'État à la Recherche dans le premier gouvernement Léon Blum[57]
- 1937 : il crée le Palais de la découverte à l'occasion de l'Exposition universelle
- 1938 : il est nommé sous-secrétaire d'État à la recherche scientifique dans le deuxième gouvernement de Léon Blum
- 1938 : il décide la fusion de la Caisse nationale de la recherche scientifique avec l'Office national des recherches scientifiques et industrielles et des inventions, ce qui conduira à la fondation le du Centre national de la recherche scientifique (CNRS)
- 1940 : il quitte sa chaire de la Sorbonne quand Paris est envahi par les Allemands et s'enfuit à Bordeaux où il embarque à bord du Massilia ; Jean Thibeau puis Louis Dunoyer lui succèdent pendant la guerre. En 1945, la chaire de chimie physique est attribuée à Edmond Bauer puis, en 1953, Yvette Cauchois
- 1942 : il est nommé directeur de l'université française de New York.
Jean Perrin professeur
« Jean Perrin avait un beau visage de Christ, auréolé de cheveux blonds et frisés auxquels, comme dans la figure sacrée, répondait une barbe blonde et frisée. Sous ses cheveux, dont le désordre augmentait la masse, sans en diminuer la grâce, bombait un grand front de poète et de rêveur. Les yeux avaient une immense gravité lorsque la conversation était sérieuse; mais elle […] se détendait bientôt pour une réflexion, une comparaison, une image plaisante, et alors ces yeux s'égayaient d'un immédiat et vif éclat auquel s'ajoutait celui d'un rire explosif. Perrin s'amusait de tout. Il aimait la fantaisie, la blague, la farce, le mystification. Un enfant terrible habitait le savant (Hubert Bourgin, cité dans Charpentier-Morize, 1997[9]) »
Le , lors des funérailles nationales, deux de ses anciens élèves témoignent. D'abord, Edmond Bauer (cité dans Charpentier-Morize, 1997[58]) :
« Reportons-nous à la fin du siècle dernier, plus précisément au mois de novembre 1898 […] Dans ce qu'on appelait le Petit Amphithéâtre, […] un jeune maître inaugurait cette année-là l'enseignement d'une science toute jeune, elle aussi, la chimie physique […] Ce jeune maître était Jean Perrin, qui venait d'être chargé de cours à l'âge de 27 ans […] Sa parole était ardente, parfois un peu hésitante et mystérieuse, puis, brusquement, des éclairs soudains illuminaient des perspectives infinies. Nous trouvions en lui toute la poésie, toute la force entraînante, toute la philosophie de la Science que nous avions vainement cherché ailleurs. Nous comprenions les mots d'atomes et de molécules et pourquoi la chimie ne pouvait s'en passer. […] Perrin agissait sur ses auditeurs par suggestion, par illumination soudaine. »
Un autre de ses anciens élèves, Pierre Girard (cité dans Charpentier-Morize[6]), se souvient :
« Je suis entré au laboratoire de Jean Perrin à la Sorbonne en 1909. C'est son enseignement à la Faculté qui m'en a donné le désir. Malgré qu'une voix assez étouffée et un débit trop précipité rendît difficile d'y prendre des notes, je fus tout de suite conquis par la puissante personnalité qui éclatait, si je puis dire, au cours de ses leçons. Non pas que Jean Perrin ait été un grand professeur au sens scolastique du mot. Il était même assez dépourvu des qualités qu'on attribue généralement aux maîtres de l'enseignement. […] C'est beaucoup moins à des candidats à la licence ou à l’agrégation que convenaient ses leçons qu'à des chercheurs qui avaient déjà franchi les successifs tourniquets des examens et des concours. […] Ce qui m'a toujours séduit chez Jean Perrin Professeur, c'est, j'allais dire, son originalité (mais le mot est loin d'être assez fort), c'est son besoin de repenser les questions par lui-même, de les découvrir en quelque sorte, de les faire siennes, de se les incorporer et de les formuler à sa façon. […] Je ne dis pas que, dans son enseignement, toutes les questions qu'il abordait portaient le sceau de son esprit, le sceau du grand artiste, du grand créateur qu'il était. Mais ces questions-là, on les reconnaissait d'emblée. Elles s'annonçaient, si je puis dire, par la soudaine volubilité de son débit, et, dans son désir d'expliciter sa pensée, de la communiquer à l'auditeur, il s'aidait alors de gestes de la main. »
Dans son hommage devant la Royal Society, le , J. S. Towsend témoigne[48] :
« Il persuada le gouvernement de former un département dont la mission était de conforter les étudiants avancés qui étaient qualifiés pour faire de la recherche, et d'établir pour eux des laboratoires en province. Il était enthousiaste pour ce travail comme il l'avait été pour ses recherches sur les rayons cathodiques et le mouvement brownien quand il était jeune homme. Comme il le disait lui-même: Je veux que l'Etat puisse susciter dans la classe ouvrière des Ampère, des Faraday et des Pasteur. Il fut un professeur inspirant et un très agréable collègue. Il serait impossible de donner une meilleure description de sa personnalité joyeuse et brillante que celle que contient son épitaphe écrite par un de ses amis qui a collaboré avec lui en France et qui est maintenant en Angleterre avec les Français Combattants: »
- « Passant, laisse ton pas s'alanguir, le soleil / Là-bas achève de descendre. / Viens rêver un instant, sans funèbre appareil. / D'un grand humain voici la cendre. / Il n'avait d'autre foi que sa ferme raison / Et ne haïssait que la haine. / Son génie était vaste, aventureux, divers. / Pas d'audace qu'il n'ait osée. / Il comptait des milliards de milliards d'univers / Dans une goutte de rosée. / Il croyait à la Vie, au Progrès, au Bonheur / Et donnait avec allégresse / A tous, autour de lui, les fruits de son labeur / Et le trésor de sa tendresse. / Il aimait son pays, mais quand la liberté / Y fut dans la honte égorgée, / Il préféra l'exil où dans l'adversité / Son âme restait inchangée. / Il est mort dans la lutte en nous criant Espoir! / La France renaîtra plus belle / Dans un monde plus juste, après le gouffre noir, / Car la lumière est éternelle. »
Œuvre scientifique
Thèse: Rayons cathodiques et Rayons de Röntgen
En , Jean Perrin obtient le doctorat ès sciences physiques en soutenant, devant la faculté des sciences de l'université de Paris, une thèse intitulée Rayons cathodiques et rayons de Röntgen. Étude expérimentale.
Nature corpusculaire des rayons cathodiques

Un tube de Crookes est un tube à décharge, c'est-à-dire une ampoule en verre munie de deux électrodes, une anode et une cathode, dans laquelle est établi un vide partiel (10−1 à 5 × 10−3 Pa). Lorsqu'un fort champ électrique (10 à 100 kV m−1) est appliqué entre les électrodes, des rayons cathodiques sont émis en ligne droite par la cathode. Quand ces rayons (invisibles) frappent le verre de l'ampoule, ils provoquent une lumière fluorescente jaune-verte. Lorsqu'on interpose un objet opaque entre la cathode et le verre, on observe l'ombre portée de l'objet sur le verre. Depuis les expériences de Crookes en 1875, les physiciens ont tenté de déterminer la nature des rayons cathodiques sans vraiment y parvenir. Les Anglais (et William Crookes lui-même) penchaient pour un flux de particules chargées négativement, sans pouvoir en faire la démonstration irréfutable. Les allemands, Heinrich Hertz et son élève Philipp Lenard, ont envisagé cette hypothèse et ont tenté de dévier les rayons avec un champ électrique perpendiculaire à leur trajet. Mais l'expérience n'a pas été concluante (sans doute le vide de leur tube était-il insuffisant). Ils en ont déduit que les rayons étaient de nature ondulatoire comme les ondes électromagnétiques. Cependant, en 1895, au moment où Jean Perrin commence ses expériences, le physicien néerlandais Hendrik Lorentz maintient l'hypothèse corpusculaire sans en apporter la preuve. Jean Perrin part de l'hypothèse que les rayons cathodiques sont constitués de corpuscules chargés négativement et s'attache à en fournir la démonstration à l'aide de deux dispositifs expérimentaux qu'il construit méticuleusement.

Dans le premier (Figure 2, ci-contre), les rayons issus de la cathode, à droite, sont reçus dans un cylindre creux ABCD, lui-même à l'intérieur d'un cylindre plus grand EFGH, relié à la terre, qui forme écran aux charges extérieures (cage de Faraday). La plaque frontale FG du grand cylindre, qui sert d'anode, est percée d'un petit trou pour laisser passer les rayons. Le petit cylindre intérieur (récepteur de Faraday) est relié à un électromètre à feuilles d'or. Après décharge, l'électromètre indique que des charges électriques ont été véhiculées par les rayons. Ces charges s'étant déplacées de la cathode vers l'anode sont de signe négatif. Lorsqu'un champ magnétique est appliqué perpendiculairement au trajet des rayons, l'électromètre ne reçoit plus de charge et la face FG du cylindre, qui a été préalablement recouverte de poudre fluorescente, brille fortement.
Dans la deuxième expérience, Jean Perrin utilise le dispositif décrit à la figure 3, ci-contre. Les rayons cathodiques, c'est-à-dire les corpuscules électrisés négativement, accélérés par la différence de potentiel entre la cathode N et l'anode P, traversent l'anode P constituée d'une grille métallique et poursuivent leur trajectoire jusqu'à la paroi de l'ampoule qui s'illumine. Lorsque le fil A, placé transversalement au flux de particules, est porté à un potentiel négatif par rapport à l'anode, le flux se sépare en deux courants qui divergent. Lorsque le fil A est porté à un potentiel positif par rapport à l'anode, les deux composantes du flux convergent.
Ces expériences ont montré de façon convaincante que les rayons cathodiques sont constitués d'un flux de particules chargées négativement qui sont libérées de la cathode au moment de la décharge. Malheureusement, ces observations sont restées qualitatives. Jean Perrin avoue lui-même qu'il a eu des difficultés à maîtriser le vide dans ses tubes et le potentiel électrique appliqué aux électrodes. C'est grâce à la maîtrise de ces paramètres que Joseph John Thomson pourra établir, en 1897, le rapport masse/charge de l'électron et découvrir qu'il s'agit d'une nouvelle particule de masse plus de 1000 fois plus petite que celle de l'atome d'Hydrogène.
Nature ionisante des rayons de Röntgen
Alors que Jean Perrin travaille sur les rayons cathodiques, la nouvelle de la découverte des rayons X par Wilhelm Röntgen fait la une des journaux d'Europe. Le , l'"Opinion" (Bruxelles) écrit: « Le Professeur Röntgen aurait fait une découverte réellement merveilleuse. » Le , le Petit Parisien s'enthousiasme pour les photographies du savant physicien qui circulent à Vienne depuis quelques jours: « La photographie de la main [de Bertha Röntgen] n'est pas moins saisissante: on compterait tous les os, phalanges, articulations. Impossible de deviner même le contour des doigts […] Est-il besoin d'insister sur l'importance d'une telle découverte »[59].

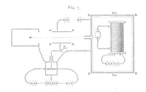
Jean Perrin réoriente aussitôt sa recherche vers l'exploration des propriétés de ces nouveaux rayons, sans même publier l'intégralité des résultats obtenus sur les rayons cathodiques. Il dispose des appareils nécessaires à cette recherche puisque les rayons X sont produits par les tubes de Crookes. Il confirme que « aux points où une matière quelconque arrête les rayons cathodiques, il se forme des rayons de Röntgen ». Il teste le degré d'opacité de différents matériaux. Les métaux lourds (Au, Pb, Hg) sont très opaques, les métaux usuels (Cu, Fe, Zn) le sont moins. L'aluminium et le verre encore moins. Les os sont peu opaques, mais plus opaques que la chair, le bois ou la paraffine. Plusieurs physiciens, dont Ernest Rutherford, avaient constaté que les rayons X provoquent la décharge des corps électriquement chargés, alors qu'ils ne sont pas eux-mêmes chargés et sans qu'ils touchent les objets chargés, une action à distance semblait-il. Jean Perrin fait plusieurs expériences et donne une explication de ce mystère qu'il appelle l'"Effet gaz". Dans le dispositif de la figure 7, il enferme la bobine de Ruhmkorff et le tube à rayons X dans une enceinte totalement blindée. Avant d'activer la décharge de rayons X, il charge les plaques AA et A'A' d'un condensateur en fermant l'interrupteur P, puis l'ouvre: les plaques sont chargées, l'une de charges positives, l'autre de charges négatives. Il fait alors passer le faisceau de rayons X entre les deux plaques. Il constate à l'aide d'un électromètre que les plaques se déchargent.

Il fait une seconde expérience. Un disque est découpé dans la plaque inférieure AA du condensateur et maintenu en place sans contact avec le reste de la plaque AA. Il fait passer un faisceau de rayons X transversalement au plan de la figure aux endroits notés , ou . Lorsque le faisceau passe en ou en , la plaque se décharge. Lorsque le faisceau passe en , la plaque garde sa charge. Il y a donc un effet fortement local. L'air situé dans les lignes de champ électrique entre les deux plaques se comporte comme un conducteur quand il est traversé par les rayons X. L'air contigu à la région traversée par les rayons reste isolant, à condition que l'air soit stable, sans courant d'air. Jean Perrin interprète ainsi ses expériences : « En tous les points d'un gaz où passent des rayons de Röntgen, il se forme des quantités égales d'électricité positive et négative, ou on dira, d'une manière abrégée, que ces rayons ionisent les gaz. S'il existe un champ électrique, les charges positives ainsi créées se meuvent dans le sens du champ et les charges négatives en sens inverse." Les plaques AA et A'A' se déchargent lorsque les charges les atteignent. "L'action sur les corps électrisés se présente ainsi, non comme une propriété proprement dite des rayons de Röntgen, mais comme une conséquence nécessaire de l'altération que ces rayons font subir aux gaz qu'ils traversent" (p. 37)[10]. » Comme ni l'existence de l'électron, ni la structure de l'atome n'étaient connu, Jean Perrin précise en note que « le mot d'ionisation n'implique aucune hypothèse moléculaire et doit évoquer seulement l'idée d'une séparation d'électricités contraires, liées à la nature de la matière. » Il publie ce travail en 1896[60].
Jean Perrin analyse ensuite ce qui se passe quand les rayons X frappent directement une surface métallique. Il constate une ionisation superficielle du métal qu'il nomme Effet métal[61]. Il conclut : « Au point où nous sommes alors arrivés, les rayons de Röntgen se présentent donc comme ayant pour caractères: de se propager très rigoureusement en ligne droite, affaiblis, mais jamais déviés par les obstacles; d'exciter des fluorescences; et d'ioniser les gaz, cette ionisation devenant plus énergique au contact du métal. Cette dernière propriété, sans rapprocher directement les rayons de Röntgen de la lumière ultra-violette, augmente pourtant les raisons qu'on avait pour y voir des vibrations de nature électrique (p. 59) »[10].
Existence des atomes
Modèle planétaire
L'existence des atomes ne fait pas de doute pour Jean Perrin. En 1901, il est le premier à esquisser un modèle atomique qui sera repris par Ernest Rutherford en 1911 puis par Niels Bohr en 1913. Dans la Revue scientifique, revue aussi appelée Revue rose et destinée au public cultivé, il expose diverses expériences en faveur de l'existence des atomes, notamment ses expériences et celles de Joseph John Thomson sur les rayons cathodiques d'où il résulte que « la masse d'un projectile cathodique, masse que nous appellerons désormais CORPUSCULE [que nous appelons aujourd'hui électron], est seulement la millième partie d'un atome d'hydrogène. Nous avons donc réalisé la division de l'atome en parties plus petites et même beaucoup plus petites. Tel est le résultat capital dû à J.J. Thomson »
Jean Perrin fait ensuite le rapprochement entre les électrons (corpuscules ou projectiles cathodiques) et les ions (positifs ou négatifs) qui sont séparés dans l'électrolyse des solutions salines. Ces ions sont des atomes dont la masse est associée à des charges électriques positives qui sont incomplètement équilibrées par des corpuscules négatifs.
« Mais ce qui est essentiel de remarquer, c'est que les corpuscules négatifs paraissent toujours identiques entre eux, quelle que soit la nature chimique de l'atome dont on les détache. Par exemple, un corpuscule provenant d'un atome d'aluminium est identique au corpuscule provenant d'un atome de fer […] Pour la première fois nous entrevoyons un moyen de pénétrer dans la constitution intime d'un atome. On fera, par exemple, l'hypothèse suivante: chaque atome serait constitué, d'une part, par une ou plusieurs masses chargées d'électricité positive, une sorte de soleil positif dont la charge serait très supérieure à celle d'un corpuscule, et, d'autre part, une multitude de corpuscules, sorte de petites planètes négatives, l'ensemble de ces masses gravitant sous l'action de forces électriques, et la charge totale équivalant exactement à la charge positive totale, en sorte que l'atome soit électriquement neutre. »
Il fait ensuite une allusion aux différents niveaux d'énergie nécessaires pour détacher un corpuscule de son atome et il suggère que ces niveaux d'énergie pourraient être en relation avec la longueur d'onde des raies d'émission.
« L'atome apparaît ainsi comme un tout gigantesque dont la mécanique intérieure aurait pour base les lois fondamentales des actions électriques. Les durées de gravitation des différentes masses intérieures à l'atome correspondraient peut-être aux différentes longueurs d'onde des lumières que manifestent les raies du spectre d'émission […] Nous pouvons enfin concevoir que, pour les masses qui forment l'atome, il y ait plusieurs configurations stables possibles, plusieurs régimes permanents de gravitation possibles. A ces différents régimes correspondraient les différents types chimiques possibles pour un même atome (azote trivalent et pentavalent, fer des sels ferreux et fer des sels ferriques)[62]. »
Jean Perrin a donc formulé ce qui est universellement appelé le modèle de Rutherford, dix ans avant Rutherford. L'hypothèse de Jean Perrin était fondée sur une synthèse hardie des expériences sur les rayons cathodiques et les expériences sur l'électrophorèse. Rutherford a été amené à concevoir le modèle planétaire pour rendre compte de ses expériences de bombardement d'une feuille d'or avec des particules alpha. Les dernières considérations de Jean Perrin sont proches des arguments qui feront la force du modèle de Bohr.
Atomisme et anti-atomisme
Au XIXeme siècle, l'identification progressive des éléments et de leurs règles d'assemblage pousse les chimistes à s'affranchir des symboles de l'alchimie et à inventer une nouvelle représentation des molécules et des réactions chimiques. C'est ainsi que John Dalton introduit, à partir de 1807, des symboles pour chaque élément connu et leur associe une masse atomique qui est un multiple de la masse de l'Hydrogène. À partir de 1814, Jöns Jacob Berzelius propose la notation chimique moderne dans laquelle les éléments sont représentés par un symbole (O pour l'Oxygène, Pb, pour le Plomb, Fe pour le Fer, etc.) accompagné d'un nombre indiquant la proportion dans laquelle l'élément est présent dans la molécule (H2O, Fe2O3). Au delà de la différence des symboles, la signification de la représentation de Dalton et celle de Berzélius diffère totalement. Pour Dalton, il s'agit de représenter des atomes dont l'existence ne fait pas de doute. Pour Berzélius, les formules ne sont qu'une commodité à laquelle il ne faut accorder aucune existence réelle. Et pour bien marquer ses conceptions, il choisit comme masse de référence, celle de l'Oxygène, à laquelle il donne la valeur arbitraire de 100. Berzélius reste fidèle à Emmanuel Kant qui distingue les connaissances directement accessibles (les phénomènes), qui relèvent de la science, des connaissances inaccessibles (les noumènes), qui relèvent de l'imagination et doivent demeurer en dehors du champ scientifique[63].

Fig. 115, Allylamine;
Fig. 140, Ethanedinirile (cyanogène);
Fig. 328a, Dioxyde de soufre
August Kekulé, chimiste prussien, le pape de la chimie européenne (il enseigne alors à l'Université de Gand), écrit dans son Traité de chimie organique paru en 1861[64] :
« On doit garder à l'esprit que les formules rationnelles ne sont que des formules et non des formules de constitution… Elles ne décrivent en aucune façon la position des atomes… Cela doit être clairement souligné parce que, assez malheureusement, certains chimistes croient encore que ces formules décrivent les positions atomiques. »
En France, Henri Sainte-Claire Deville déclare en 1865 lors de sa leçon inaugurale à la chaire de chimie de la Sorbonne :
« L'hypothèse des atomes, l'abstraction de l'affinité, des forces de toute sorte que nous faisons présider à toutes les réactions des corps que nous étudions, sont de pures inventions de notre esprit, des noms que nous faisons substance, des mots auxquels nous prêtons réalité […]. Je ne sais pas la définition qu'on peut donner du matérialisme dans la science : mais ce qu'il y a de plus dangereux, c'est de mettre de l'esprit dans la matière : car alors on apporte le mysticisme et la superstition et alors on tombe dans ces étranges théories modernes dont on trouve des expressions dans les caricatures allemandes. »
Sainte-Claire Deville faisait sans doute allusion au livre de Joseph Loschmidt, Etudes chimiques, paru en 1861, dans lequel apparaissait pour la première fois une représentation graphique des atomes et des liaisons interatomiques simples, doubles ou triples. Le malheur est que Sainte-Claire Deville a été professeur de chimie à l'Ecole Normale Supérieure de 1851 à 1881 et qu'un de ses élèves, Désiré Gernez, a été professeur de chimie à l'ENS au temps de Perrin. Malgré ces idées dominantes, Perrin s'est forgé une conception atomique de la matière. Il justifie son approche dans son livre Les Atomes :
« Si nous étudions une machine, nous ne nous bornons pas à raisonner sur les pièces visibles, qui pourtant ont seules pour nous de la réalité tant que nous ne pouvons pas démonter la machine. Certes, nous observons de notre mieux ces pièces visibles, mais nous cherchons aussi à deviner quels engrenages, quels organes cachés expliquent les mouvements apparents. Deviner ainsi l'existence ou les propriétés d'objets qui sont encore au delà de notre connaissance, expliquer du visible compliqué par de l'invisible simple, voilà la forme d'intelligence intuitive à laquelle, grâce à des hommes comme Dalton ou Boltzmann, nous devons l'atomistique, dont ce livre donne un exposé[65]. »
Nombre d'Avogadro
Après qu'Albert Einstein eut publié (1905) son explication théorique du mouvement brownien en fonction du mouvement aléatoire des molécules, Jean Perrin effectua les expériences pour vérifier les prédictions d'Einstein. Il démontre en 1908 un accord complet entre théorie et expérience, ce qui confirme l'existence effective des atomes, proposée un siècle auparavant par John Dalton.
Dans son livre Les Atomes, il détermine par plusieurs méthodes la valeur du nombre d'Avogadro. Il résume ses déterminations par le tableau suivant[66] :
| Domaines | Phénomènes observés | N/1022 |
|---|---|---|
| Viscosité des gaz | Équation de Van der Waals | 62,0 |
| Mouvement brownien | Répartition des grains | 68,3 |
| Déplacements | 68,8 | |
| Rotation | 65,0 | |
| Diffusion | 69,0 | |
| Répartition irrégulière des molécules | Opalescence critique | 75,0 |
| Bleu du ciel | 60,0 (?) | |
| Spectre du corps noir | 64,0 | |
| Charge de sphérules (dans un gaz) | 68,0 | |
| Radioactivité α | Charges projetées | 62,5 |
| Hélium engendré | 64,0 | |
| Radium disparu | 71,0 | |
| Énergie rayonnée | 60,0 |
Il conclut : « On est saisi d'admiration devant le miracle de concordances aussi précises à partir de phénomènes si différents. D'abord qu'on retrouve la même grandeur, pour chacune des méthodes, en variant autant que possible les conditions de son application, puis que les nombres ainsi définis sans ambiguïté par tant de méthodes coïncident, cela donne à la réalité moléculaire une vraisemblance bien voisine de la certitude. »
Fluorescence
La fluorescence d'une molécule peut se définir comme sa capacité à atteindre un état excité en absorbant des photons d'une certaine longueur d'onde et à revenir à l'état de repos en émettant des photons d'une longueur d'onde plus grande que la longueur d'onde d'excitation. Le temps qui s'écoule entre l'absorption et l'émission est extrêmement bref, de l'ordre de quelques nanosecondes. En 1927, Jean Perrin découvre que, dans certaines conditions, une molécule fluorescente peut être excitée par transfert de l'énergie de relaxation d'une autre molécule fluorescente, ce qu'il a appelé « induction moléculaire par résonance »[67] que nous appelons aujourd'hui FRET (Förster resonance energy transfer). Pour que le phénomène se produise il faut deux conditions :
- que le spectre d'émission de la molécule 1 chevauche le spectre d'absorption de la molécule 2 ;
- que la distance entre les deux molécules soit inférieure à 5 nanomètres.
Theodor Förster réétudiera le phénomène en 1946. Il déterminera en particulier que l'efficacité du transfert d'énergie varie comme l'inverse de la distance à la puissance 6.
Ce phénomène est couramment utilisé dans les laboratoires de biologie pour quantifier les radio-isotopes émetteurs béta (H3, C14, P32) dans les détecteurs à scintillation liquide. Les électrons excitent un fluorophore primaire (type PPO ou 2,5-diphényloxasole) qui transmet son énergie à un fluorophore secondaire (type POPOP ou 1,4bis[5-phenyl-2-oxasole]benzène. Ce dernier émet des photons de longueurs d'onde qui peuvent être captés par les photomultiplicateurs et comptés.
Ces recherches de Jean Perrin sur la fluorescence sont complétées par les études théoriques de son fils, Francis Perrin, entre 1926 et 1931 sur la polarisation de la lumière fluorescente[68].
Énergie du Soleil
Pourquoi les étoiles brillent elles? Quelle est l'origine de la lumière et de la chaleur du Soleil? Ces questions aussi vieilles que l'humanité trouve un début de réponse lorsque Giordano Bruno reconnaît que le Soleil est une étoile comme les autres.
« Il est donc d'innombrables soleils et un nombre infini de terres tournant autour de ces soleils, à l'instar des sept « terres » [la Terre, la Lune, les cinq planètes alors connues : Mercure, Vénus, Mars, Jupiter, Saturne] que nous voyons tourner autour du Soleil qui nous est proche. »
— Giordano Bruno, L'Infini, l'Univers et les Mondes, 1584
Ensuite, au XVIIIe siècle, il a été envisagé que le feu des étoiles et du soleil venait de la combustion du charbon et qu'il était alimenté par des pluies de météorites charbonneux. Mais, dans ce modèle, le soleil ne pourrait durer que quelques milliers d'années. Une idée plus élaborée a été proposée par Lord Kelvin et Hermann von Helmholtz. La chaleur serait provoquée par la compression du gaz sous l'action de la gravité. Kelvin a calculé que ce processus permettrait au soleil de briller pendant environ 18 millions d'années. Cette durée potentielle ne cadrait pas avec les connaissances acquises à la fin du XIXe siècle. Les géologues avaient déterminé, par des études sur les taux d'accumulation des sédiments, que la Terre avait plusieurs centaines de millions d'années. Charles Darwin prenait en compte cette ancienneté de la Terre pour expliquer sa théorie de l'évolution. Mais l'autorité de Kelvin et la contestation de la théorie de Darwin faisaient que l'explication de la chaleur solaire par le mécanisme de Kelvin-Helmholtz gardait ses partisans. En 1907, la mise en œuvre de la datation avec l'uranium radioactif a conduit à évaluer l'âge de la Terre, et donc du Soleil, à quelques milliards d'années[69].
En 1919, dans son article intitulé Matière et Lumière, Perrin évoque l'hypothèse que la source d'énergie des étoiles pourrait provenir de fusion nucléaire des atomes d'hydrogène. Il développe cette idée dans un article de 1921[70].
Le neutron n'est pas encore découvert. Pendant toutes les années 1920, les physiciens supposent que le noyau atomique est composé de protons et d'électrons nucléaires.

La masse de 4,3 millions de tonnes de matière qui disparaît par seconde est transformée
en énergie radiative.
Le physicien anglais Francis Aston vient de construire (en 1919) le premier spectromètre de masse moderne avec lequel il a démontré que la masse de l'atome d'hélium était inférieure à la masse de quatre atomes d'hydrogène. En utilisant les données actuelles, la fusion s'accompagne d'une perte de masse de :
Soit un peu moins de 7 millièmes de la masse de 4 atomes d'hydrogène :
Si le Soleil était constitué exclusivement d'hydrogène et si la totalité de sa masse se transformait en hélium, la masse transformée en énergie serait égale à :
D'après l'équivalence masse-énergie d'Einstein, l'énergie libérée serait
Sachant que la puissance radiative du Soleil est égale et qu'une année équivaut à secondes, la durée de vie possible du Soleil serait
Soit 100 milliards d'années ! En fait la totalité de la masse du Soleil n'est pas convertible en hélium. La réaction de fusion n'a des chances de se produire que dans le cœur de l'étoile, là où la température est supérieure à 10 millions de degrés. La durée de vie probable du Soleil est évaluée actuellement à 10 milliards d'années. On sait aussi aujourd'hui que la nucléosynthèse de l'hélium est un processus qui comporte plusieurs étapes intermédiaires (voir Chaîne proton-proton) qui ont été élucidées par Hans Bethe et Carl Friedrich von Weizsäcker en 1938[71].
De plus, l'hypothèse selon laquelle le Soleil est constitué principalement d'hydrogène, ce qui est universellement accepté aujourd'hui, était, en 1920, une hypothèse de physicien peu au courant des conceptions des astrophysiciens. En 1920, et jusqu'en 1930, les astrophysiciens considéraient que le Soleil devait avoir une composition voisine de celle de la Terre. Cette idée était confortée par une interprétation erronée du spectre des raies d'absorption de la lumière solaire dont on déduisait que le Soleil était composé à plus des 2/3 de sa masse par du fer. C'est une réinterprétation des spectres des étoiles par Cecilia Payne, en 1925, qui a conduit à découvrir que le Soleil et les étoiles sont principalement composés d'hydrogène et d'un peu d'hélium[72]. C'est la raison pour laquelle, Arthur Eddington, astronome professionnel, aboutit à une durée de vie du Soleil inférieure à celle de Jean Perrin, tout en faisant les mêmes calculs. Pour lui, l'hydrogène n'est qu'un composant mineur du Soleil. Voici ce qu'écrit Eddington en 1920 :
« Une étoile tire son énergie d'un vaste réservoir d'une manière qui nous est inconnue. Ce réservoir peut difficilement être autre que l'énergie subatomique qui, comme nous le savons, est abondante dans toute matière. Nous rêvons parfois que l'homme puisse un jour apprendre à la libérer et à l'utiliser à son service. Le réservoir est presque inépuisable à condition de pouvoir l'exploiter. Il y en a suffisamment dans le soleil pour maintenir sa production énergétique pendant 15 milliards d'années.
Certaines données physiques acquises au cours de l'année écoulée […] rendent pour moi possible qu'une partie de l'énergie subatomique soit libérée dans les étoiles. Les expériences de F. W. Aston semblent ne laisser aucun doute sur le fait que tous les éléments sont constitués d'atomes d'hydrogène liés ensemble avec des électrons négatifs. Le noyau de l'atome d'hélium, par exemple, se compose de 4 atomes d'hydrogène liés à 2 électrons. Mais Aston a aussi montré de façon convaincante que la masse de l'atome d'hélium est moindre que la somme des masses des 4 atomes d'hydrogène qui le constituent. Et les chimistes sont totalement d'accord avec lui. Il y a une perte de masse dans la synthèse qui s'élève à environ 1 partie pour 120, la masse atomique de l'hydrogène étant 1,008 et celle de l'hélium étant exactement 4 […] La masse ne peut pas être annihilée et la différence ne peut que représenter la quantité d'énergie électrique libérée dans la transmutation. On peut donc immédiatement calculer la quantité d'énergie libérée quand l'hélium est créé à partir de l'hydrogène. Si 5% de la masse d'une étoile sont constitués initialement d'hydrogène, qui sont graduellement combinés pour former des éléments plus complexes, la chaleur libérée sera plus que suffisante pour répondre à notre demande, et on n'a pas besoin d'aller chercher plus loin la source de l'énergie des étoiles[73]. »
Chimie physique
Micheline Charpentier-Morize a consacré un tiers de son ouvrage[74] sur Jean Perrin à exposer combien sa conception de la liaison chimique était erronée et combien son influence politique avait été néfaste pour la recherche française en chimie en général et en chimie physique en particulier.
L'influence de Jean Perrin est paradoxale. Il a été celui qui a définitivement démontré l'existence des atomes et la nature discontinue de la matière. Dans son travail de thèse, il a participé à la découverte de l'électron comme particule matérielle porteuse de la charge électrique négative. Il a été le premier à imaginer l'atome comme une structure planétaire avec un noyau central positif et des satellites formés d'électrons négatifs. Sa nomination à la chaire de Chimie-Physique à la Sorbonne paraissait donc parfaitement logique pour sortir de l'anti-atomisme de Marcellin Berthelot qui prévalait encore parmi les chimistes français. Il était, à priori, le physicien le plus apte à promouvoir le rôle des électrons dans la liaison chimique. Malheureusement, selon le jugement lapidaire de Nguyên Trong Anh, professeur de chimie à l'école polytechnique : « Berthelot a nié la chimie atomique, Perrin la chimie électronique »[75]. Compte tenu de son influence et de son pouvoir, les concepts erronés de Perrin ont eu des conséquences très dommageables pour le développement de la chimie française au XXe siècle.
Atomicité et valence avant Perrin
Parallèlement au débat sur l'existence des atomes, les chimistes se demandent comment rendre compte de la capacité des atomes des différents éléments à se lier avec l'hydrogène. En 1852, le chimiste anglais Edward Frankland introduit le concept d'atomicité. L'atomicité de l'oxygène est 2 (OH2), celle de l'azote est 3 (NH3) et celle du carbone est 4 (CH4). En 1857, Kekulé reconnait que les atomes de carbone sont capables de former une chaîne (CCCC) qu'Archibald Couper propose d'écrire (-C-C-C-C-) en introduisant des traits pour figurer les liaisons. En 1858, Stanislao Cannizzaro précise les concepts d'atome et de molécule, ce qui sera d'une grande utilité par la suite. Pour rendre compte de la capacité des atomes à former des liaisons, Loschmidt remplace le concept d' atomicité par celui de valence qu'il nomme Pollenz et qui ne sera nommé Valenz par Hermann Wichelhaus qu'en 1868. Ce concept lui permet de symboliser pour la première fois les liaisons doubles ou triples avec deux ou trois traits parallèles, comme il est courant de les représenter aujourd'hui[76].
Liaison chimique : des forces complètement inconnues
Dans son livre Les Atomes, Jean Perrin récapitule toutes les découvertes du XIXe siècle et des dix premières années du XXe siècle qui concourent à prouver que la structure de la nature est discontinue: la matière est formée d'atomes, l'électricité est véhiculée par des corpuscules chargés électriquement (électrons et ions) et la lumière est formée de photons. Les atomes de matière eux-mêmes forment les éléments qui peuvent se désintégrer (radioactivité) en formant de nouveaux atomes ainsi que des particules chargées (rayonnement alpha et bêta) et des photons gamma. Alors qu'il a, lui-même, imaginé la structure planétaire de l'atome en 1901, que Rutherford vient de publier (en 1911) un modèle planétaire dans lequel les électrons orbitent autour d'un noyau positif, il ne fait aucune mention de la structure de l'atome dans son livre.
Dans le premier chapitre intitulé La théorie atomique et la chimie de son livre Les Atomes, Perrin énumère les 20 premiers éléments en regard de leur poids atomique et conclut : « Une cause encore inconnue maintient la plupart des différences des poids atomiques au voisinage de valeurs entières. » Il ajoute :
« Une autre régularité bien surprenante, signalée par Mendeleïev, a été mise en évidence dans le tableau précédent où l'on voit se correspondre l'hélium, le néon, et l'argon (de valence nulle), le lithium, le sodium, le potassium (métaux alcalins univalents); le glucinium [le béryllium], le magnésium, le calcium (alcalino-terreux bivalents), et ainsi de suite. On voit par là s'indiquer la loi que je ne peux discuter plus longuement : Au moins de façon approximative, quand on classe les atomes par ordre de masse croissante, on retrouve périodiquement des atomes analogues aux premiers atomes classés[77]. »
Dans le même chapitre, il explique, avec une pédagogie remarquable, ce qu'est la liaison chimique :
« Tout se passe pour nous comme si l'atome d'hydrogène sortait une main, et une seule. Dès que cette main saisit une autre main, la capacité de combinaison de l'atome est épuisée : l'atome d'hydrogène est dit monovalent. Plus généralement, nous admettrons que les atomes d'une molécule sont assemblés par des sortes sortes de crochets ou de mains, chaque liaison unissant deux atomes seulement, sans s'inquiéter absolument des autres atomes présents. Naturellement personne ne pense qu'il y ait réellement sur les atomes de petits crochets ou de petites mains, mais les forces complètement inconnues qui les unissent doivent être équivalentes à de tels liens, que l'on appelle valences pour éviter l'emploi d'expressions anthropomorphiques[78]. »
Au moment où le livre est écrit (1911), la liaison chimique repose donc sur des forces complètement inconnues.
Dans le chapitre intitulé Fluctuations de son livre, Les Atomes, Jean Perrin expose sa conception dynamique de l'équilibre de la réaction chimique qu'il appelle mouvement brownien chimique[79] :
« Bornons-nous à considérer deux types de réactions particulièrement importants et simples qui, au reste, par addition ou répétition, peuvent en définitive donner toutes les réactions. C'est
- d'une part la dissociation ou rupture d'une molécule en molécules plus simples ou en atomes exprimée par le symbole général :
- et d'autre part, la construction d'une molécule, phénomène inverse exprimable par le symbole .
- Si, à une température donnée, deux transformations inverses s'équilibrent parfaitement
- en sorte que dans tout espace, à notre échelle, les quantités des composants restent fixes, nous disons qu'il y a équilibre chimique, qu'il ne se passe plus rien.
En réalité les deux réactions se poursuivent et, à chaque instant, il se brise, en certains points un nombre immense de molécules A, tandis qu'en d'autres points il s'en reforme en quantités équivalente. Je ne crois pas qu'on puisse douter qu'on pourrait percevoir à un grossissement suffisant, dans des espaces microscopiques, des fluctuations incessantes de la composition chimique. L'équilibre chimique des fluides aussi bien que leur équilibre physique, n'est qu'une illusion qui correspond à un régime permanent de transformations qui se compensent. Une théorie quantitative de ce mouvement brownien chimique n'a pas été développée. Mais, même qualitative, cette conception cinétique de l'équilibre a rendu de très grands services. Elle est le fondement réel de tout ce qui, dans la mécanique chimique, se rapporte aux vitesses de réaction (loi d'action de masse). »
Jean Perrin développe ses conceptions de la réaction chimique dans le chapitre suivant, La lumière et les quanta, dans un paragraphe intitulé C'est peut-être la lumière qui dissocie les molécules qui se termine par la proposition étonnante suivante: « Il faudrait donc chercher dans une action de la lumière sur les atomes, un mécanisme essentiel de toute réaction chimique. » Ainsi que le souligne Pierre-Gilles de Gennes dans l'Avant-Propos de Les Atomes[80] :
« Exemple d'intuition trop audacieuse : le moment où Perrin réfléchit sur les cinétiques chimiques, et en particulier sur la décomposition d'une molécule A au sein d'un gaz passif P : comme la concentration du gaz passif ne joue pas de rôle, […] Perrin en conclut que les collisions (AP) sont non pertinentes, et que toute activation doit être photochimique. On ne pouvait évidemment pas, en 1913, deviner que la chimie radicalaire pilote en général ce genre de système… »
En 1910, Jacques Duclaux fait le point sur l'état de la chimie. On sait « de quels éléments sont formés les substances et quels sont leurs rapports de composition. Nous voudrions savoir comment elles se transforment les unes dans les autres, comment on peut en obtenir une aux dépens des autres, et pourquoi les réactions s'accomplissent dans un sens plutôt que dans le sens opposé. […] Ce qu'il nous faudrait maintenant, c'est ce que la chimie cherche depuis plus d'un siècle sans pouvoir le trouver: des lois d'affinités »[81].
Avènement de la chimie électronique (1910-1930)
En 1911, le physicien hollandais Antonius Van der Broek, inspiré par le modèle d'atome planétaire de Perrin-Rutherford, suggère que le nombre d'électrons par atome est environ la moitié de la masse atomique. Cette idée sera affinée par Rutherford en décembre 1913 : le nombre d'électrons d'un atome correspond au numéro atomique, c'est-à-dire à sa position dans le tableau de Mendeleiev. C'est une avancée considérable qui est déjà intégrée dans le modèle d'atome développé par Niels Bohr dans trois articles parus en 1913 :
- Dans l'atome d'Hydrogène, les trajectoires possibles de l'électron sont calculées en posant que le moment cinétique de l'électron doit être quantifié. Les sauts d'orbite correspondent à l'absorption ou à l'émission de photons dont les longueurs d'onde sont celles de la série spectrale de Balmer.
- Dans les atomes d'Hélium, de Lithium et de Bore, 2, 3 ou 4 électrons circulent sur des orbites qui répondent au même principe de quantification
- Dans une molécule, les noyaux se regroupent et les électrons circulent sur des orbites moléculaires.
Au cours de la même année 1913, Gilbert Lewis développe l'idée de l' électrovalence. Il était connu que KCl en solution aqueuse donne naissance à des ions K+ et Cl-. On pouvait donc supposer qu'en s'ionisant K perd un électron (K -> K+ + e−) que Cl récupère (Cl + e− -> Cl−) en s'ionisant. Les deux ions se lient par attraction électrostatique. Mais cette liaison ionique n'explique pas toutes les liaisons chimiques.
En 1916, Lewis remarque que les atomes mettent en commun leurs électrons externes de façon que la composition de l'ensemble moléculaire ressemble à celle des gaz rares. Il avance aussi que chaque liaison covalente est formée par la mise en commun d'une paire d'électrons. Ce qui sera synthétisé dans un article de Irving Langmuir en 1919 : « L'arrangement le plus stable des électrons dans les atomes ou les molécules est celui de la paire de l'atome d'Hélium […] L'arrangement des électrons le plus stable suivant est l'octet, c'est-à-dire un groupe de huit électrons comme celui de la seconde couche de l'atome de Néon. »
Tout en acceptant la modèle atomique des couches électroniques, Jean Perrin n'a jamais compris la raison d'être de la paire d'électrons comme support de la liaison covalente. Il a admis que c'était une possibilité mais qu'il en existait une autre: la liaison avec un seul électron. En 1927, il écrit : « Un système rigide [une molécule] peut être constitué par deux assemblages électroniques fermés [couches électroniques complètes], ayant en commun non plus deux mais un seul électron. Ce sera la liaison monoélectronique ou semi-valence, moins robuste que la liaison biélectronique ou valence… Il est à présumer, si cette notion est fondée, que beaucoup de formules classiques, où l'on n'a fait figurer que des valences ordinaires, seront à réviser »[82].
Perrin qui avait justifié l'utilisation de modèles pour décrire la réalité invisible, en était venu à contester radicalement les nouveaux modèles.
« Toute notion finit par perdre sa signification même, quand on s'écarte indéfiniment des circonstances expérimentales où elle a été formée. Une limitation grave nous arrête si nous allons vers des choses de plus en plus petites (Bohr). Il semble qu'à condition d'aller assez loin, les vieilles notions familières d'espace et de temps disparaissent ; on ne peut plus faire d'images. Je pense que c'est de l'anthropomorphisme que de tâcher de dessiner ce qui se passe à l'intérieur d'un atome d'hydrogène […] Une école de jeunes s'efforce d'affirmer le pouvoir de la raison, de créer d'autres concepts pour un ordre nouveau. Ces jeunes (certains ont quarante ans, d'autres 25), ce sont les de Broglie, les Schrödinger, les Heisenberg, les Dirac. Par leurs théories, hérissées de symboles mathématiques, ils poursuivent l'effort de la civilisation occidentale contre les forces du destin[83]. »
En citant les jeunes physiciens, Perrin s'avouait dépassé. La mécanique ondulatoire, qu'il trouvait si rébarbative, a conduit à la définition des orbitales atomiques, puis des orbitales moléculaires. Le livre de Linus Pauling The nature of the chemical bond, paru en 1939, qui a eu un énorme retentissement, a consacré définitivement le caractère électronique de la liaison chimique.
Théorie radiative de Jean Perrin
Pendant que les chimistes américains développaient la théorie électronique de la liaison chimique, les européens, en particulier Jean Perrin, mobilisaient leurs compétences pour la guerre. Le hiatus de 4 ans de guerre a complètement déconnecté Perrin des avancées de la physique quantique vis-à-vis de laquelle il est resté réservé malgré sa participation à de nombreux congrès Solvay de physique et de chimie au cours desquels il a rencontré tous les acteurs de cette révolution scientifique.
Au delà de la nature de la liaison chimique, une autre question fondamentale se posait : comment un assemblage atomique pouvait-il se défaire pour permettre à un autre assemblage de se former. C'est le problème de la réactivité chimique et de l'énergie nécessaire à l'amorce des réactions.
Après la guerre, en 1919, dans un article intitulé Matière et Lumière, il a repris ses idées de 1911 sur le rôle de la lumière dans les réactions chimiques, ignorant complètement le modèle atomique de Bohr et les découvertes de Lewis et Langmuir.
- « Toute réaction chimique est provoquée par une radiation lumineuse. Sa vitesse est déterminée par l'intensité de cette radiation et ne dépend de la température que dans la mesure où cette intensité en dépend.
- La matière ne peut passer d'un état initial stable, constitué par une unité moléculaire définie à un état final stable, constitué par une autre unité moléculaire définie, qu'en absorbant une lumière excitative déterminée et en rayonnant une autre lumière déterminée. Cette absorption et cette perte d'énergie (dont la différence mesure l'énergie de la réaction) sont égales, à un facteur universel près (la constante de Planck), aux fréquences de la lumière absorbée et de la lumière émise : h + A -> h' + A'. h est la constante de Planck, est la fréquence de la lumière absorbée, A la molécule initiale, ' la fréquence de la lumière émise et A' la molécule finale[84]. »
Affirmer que Toute réaction chimique est provoquée par une radiation lumineuse est manifestement faux. La théorie radiative est extrêmement déconnectée de la réalité de la liaison chimique. Elle a cependant suscité un vif débat qui s'est concrétisé par une réunion spéciale de la Faraday Society en 1921 au cours de laquelle Perrin a défendu sa thèse. Mais rien de concluant n'en est résulté. Perrin a été conforté dans ses convictions par ses découvertes sur la fluorescence à la fin des années 1920. D'une façon paradoxale, Perrin qui avait combattu les thèses énergétistes pour asseoir l'atomisme, s'en fait le porte-parole pour combattre la chimie électronique au cours des congrès Solvay de chimie de 1922, 1925, 1928 et 1931[85]. L'énergétisme et la théorie radiative ont été définitivement abandonnés dans les années 1930, sauf en France où Perrin l'a imposé avec l'aide de Georges Urbain.
Organisation de la recherche scientifique française
Premières tentatives (1919-1922)
La Caisse des recherches scientifiques, créée le , existe toujours. Elle a pour mission d'encourager la recherche plutôt que de récompenser la découverte. Elle est sous la tutelle du ministère de l'Instruction publique. Elle ne dispose, en 1919, que d'un million de francs fournis par les bénéfices du Pari Mutuel Urbain sur les courses de chevaux. Les crédits sont affectés non pas à des laboratoires mais à des chercheurs sélectionnés chaque année pour permettre l'achat d'appareils ou pour couvrir des frais de publications[86].
Pendant la guerre, tout le monde a apprécié la mise en place et le fonctionnement de la Direction des inventions et de la Commission des inventions, les inventeurs (universitaires et ingénieurs) , les industriels, les militaires et les parlementaires qui leur ont voté des crédits généreux. « L'esprit d'ingéniosité et d'innovation avait soufflé sur le pays tout entier pour prendre part à cette aventure. Aussi, à la fin de la guerre, des hommes comme J.-L. Breton étaient remplis d'espoirs. Pourquoi ne pas poursuivre cette entreprise dans un sens de paix désormais? (Yves Roussel)[87]. » On peut dire que Jean Perrin, riche de son expérience sous le gouvernement Painlevé, faisait partie de ces hommes de science remplis d'espoir. Mais il y a eu une certaine compétition entre Breton et Perrin. L'un était un partisan de la science utile tandis que l'autre était partisan de la science pure et désintéressée.
En 1919, Breton garde son poste à la tête de ce qui est appelé désormais la Direction des recherches industrielles et des inventions. Il a un allié scientifique de poids en la personne d'Henry Le Chatelier, professeur de chimie à la Sorbonne. Ce dernier écrivait en 1901: « Mon but est de combattre le sentiment aujourd'hui très général en France que la Science doit rejeter loin d'elle toute préoccupation des applications pratiques, qu'elle doit s'isoler de l'industrie comme d'une promiscuité compromettante[88]. » De plus, sur le plan scientifique, Le Chatelier s'opposait radicalement aux conceptions atomistes de Jean Perrin.
De son côté, dès 1919, Jean Perrin se lance, selon ses propres termes, dans une croisade pour la création d'un organisme destiné à la recherche fondamentale. Il affirme: « La découverte de l'inconnu doit être poursuivie sans préoccupation pratique, précisément si l'on veut en tirer de grands résultats. Ce n'est pas en se donnant pour problème de voir nos organes à l'intérieur de notre corps qu'on eût pu découvrir les rayons X […] Ce n'est pas en cherchant à communiquer avec les antipodes qu'on eût pu découvrir les ondes hertziennes » (Jean Perrin)[24].
Office national des recherches scientifiques et industrielles et des inventions
En 1922, Charles Moureu, chimiste et professeur au Collège de France, qui avait participé à la Commission des substances explosives pendant la guerre, persuade le député Maurice Barrès, dont il est ami, de faire campagne au Parlement pour la défense de la recherche scientifique. Cette action aboutit à deux réalisations :
- L'organisation d'une journée de quête sur la voie publique, appelée Journée Pasteur, qui est bien accueillie et rapporte plusieurs millions de francs. Cette collecte permet notamment la construction d'un puissant électroaimant pour les recherches d'Aimé Cotton. L'appareil est installé, en 1928, à Meudon sur le domaine de Bellevue acquis par le ministère de l'Instruction publique[89].
- Le vote d'une loi en qui transforme l'organisme que dirige Breton en l'Office national des recherches scientifiques et industrielles et des inventions (ONRSII). Les deux écoles de pensée, les tenants de la science pure et les défenseurs de la science appliquée, sont représentées au conseil d'administration par Jean Perrin et Henry le Chatelier, bien qu'il s'agisse d'une institution essentiellement destinée à la technologie. L'office s'installe à Bellevue. Il poursuivra sa mission avec succès sous la direction de Breton jusqu'en 1938. Dès 1923, Breton crée le Salon des arts ménagers, manifestation qui assure d'emblée une bonne part des revenus de l'Office.
Face à l'ONRSII solidement établi, Jean Perrin n'aura de cesse de promouvoir une autre institution aussi bien structurée et dotée, destinée à la recherche fondamentale. Dans le gouvernement du Cartel des gauches (1924-1926), Emile Borel, mathématicien ami de Jean Perrin et député radical-socialiste, est nommé ministre de la Marine. Il propose la création d'une taxe d'apprentissage prélevée sur les bénéfices industriels. Cette mesure, appelée le sou du laboratoire, est incluse dans la loi des finances du . En 1926, elle rapporte 14 millions sur un budget global de 25 millions de francs pour la recherche publique. « Pour la première fois, des crédits réguliers de la recherche existaient […] Mais, comme le disait plaisamment Emile Borel lui-même, si on fait de la recherche avec des appareils, il y faut, en premier lieu, tout de même, des cerveaux. Or, les cerveaux fâcheusement pourvu d'estomacs ne se présentaient pas en nombre suffisant. » (Jean Perrin)[90]
Caisse nationale des sciences
Sous le gouvernement Tardieu-Laval (1929-1932), l'heure est aux mesures sociales permises par le rétablissement de l'économie et la restauration du franc sous le gouvernement Pointcarré : retraite du combattant, assurances sociales, allocations familiales. À l'instigation de Jean Perrin, la Chambre vote une loi le , par laquelle « il est créé au ministère de l'Instruction publique et des beaux-arts, sous les dénominations de Caisse nationale des lettres et de Caisse nationale des sciences, deux établissements publics dotés de l'autonomie financière et de la personnalité civile. » L'objectif de ces Caisses semble être double, d'une part allouer des pensions et des secours à des écrivains ou à des savants vivants, aux conjoints ou aux enfants d'écrivains ou de savants décédés, ce que Jean Perrin appelle « des secours à des savants dans le besoin ou à leurs familles », d'autre part de financer des bourses pour les jeunes chercheurs universitaires.
En , Édouard Herriot, après un échange approfondi avec Jean Perrin, fait un vibrant discours à la Chambre en faveur d'un effort important, à hauteur de 20 millions de francs, pour le développement de la recherche scientifique. Les députés votent un crédit de cinq millions de francs, pris sur le budget de la défense nationale (ligne Maginot) pour alimenter la Caisse nationale des sciences. À la même période, Jean Perrin et André Mayer créent une Fondation nationale pour la recherche scientifique dont on ne perçoit pas bien l'objectif sinon de compenser les insuffisances de la Caisse nationale des sciences[91]. Ils trouvent le nouvel organisme sans autorité et sans stabilité suffisante. Ils lancent, au début de l'année 1933, une pétition, qui est signée par une centaine d'universitaires éminents répartis en 7 groupes de disciplines (les futures sections du CNRS), pour que soit créé un organisme selon leurs vœux. Ils obtiennent par décret du la création du Conseil Supérieur de la Recherche Scientifique dont Jean Perrin prend la direction. Avec le concours de Marie Curie, il démarche les parlementaires et les ministères et obtient que l'enveloppe de 5 millions soit portée à 7,5 millions, une partie étant dévolue au financement des sciences humaines[92]. L'originalité du Conseil tient au fait que les attributions de crédit sont remises entre les mains de commissions composées exclusivement de scientifiques[93].
Le succès de l'activisme de Jean Perrin suscite la curiosité de la Cour des comptes sur l'activité des autres organismes de recherche, le Collège de France, le Muséum national d'histoire naturelle, la Bibliothèque nationale ainsi que l'Office national des recherches scientifiques et industrielles et des inventions. Cette dernière institution, installée à Meudon-Bellevue, a prospéré dans la recherche à visée industrielle. Cependant, depuis la crise de 1929, l'activité de l'ONRSII a peu à peu décliné, le soutien industriel s'est considérablement réduit, la gestion a été sévèrement jugée par la Cour des comptes. Jules-Louis Breton se sent menacé. En 1934, il lance une pétition en soutien à l'institution qu'il dirige, sur le modèle de celle que Perrin a lancé l'année précédente. Le gouvernement maintient l'ONRSII, mais supprime les subventions qui lui étaient accordées. Cet organisme doit désormais fonctionner exclusivement avec les crédits fournis par les entreprises qui exploitent son activité de recherche et par ses revenus propres[94].
Caisse nationale de la recherche scientifique
Le , un décret-loi crée la Caisse nationale de la recherche scientifique (la CNRS) par fusion du Conseil supérieur de la recherche scientifique, de la Caisse des recherches scientifiques (fondée en 1901) et de la taxe d'apprentissage (la taxe Borel de 1925). Le conseil d'administration de la CNRS est dirigé par Jean Perrin. La nouvelle Caisse a pour mission de distribuer des bourses de recherche, de financer les laboratoires et de financer des pensions de retraites aux vieux savants[94].
Les élections du amènent le Front populaire au pouvoir. Dans le gouvernement Léon Blum, Jean Zay est ministre de l’Éducation nationale et Irène Joliot-Curie est nommée sous-secrétaire d'état à la Recherche. Irène Joliot-Curie, qui préfère l'activité scientifique à la politique, démissionne. Jean Perrin lui succède en octobre. Avec l'entier soutien de Léon Blum et de Jean Zay, il continue son combat. Sa plus grande difficulté est de « convaincre la sévère commission des finances du Sénat de la nécessité, non seulement d'élargir le budget de la recherche, mais de créer en permanence au sein de l’Éducation nationale, un véritable Service central de la recherche scientifique »[95]. Perrin réclame 20 millions de francs que la Chambre lui accorde sans trop de réticence. Mais au Sénat, Joseph Caillaux veut réduire la somme de moitié. Finalement, après s'être engagé à ce que le nouveau Service ne recrute pas de fonctionnaires supplémentaires et ne fonctionne qu'avec des chercheurs, Jean Perrin obtient les 20 millions demandés. Henri Laugier, professeur de physiologie à la Sorbonne, prend la tête du nouveau Service dont Jean Perrin préside le conseil d'administration. Le Service assure le recrutement de chercheurs, le recrutement de techniciens et le financement régulier des laboratoires. Entre 1936 et 1939: le budget de la science pure passe de 15 à 35 millions de francs[96].
Jean Perrin n'oublie pas les sciences humaines et sociales. Il rappelle que « Berthelot ne doit pas faire oublier Renan ». Il crée au sein de la Caisse deux comités de direction, l'une pour les sciences mathématiques et expérimentales, l'autre pour les sciences humaines. Avec l'appui du député Georges Cogniot, il alloue des fonds aux recherches en économie politique, histoire, géographie humaine, sociologie ou droit international[97].
Le gouvernement Blum crée un fonds de financement de grands travaux pour lutter contre le chômage. Jean Perrin réussit à bénéficier de ce fonds pour construire des laboratoires (53 millions), financer les recherches (33 millions) et réaliser des grands répertoires d'enquête (13 millions). C'est dans ce cadre qu'il fonde, en 1937[98] :
- l'Observatoire de Haute Provence et l'Institut d'astrophysique de Paris dont la direction est assurée par Henri Mineur.
- le Laboratoire de synthèse atomique d'Ivry, confié à Frédéric Joliot-Curie, qui forme l'amorce de ce qui deviendra le Commissariat à l'énergie atomique. Le laboratoire reçoit en particulier une dotation pour la construction d'un cyclotron.
- le Laboratoire des Gros traitements chimiques, implanté à Vitry devait être dirigé par Georges Urbain. La mort de ce dernier en 1938 modifie le projet qui devient le Centre d'études métallurgiques sous la direction de Georges Chaudron.
- l'Institut de Biométrie humaine, dirigé par Henri Laugier.
- le Laboratoire de Physiologie de la Nutrition, dirigé par André Mayer.
- l'Institut de recherche et d'histoire des textes qui est intégré aux Archives nationales.
- l'Inventaire général de la langue française qui avait pour mission de créer le Littré du XXe siècle.
Enfin, Jean Perrin profite de l'Exposition universelle de 1937 à Paris pour fonder le Palais de la Découverte.
Centre national de la recherche scientifique
Le , avec la chute du gouvernement Blum, le sous-secrétariat à la recherche est supprimé mais, le , Léon Blum redevient, pour un mois, président du Conseil, et Jean Perrin redevient sous-secrétaire d'Etat à la Recherche. Pendant ce bref exercice, Jean Perrin amorce la rédaction d'une loi sur l'organisation de la Nation en temps de guerre, loi qui est adoptée par la Chambre et ratifiée par le Sénat le . Le texte de la loi reconnait pour la première fois en France le rôle de la recherche scientifique dans l'effort de défense. Pour mettre en œuvre ce principe, un Haut comité de coordination des recherches scientifiques est créé. Il est présidé par Jean Perrin[99].
Fin 1938, Jules-Louis Breton est malade. Il démissionne de la direction de l'Office national des recherches scientifiques et industrielle et des inventions. Compte tenu ses insuffisances, l'Office doit être sérieusement restructuré. Lors d'une séance solennelle du Conseil supérieur de la recherche appliquée, dont Jean Perrin est président, l'ONRSII est renommé Centre national de la recherche scientifique appliquée (CNRSA) dont Jean Zay, à nouveau ministre de l'Éducation nationale, confie la direction à Henri Longchambon, doyen de la faculté des sciences de Lyon. L'ONRSII était né de la réorientation de la recherche appliquée pour la Défense nationale vers la recherche industrielle civile. Le nouveau directeur organise l'activité du CNRSA pour préparer la guerre[93].
Finalement, la loi du , quelques mois après la déclaration de guerre, fusionne la CNRS et le CNRSA pour former le Centre national de la recherche scientifique (le CNRS), tout en conservant deux directions, celle des sciences pures (Laugier) et celle des sciences appliquées (Longchambon)[38]. La création du CNRS est l'aboutissement de 20 ans de travail de conception et de concertation de Jean Perrin avec ses collègues ainsi que de pédagogie et de persuasion vis-à-vis des politiques. C'est aussi son dernier acte politique puisque, huit mois plus tard, il prend sa retraite et tente de quitter la France.
Principales publications
- Les Principes. Exposé de thermodynamique (Gauthier-Villars, 1901, 300 pages)
- Traité de chimie physique. Les principes (1903)
- Mouvement brownien et réalité moléculaire, Ann. Chimie Physique 8e série, 18, 1909, 1-114, traduit en anglais par Frederick Soddy, Brownian movement, Taylor and Francis, Londres
- Les Preuves de la réalité moléculaire (Étude spéciale des émulsions). Rapport lu au Congrès Solvay en in La théorie du rayonnement et des quanta (Gauthier-Villards, 1912, pp. 153-251)
- Les Atomes (Félix Alcan, 1913, 300 pages) [détail des éditions] traduit en anglais, en allemand, en polonais, en russe
- Matière et lumière - Essai de synthèse de la mécanique chimique, Ann. Physique, 9 (11), 1919, 1-108
- En l'honneur de Madame Pierre Curie et de la découverte du Radium (1922)
- Les Éléments de la physique (1929, réédition 1947)
- L'Orientation actuelle des sciences (1930), avec Paul Langevin, Lucien Plantefol, Louis Lapicque, Charles Pérez et Georges Urbain
- Les Formes chimiques de transition (1931)
- La Recherche scientifique (1933)
- Grains de matière et grains de lumière (Hermann, Paris, 1935, réédition 1948)
- « 1-Existence des grains (42 pages) », sur gallica.bnf.fr, (consulté le )
- « 2-Structure des atomes (52 pages) », sur gallica.bnf.fr, (consulté le )
- « 3-Noyaux des atomes (25 pages) », sur gallica.bnf.fr, (consulté le )
- « 4-Transmutations provoquées (42 pages) », sur gallica.bnf.fr, (consulté le )
- Cours de chimie. 1re partie. Chimie générale et métalloïdes (1935)
- Paul Painlevé : l'homme (1936)
- L'Organisation de la recherche scientifique en France (1938)
- À la surface des choses. Physique générale. (Hermann, Paris, 1940-1941)
- « I-Espace et temps (1940, 43 pages) », sur gallica.bnf.fr, (consulté le )
- « II-Lumière (1940, 71 pages) », sur gallica.bnf.fr, (consulté le )
- « III-Relativité (1941, 39 pages) », sur gallica.bnf.fr, (consulté le )
- « IV-Forces et travail (1940, 58 pages) », sur gallica.bnf.fr, (consulté le )
- « V-Masse et gravitation (1940, 71 pages) », sur gallica.bnf.fr, (consulté le )
- « VI-L'énergie (1941, 71 pages) », sur gallica.bnf.fr, (consulté le )
- « VII-Évolution (1941, 75 pages) », sur gallica.bnf.fr, (consulté le )
- « VIII-Électricité (1941, 175 pages) », sur gallica.bnf.fr, (consulté le )
- L'Âme de la France éternelle (1942)
- Pour la libération (1942)
- La Science et l'Espérance (PUF, Nouvelle collection scientifique, 1948)
- Œuvres scientifiques de Jean Perrin, Éditions du CNRS, 1950.
Distinctions
- 1897, Prix James Joule de la Physical Society of London
- 1910, Prix Gaston Planté de l'Académie des sciences de Paris
- 1910, Prix Vallauri de l'Académie des sciences de Turin
- 1912, Médaille Matteucci de l'Académie italienne des sciences
- 1911, membre du Conseil Solvay de physique
- 1913, Prix Henri de Parville de l'Académie de sciences de Paris
- 1913, Docteur honoris causa de l'université Columbia
- 1914, Prix La Caze de l'Académie des sciences de Paris
- 1914,
Chevalier de la Légion d'honneur par décret du ministre de l'Instruction publique - 1918, Membre de la Société Royale de Londres
- 1919, Docteur honoris causa de l'université de Manchester
- 1920,
Officier de la Légion d'honneur par décret du ministre de la Marine - 1920, Membre de la Royal Institution
- 1921, Membre du Conseil Solvay de chimie (Bruxelles)
- 1922, Membre de l'Académie des sciences de Turin
- 1922, Docteur honoris causa de l'université d'Oxford
- Docteur honoris causa des universités de Berlin, Princeton et de Gand
- 1922, Membre de l'Académie royale des sciences de Suède
- 1923, membre de l'Académie des sciences de Paris, vice-président en 1935
- Membre des Académies des sciences de Prague, de Bucarest, de Pékin
- 1925, membre de l'Académie des sciences de l'Union soviétique
- 1926,
Commandeur de l'ordre de Léopold (Belgique) - 1926, Prix Nobel de physique
- 1926,
Commandeur de la Légion d'honneur par décret du ministre de l'Instruction publique - 1937,
Grand officier de la Légion d'honneur par décret du ministre de l'Éducation nationale - 1938, Grande médaille d'or de la Société d'encouragement au Progrès
Hommages
- Laboratoire Jean-Perrin, laboratoire de biophysique affilié au CNRS et à l'université Pierre-et-Marie-Curie.
- Centre Jean-Perrin, l'un des 18 centres régionaux de lutte contre le cancer de France, ouvert en 1973 à Clermont-Ferrand.
- Prix Jean Perrin de la Société française de Physique décerné chaque année à un chercheur français engagé dans la vulgarisation de la science.
- Conférences Jean Perrin créées par la Société française de Physique depuis 2001. pour stimuler les contacts entre physiciens français et étrangers.
- Lycée Jean-Perrin à Saint-Cyr l'Ecole, Saint-Ouen-l'Aumône, Lambersart, Lyon, Rezé, Longjumeau, Marseille et Saint-André (La Réunion).
- Faculté des sciences Jean-Perrin à Lens.
- Collège Jean-Perrin à Paris, Nanterre, Vitry-sur-Seine, Lyon et à Béziers.
- Les villes d'Alès, Angers, Bourges, Ivry-sur-Seine, Lagord , Lille, Nanterre, Orléans, Paris (square Jean-Perrin), Rennes, Toulouse, Tours et Casablanca lui ont rendu hommage en donnant son nom à une rue.
- (8116) Jeanperrin, astéroïde.
Notes et références
- 1 2 « Daniel Rivat. Généalogie de Jean Perrin », sur gw.geneanet.org (consulté le ).
- 1 2 3 « Jean Baptiste Perrin (1821-1880) Fiche LH/2110/20 sur la base LEONORE », sur www2.culture.gouv.fr (consulté le ).
- ↑ « Actes de naissance (1830-1835) de Boulogne-sur-mer (5 MIR 160/19, vue 734/1330) », sur archivesenligne.pasdecalais.fr (consulté le ).
- ↑ Article sur Jean Perrin, sur le site de Janine Tissot.
- ↑ « Acte de mariage entre Jean Baptiste Perrin et Julie Thérèse Estelle Lasalle », sur archivesenligne.pasdecalais.fr, (consulté le ).
- 1 2 3 Charpentier-Morize 1997, p. 19.
- 1 2 « Perrin, Jean Baptiste, Matricule 3434, Matricules militaires de la Seine, 6e bureau, 1890, D4R1 638 », sur archives.paris.fr, (consulté le ).
- ↑ Charpentier-Morize 1997, p. 20.
- 1 2 Charpentier-Morize 1997, p. 21.
- 1 2 3 Jean Perrin, Thèse présentée à la Faculté des sciences de Paris pour obtenir le grade de docteur ès-sciences physiques, Paris, Gauthier-Villars, , 84 pages (lire en ligne).
- ↑ Charpentier-Morize 1997, p. 28.
- ↑ Michel Winock, Clémenceau, Paris, Perrin tempus, , 688 p., p. 302.
- ↑ Irène Frain, Marie Curie prend un amant, Paris, Le Seuil, , 415 p..
- ↑ Charpentier-Morize 1997, p. 33-42.
- ↑ Charpentier-Morize 1997, p. 219.
- ↑ Jean Perrin, « Mouvement brownien et réalité moléculaire », Ann.Chim.Phys. 8e série, Vol.18, , p. 1-114 (lire en ligne).
- ↑ Charpentier-Morize 1997, p. 49.
- 1 2 « Jean Baptiste Perrin (1870-1942) Fiche LH/2110/21 sur la base LEONORE », sur www2.culture.gouv.fr (consulté le ).
- ↑ « Le repérage par le son: les SRS », sur basart.artillerie.asso.fr (consulté le ).
- ↑ « Le télésitemètre Perrin », sur basart.artillerie.asso.fr (consulté le ).
- ↑ Charpentier-Morize 1997, p. 74.
- ↑ Denis Guthleben, « Les scientifiques, entre tranchées et paillasses », sur lejournal.cnrs.fr, (consulté le ).
- ↑ Roswitha Reinbothe, « L’exclusion des scientifiques allemands et de langue allemande des congrès scientifiques internationaux après la Première Guerre mondiale », Revue Germanique Internationale, , p. 193-208 (lire en ligne).
- 1 2 Charpentier-Morize 1997, p. 162.
- ↑ Jean Perrin, Notice sur les travaux scientifiques de Mr Jean Perrin, Toulouse, Edouard Privat, , 97 p. (lire en ligne).
- ↑ « Jean Perrin, membre de l'Académie des sciences », sur academie-sciences.fr (consulté le ).
- ↑ (en) « Jean Baptiste Perrin », sur nobelprize.org, (consulté le ).
- ↑ Alain Fuchs, « Pourquoi il faut relire "Les Atomes" », Le journal du CNRS, (lejournal.cnrs.fr/billets/pourquoi-il-faut-relire-les-atomes).
- ↑ Charpentier-Morize 1997, p. 125.
- ↑ Charpentier-Morize 1997, p. 173.
- ↑ Pierre Girard, Hommage à Jean Perrin, Paris, Hermann, , p. 20.
- ↑ Charpentier-Morize 1997, p. 180.
- ↑ Charpentier-Morize 1997, p. 131.
- ↑ Charpentier-Morize 1997, p. 169.
- ↑ Charpentier-Morize 1997, p. 157.
- ↑ « Irène Joliot-Curie, une scientifique au service de la justice », sur L'Humanité, .
- ↑ Charpentier-Morize 1997, p. 224.
- 1 2 Denis Guthleben, « Un peu d'histoire… », Comité pour l'histoire du CNRS, 25 mars 2010, révisé le 12 septembre 2016 (cnrs.fr/ComiHistoCNRS/spip.php?article2).
- ↑ Charpentier-Morize 1997, p. 231.
- 1 2 3 Charpentier-Morize 1997, p. 232.
- ↑ Lettre du de Francis Perrin à Jean Perrin, Fonds Jean Perrin, Archives de l’Académie des sciences, cote 54 J, dossier 5.
- 1 2 « Transfert des cendres de Jean Perrin. Allocution de Mr Emile Borel à la Sorbonne à Paris », sur academie-sciences.fr, (consulté le ).
- 1 2 « Transfert des cendres de Jean Perrin. Allocution de Mr Jean Cabannes à Brest », sur academie-sciences.fr, (consulté le ).
- ↑ Diane Dosso, « Le plan de sauvetage des scientifiques français, New York, 1940–1942 », Revue de synthèse, vol. 127, no 2, octobre 2006, p. 429-451.
- ↑ Charpentier-Morize 1997, p. 234.
- ↑ (en) Deaths, « Jean Perrin is dead », JAMA, 119 (3), , p. 282-284.
- ↑ Ernest Esclangon, « Éloge de Jean Perrin », C.R.Acad.Sci. (Paris), vol. 214, , p. 725-729 (lire en ligne).
- 1 2 (en) J.S. Townsend, « Jean Perrin, 1870-1942 », Obituary Notices of Fellows of the Royal Society. 4 (12), , p. 301-326 (lire en ligne).
- ↑ Louis de Broglie, La réalité des molécules et l’œuvre de Jean Perrin, Paris, Gauthier-Villars, , 30 p. (lire en ligne).
- ↑ Les Lettres françaises, numéro du 18 novembre 1948, sur le site Gallica.
- ↑ Jean Perrin et Paul Langevin au Panthéon, par C.G. Bossière, Le Monde, 12 novembre 1948.
- ↑ Denis Guthleben, « Jean Zay rejoint Jean Perrin au Panthéon », Le Journal du CNRS, (lire en ligne).
- ↑ « Hommage national à Jean Perrin à l'occasion du 20e anniversaire de sa mort », sur academie-sciences.fr, (consulté le ).
- ↑ « Jean Perrin physicien », sur persee.fr, (consulté le ).
- ↑ « Jean Perrin et la chimie physique », sur persee.fr, (consulté le ).
- ↑ « Jean Perrin et l'Astronomie », sur persee.fr, (consulté le ).
- ↑ Charpentier-Morize 1997, p. 193.
- ↑ Charpentier-Morize 1997, p. 127.
- ↑ Raphael Chevrier, Ça alors ! : histoire de ces découvertes que l'on n'attendait pas, Paris, Vuibert, , 224 p. (ISBN 978-2-311-10167-6, lire en ligne).
- ↑ Jean Perrin, « Mécanismes de la décharge des corps électrisés par les rayons Röntgen », J.Phys.Theor.Appl., Vol.5(1), , p. 350-357 (lire en ligne).
- ↑ Jean Perrin, « Décharges par les rayons Röntgen-Effet métal », J.Phys.Theor.Appl., Vol.6(1), , p. 425-432 (lire en ligne).
- ↑ Jean Perrin, « Hypothèses moléculaires », Revue scientifique (Revue Rose), vol. 15, , p. 449-461 (lire en ligne).
- ↑ Jean Claude Baudet, Histoire de la chimie, Louvain-la-neuve, de Boeck Supérieur, , 354 p. (ISBN 978-2-8073-0692-9, lire en ligne), p. 140-147.
- ↑ (de) August Kekulé, Lerbuch der Organischen Chemie (Traité de Chimie Organique), Erlangue, Ferdinand Enke, .
- ↑ Jan Perrin, Les Atomes, Paris, Flammarion, , 292 p. (ISBN 978-2-0813-3673-5), p. 24-25
- ↑ Les Atomes 2014, p. 283.
- ↑ Jean Perrin, « Fluorescence et induction moléculaire par résonance », C.R. Acad. Sci. (Paris), , p. 1097-1100 (lire en ligne).
- ↑ Francis Perrin, « Polarisation de la lumière de fluorescence. Vie moyenne des molécules dans l'état excité », J. Phys. Radum, 1926 vol.7 (12), p. 390-401 (lire en ligne).
- ↑ Why the Stars Shine, par Don Selle, Guidestar, Houston Astronomical Society, octobre 2012, p. 6-8.
- ↑ Jean Perrin, « L'origine de la chaleur solaire », Scientia (Revista di scienza, Bologne, Italie), 1921 vol.30, p. 355-374.
- ↑ Cosmos: An Illustrated History of Astronomy and Cosmology, par John North, University of Chicago Press, page 545.
- ↑ (en) David Bodanis, E=MC2. A biography of the world's most famous equation, New York, Berkley Publishing Group, , 337 p. (ISBN 0-425-18164-2), p. 175-183.
- ↑ (en) Arthur Eddington, « The internal constitution of stars », The Scientific Monthly, , p. 297-303 (lire en ligne).
- ↑ Charpentier-Morize 1997.
- ↑ Charpentier-Morize 1997, p. 15.
- ↑ Jean-Claude Baudet, Histoire de la chimie, Louvain-la-Neuve, de Boeck Supérieur, , 354 p. (ISBN 978-2-8073-0692-9, lire en ligne), p. 172.
- ↑ Les Atomes 2014, p. 62-63.
- ↑ Les Atomes 2014, p. 71.
- ↑ Les Atomes 2014, p. 205.
- ↑ Les Atomes 2014, p. 13.
- ↑ Charpentier-Morize 1997, p. 57.
- ↑ Jean Perrin, « Valence et composés d'addition », C.R. Acad. Sci.(Paris) Vol.185, , p. 557-561 (lire en ligne).
- ↑ Charpentier-Morize 1997, p. 81.
- ↑ Charpentier-Morize 1997, p. 87.
- ↑ Charpentier-Morize 1997, p. 100.
- ↑ Charpentier-Morize 1997, p. 171.
- ↑ Charpentier-Morize 1997, p. 159.
- ↑ Charpentier-Morize 1997, p. 164.
- ↑ Charpentier-Morize 1997, p. 172.
- ↑ Charpentier-Morize 1997, p. 175.
- ↑ Charpentier-Morize 1997, p. 181.
- ↑ « Karine Pellé. Chronologie historique du CNRS », sur cnrs.fr, (consulté le ).
- 1 2 Jean-François Picard, « La création du CNRS », Revue pour l'histoire du CNRS, , journals.openedition.org (lire en ligne).
- 1 2 Charpentier-Morize 1997, p. 187.
- ↑ Charpentier-Morize 1997, p. 195.
- ↑ Charpentier-Morize 1997, p. 196.
- ↑ Charpentier-Morize 1997, p. 199.
- ↑ Charpentier-Morize 1997, p. 197-199.
- ↑ Charpentier-Morize 1997, p. 200.
Voir aussi
Bibliographie
- Micheline Charpentier-Morize, Jean Perrin (1870-1942). Savant et homme politique, Paris, Belin, Collection « Un savant, une époque », , 285 p. (ISBN 2-7011-2002-0)
- Fernand Lot, Jean Perrin et les atomes, Éditions Seghers, coll. « Savants du monde entier », , 222 p.
- Albert Ranc (préf. Léon Blum), Jean Perrin. Un grand savant au service du socialisme, Paris, Éditions de la liberté, coll. « Science et savants » (no 1),
- Les grosses molécules en solution, colloque en hommage à Jean Perrin et Paul Langevin, Collège de France, 1948.
- Jean-François Picard, La République des Savants revisitée. Du CNRS à l'ANR, un siècle d'organisation de la recherche scientifique en France (Histcnrs, 2021)
Liens externes
- « Jean Perrin, à la poursuite de l'atome », Science chrono, France Culture, 13 décembre 2024.
- (en) Biographie sur le site de la fondation Nobel (le bandeau sur la page comprend plusieurs liens relatifs à la remise du prix, dont un document rédigé par la personne lauréate — le Nobel Lecture — qui détaille ses apports)
- Mouvement brownien et molécules, par Jean Perrin, 1923, sur la Vidéothèque du CNRS.
Bases de données et dictionnaires
- Ressources relatives à la recherche :
- Ressource relative à l'astronomie :
- Ressource relative à la santé :
- Ressource relative à la vie publique :
- Notices dans des dictionnaires ou encyclopédies généralistes :
- Portail de la physique
- Portail de la chimie
- Portail de la politique française
- Portail du prix Nobel