Katherine Clerk Maxwell

| Naissance | |
|---|---|
| Décès | |
| Sépulture | |
| Nom de naissance |
Katherine Mary Dewar |
| Nationalité | |
| Domicile | |
| Activité | |
| Père |
Daniel Dewar (d) |
| Mère |
Susan Place (d) |
| Conjoint |
James Clerk Maxwell (à partir de ) |

Katherine Clerk Maxwell, née Dewar en 1824 à Glasgow (Écosse) et morte le à Cambridge (Angleterre), est une physicienne britannique connue pour sa contribution aux découvertes de son mari, James Clerk Maxwell, notamment sur la vision des couleurs et la viscosité des gaz.
Biographie
Jeunesse et mariage
Katherine Mary Dewar naît en 1824 à Glasgow. Elle est la fille de Susan Place et du révérend presbytérien Daniel Dewar[1], directeur du Marischal College d'Aberdeen[2].
À l'âge de 30 ans, elle rencontre James Clerk Maxwell, de sept ans son cadet, alors qu'il est professeur de philosophie naturelle au Marischal College (1856-1860). Son père s'était lié d'amitié avec James et l'invitait fréquemment au domicile familial ou à partager des vacances en famille[3]. James annonce leurs fiançailles en et ils se marient dans la paroisse de Old Machar (Aberdeen) le [4],[5]. Le couple n'aura pas d'enfants.
Contribution scientifique
Avant et pendant leur mariage, Katherine collabore aux expériences de James sur la vision des couleurs et la viscosité des gaz[4]. Dans son article intitulé On the Theory of Compound Colours, and the Relations of the Colours of the Spectrum, publié dans le journal scientifique Philosophical Transactions, James fait part des observations de deux individus. Il révèle être le premier observateur étiqueté J et désigne le deuxième individu de manière anonyme comme « un autre observateur (K) »[6]. Lewis Campbell confirmera que cet observateur K est bien Katherine[4].
Expériences sur la vision des couleurs

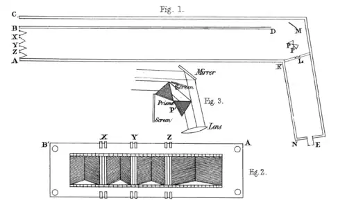
L'appareil utilisé dans les expériences sur la vision des couleurs est illustré sur la figure 1.
Il a été construit en joignant une boîte de 5 pieds (1,524 mètres) (AK) à une boîte de 2 pieds (0,6096 mètres) (KN) à un angle de 100 degrés. Un miroir en M réfléchit la lumière passant par l'ouverture en BC vers une lentille en L. Deux prismes équilatéraux en P diffractent la lumière provenant des trois fentes en X, Y et Z. Elle illumine les prismes avec la combinaison des couleurs spectrales créées par la diffraction de la lumière des fentes. Cette lumière est également visible à travers la lentille en L. L'observateur regarde à travers la fente en E tandis que l'opérateur ajuste la position et la largeur de chaque fente en X, Y et Z jusqu'à ce que l'observateur ne puisse plus distinguer la lumière du prisme de la pure lumière blanche réfléchie par le miroir. La position et la largeur de chaque fente sont ensuite enregistrées.
James et Katherine réalisent cette expérience chez eux. Leurs voisins pensent qu'ils sont « fous de passer autant d'heures à regarder un cercueil »[4]. Les observations de Katherine diffèrent de celles de James à plusieurs égards. Il décrit ces différences dans la section XIII de son article publié dans le journal scientifique Philosophical Transactions, notant qu'il y a une « différence mesurable » entre les couleurs perçues par chaque observateur[6]. Cela l'amène à développer sa théorie de la vision des couleurs et à découvrir la cécité répandue du foramen central à la lumière bleue.
Expériences sur la viscosité des gaz
Dans une lettre à Peter Guthrie Tait, James Clerk Maxwell décrit la contribution de Katherine aux résultats exposés dans son article Sur la théorie dynamique des gaz : « Ma meilleure moitié [Katherine] a effectué le véritable travail sur la théorie cinétique » et elle est à présent « engagée dans d'autres recherches. Quand elle aura terminé, je vous ferai connaître sa réponse à votre demande [sur les données expérimentales] »[7].
Un incendie à Glenlair ayant détruit la majorité des articles de Maxwell, les historiens ont des difficultés à reconstituer les détails de la contribution scientifique de Katherine Clerk Maxwell[2].

Vie privée
Après la fusion du Marishal College avec le Kings College pour former la nouvelle université d'Aberdeen en 1860, James Clerk Maxwell perd son poste. Le couple déménage à Londres où James devient titulaire de la chaire de philosophie naturelle au King's College.
Les Maxwell sont des cavaliers passionnés. Dans une lettre à Charles Hope Cay, un ami et collègue, James mentionne leurs sorties régulières au Brig d'Urr avec les chevaux Darling et Charlie. Ce dernier est un poney bai que James a offert à Katherine lors d'une foire à chevaux[4]. Il attrape la variole lors de cette foire en puis un érysipèle après un accident d'équitation en [3].
Le couple déménage au domaine familial des Maxwell, Glenlair, vers 1865, où James écrira une partie majeure de son travail. En 1871, il devient professeur de physique expérimentale à l'université de Cambridge[5]. Si le couple vit à Cambridge, il continue à passer les étés à Glenlair[8].
La santé de Katherine est fragile et elle souffre d'une longue maladie en 1876[4]. James prend soin d'elle[9]. Margaret Tait, l'épouse de P.G. Tait, lui reprochera d'avoir une influence négative sur la carrière de son mari en raison de sa maladie et du temps que James consacre à la soigner[2].
James décède d'un cancer de l'estomac le . Le jour de sa mort, James s'inquiète encore pour la santé de Katherine[2].
Elle meurt sept ans plus tard, le . Elle est enterrée avec son mari à Parton (Kirkcudbrightshire, Galloway)[10].
Notes et références
- ↑ (en) Lundy, Darryl, « Katherine Mary Dewar », sur www.thepeerage.com, The Peerage (consulté le ).
- 1 2 3 4 (en) Bernard Lightman, The Dictionary of Nineteenth-Century British Scientists : Volume 3 : K-Q., Bristol, UK, Thoemmes Continuum, (ISBN 978-1-85506-999-2), p. 1381–2.
- 1 2 (en) Basil Mahon, The man who changed everything : the life of James Clerk Maxwell, Wiley, , 226 p. (ISBN 978-0-470-86088-5 et 978-0-470-86171-4, OCLC 52358254, lire en ligne).
- 1 2 3 4 5 6 (en) Lewis Campbell et William Garnett, The Life of James Clerk Maxwell : With a Selection from His Correspondence and Occasional Writings and a Sketch of His Contributions to Science, Cambridge University Press, , 704 p. (ISBN 978-1-108-01370-3, lire en ligne).
- 1 2 (en) « Key Facts about Maxwell », sur www.clerkmaxwellfoundation.org (consulté le ).
- 1 2 (en) James Clerk Maxwell et George Gabriel Stokes, « IV. On the theory of compound colours, and the relations of the colours of the spectrum », Philosophical Transactions of the Royal Society of London, vol. 150, , p. 57–84 (DOI 10.1098/rstl.1860.0005, lire en ligne, consulté le ).
- ↑ (en) Clerk Maxwell, James, « Letter to P.G. Tait. », Maxwell Papers, Cambridge University Library, .
- ↑ (en) Raymond Flood, Mark McCartney et Andrew Whitaker, James Clerk Maxwell : Perspectives on his Life and Work, OUP Oxford, (ISBN 978-0-19-164125-1, lire en ligne).
- ↑ (en) Everitt, C. W. F., James Clerk Maxwel : Physicist and Natural Philosopher., New York, .
- ↑ (en) « James Clerk Maxwell's burial place at Parton », sur www.clerkmaxwellfoundation.org (consulté le ).
Liens externes
- Portail des sciences
- Portail de la physique
- Portail du Royaume-Uni
- Portail du XIXe siècle