Profondeur de champ


La profondeur de champ est un facteur déterminant la manière dont une prise de vue peut gérer la netteté relative des différents plans du sujet photographié ou observé. Elle est conçue comme une zone que l'opérateur peut augmenter ou réduire, le reste du sujet, en avant ou arrière de cette zone, perdant ou gagnant inversement en netteté.
L'étendue de cette zone dépend de plusieurs paramètres – notamment l'ouverture du diaphragme de l'objectif, la distance de mise au point et les dimensions de la surface qui reçoit l'image (dépoli d'une chambre noire, surface sensible, argentique ou numérique) qui induit le choix de la distance focale de l'objectif – mais aussi des conditions d'observation de l'image finale. Dans la plupart des cas, la taille de la surface sensible est imposée par le matériel, la distance du sujet et la focale sont imposés par l'effet de perspective et le cadrage souhaité. Par conséquent, l'ouverture est le principal réglage qui permet de modifier la profondeur de champ. Ces réglages sont limités par les conditions réelles de prise de vue : luminosité et capacité de compenser une grande ouverture par une vitesse rapide d'obturation, possibilité de bouger par rapport au sujet, objectifs dont dispose le photographe.
La connaissance de la profondeur de champ est nécessaire à la maîtrise des prises de vues, en photographie comme en cinéma et en vidéo. Son contrôle est indispensable pour mettre en valeur un sujet dans les techniques de portrait, de paysage et de nature morte. Plus la profondeur de champ est étendue, plus elle intègre le sujet dans son environnement ; pour cela, il convient de fermer le diaphragme. A contrario, plus elle est courte, plus elle l'isole ; il faut dans ce cas ouvrir le diaphragme.
Petite ouverture, grande profondeur de champ.
Grande ouverture, petite profondeur de champ. Le bokeh d'arrière-plan s'intensifie.
Selon le but de la prise de vue, c'est l'une ou l'autre des photos qui sera préférée.
Approche pratique
Quand un photographe prend une photographie, il choisit souvent le cadrage en premier lieu.
- S'il dispose d'un objectif à focale fixe ne pouvant pas être remplacé par un autre objectif, il devra choisir le point de vue en conséquence, il n'aura pas le choix de la perspective.
- S'il dispose d'un objectif zoom, ou d'autres objectifs à focale fixe, il choisira le point de vue (qui détermine la perspective) et choisira la focale en conséquence.
L'ouverture


Le choix de l'appareil (et de son objectif), du point de vue et du cadrage étant faits, le seul réglage sur lequel peut ensuite jouer le photographe pour contrôler la profondeur de champ est l'ouverture du diaphragme.
- Pour les grandes ouvertures – f/1,4, f/2 – la profondeur de champ est faible, la zone de netteté sur l'image finale sera réduite. Ce type de réglage est adapté à la photographie de type portrait. Il permet de mettre en valeur le sujet en l'isolant du reste de la scène.
- Pour les petites ouvertures – f/16, f/22 – la profondeur de champ est grande, la zone de netteté sur l'image finale sera importante. Ce type de réglage est adapté à la photographie de type paysage. Il permet d'intégrer un sujet dans son environnement.

Si l'objectif dispose d'une échelle de profondeur de champ, comme illustré ci-dessus, le photographe peut s'en servir pour prévoir la profondeur de champ : de part et d'autre du repère qui indique la distance de mise au point (réglée entre 1 et 2 m sur l'illustration), des gravures symétriques portant des valeurs de diaphragme, 11, 16 et 22, indiquent les limites de la profondeur de champ. Pour une ouverture réglée sur f/11, comme l'indique la bague de réglage de l’ouverture, le premier plan net sera situé à 1 m et le dernier plan net à 2 m. Il est intéressant d'observer ensuite l'augmentation de la profondeur de champ lorsque l'ouverture diminue, jusqu'à f/22 pour cet objectif.
Lors du cadrage et de la visée, la mise au point s'effectue généralement avec le diaphragme ouvert au maximum pour avoir une image claire dans le viseur et une plus grande précision de mise au point due à la faible profondeur de champ. Certains appareils possèdent un testeur de profondeur de champ qui permet de fermer manuellement le diaphragme à la valeur réglée pour vérifier l'étendue de la profondeur de champ.
La contrainte d'obtenir une photo correctement exposée, avec une bonne qualité d'image, peut limiter la possibilité de réduire ou d'augmenter la profondeur de champ.
Conséquences de l'augmentation de la profondeur de champ par la fermeture du diaphragme

La fermeture du diaphragme diminue la quantité de lumière qui parvient à la surface photosensible, qu'il s'agisse d'un capteur électronique ou d'une pellicule argentique. Le photographe doit alors augmenter le temps de pose pour maintenir une exposition lumineuse correcte et ne pas obtenir une photographie sous-exposée. Le réglage du temps de pose peut être effectué automatiquement par l'appareil s'il est muni, en plus d'un réglage manuel, d'un réglage « priorité ouverture » noté « A » ou « Av ». Bien évidemment l'augmentation du temps de pose induit des risques de flou pour les sujets en mouvement et de flou de bougé si l'appareil est tenu à la main. Si le temps de pose ne peut pas être trop augmenté, il sera nécessaire d'augmenter la sensibilité de la surface photosensible. Malheureusement, une augmentation importante de la sensibilité a pour conséquence la dégradation plus ou moins perceptible de la qualité de l'image (bruit électronique en numérique et grain en argentique et diminution de la dynamique de l'image). D'autre part, plus le diaphragme est fermé, plus le risque de léger flou par diffraction augmente en fonction inverse du format de la surface sensible, en général à partir de f/11 pour les petits capteurs.
Conséquences de la diminution de la profondeur de champ par l'ouverture du diaphragme
Plus le diaphragme est ouvert, plus la vitesse d'obturation doit être rapide. Lorsqu'on cherche une faible profondeur de champ dans les cas de grande luminosité de la scène de prise de vue, il convient donc de s'assurer des limites de l'appareil en vitesse rapide pour de bas ISO (ISO 100 le plus couramment), une sensibilité plus grande augmentant le problème. Avec l'augmentation de la vitesse d'obturation, les effets d'une vitesse lente deviennent évidemment progressivement impossibles sans recourir à des filtres neutres de grande densité.
La taille de la surface photosensible et la distance focale de l’objectif
Pour un cadrage, un point de vue et une ouverture identiques, les dimensions de la surface photosensible influencent fortement la profondeur de champ. Dans ces conditions, plus le format de la surface photosensible est grand, plus la focale de l'objectif est grande et plus la profondeur de champ est réduite. Si le photographe dispose de plusieurs appareils de formats différents, il pourra choisir celui qui est le plus adapté à son exigence. Le réglage de la mise au point est d'autant plus délicat.

- Les grands capteurs, sont privilégiés pour la photographie de portrait (format 24 × 36 ou plus) mais aussi pour les captations cinéma (format super 35 ou plus).
- L'utilisation de petits capteurs peut se justifier dans le cas de la macrophotographie où un grand capteur réduira la possibilité d’utiliser les focales les plus courtes et n'arrivera pas à atteindre une profondeur de champ suffisante pour avoir l'entièreté du sujet nette. Elle se justifie également pour le reportage vidéo : grande profondeur de champ et donc mise au point plus simple, en plus d'une réduction de la taille des objectifs.
Les petits capteurs sont présents dans les appareils de petite taille, comme les smartphones, afin de réduire la taille des focales et par conséquent l'encombrement de l’objectif : la grande profondeur de champ qu'ils offrent peut parfois être considéré comme un inconvénient.
Hyperfocale
Dans certaines circonstances, il peut être intéressant de prérégler la mise au point afin de pouvoir prendre une photographie plus rapidement. Si le photographe ne sait pas où va apparaître le sujet, il a intérêt à disposer d'une profondeur de champ maximale. Pour une ouverture, une focale et une surface photosensible données, la distance hyperfocale est la distance de mise au point qui permet d'obtenir la plus grande profondeur de champ : cette dernière s'étend alors de la moitié de la distance hyperfocale à l'infini. Sur l'illustration faisant apparaître l'échelle de profondeur de champ, on constate qu'un réglage d'ouverture f/22 pour une mise au point sur une distance de 1,6 m permettrait d'obtenir une profondeur de champ allant de 0,8 m à l'infini.
Remarques supplémentaires
- Lorsque la mise au point a été faite sur un sujet, la zone nette est moins importante devant le sujet que derrière lui.
- Pour un même cadrage sur un sujet donné (s'il s'agit, par exemple, de cadrer un visage), la profondeur de champ est à peu de chose près identique quelle que soit la distance. Le fait de se reculer (qui aurait pour conséquence d'augmenter la profondeur de champ à focale égale) est compensé par le fait de zoomer pour retrouver le même cadrage (ce qui diminue la profondeur de champ).

- On peut compenser le manque de profondeur de champ par la technique du focus stacking, qui consiste à prendre plusieurs photos avec un léger décalage de mise au point à chaque photo et à fusionner les parties nettes de chaque photos.
- Le sténopé est un appareil très rudimentaire dépourvu d'objectif. Un petit trou est situé face à la surface sensible. Si ce trou est trop gros, l'image est floue ; s'il est trop petit, le temps de pose devient prohibitif et la diffraction produit de gros dégâts. L'image donnée par un sténopé n'est jamais vraiment nette, de sorte que la notion de profondeur de champ ne s'applique pas vraiment, ou alors avec une tolérance angulaire énorme par rapport aux usages classiques. En revanche, le flou de l'image est homogène et donne alors l'impression, tant qu'il reste raisonnable, d'une profondeur de champ infinie.
Approche théorique
Avertissement
Les différentes formules qui suivent reposent sur des hypothèses bien définies mais parfois fort éloignées des situations pratiques, voire impossibles à respecter.
Louis-Philippe Clerc (La Technique photographique, 2e édition, 1934) disait : « On ne saurait trop insister sur le caractère arbitraire de tels calculs, basés sur la conception artificielle de rayons lumineux ; cette conception, destinée à faciliter l'application à l'optique des règles de la géométrie, même dans certains cas où elles ne sont plus applicables, amène fréquemment à des conclusions en antagonisme avec les prévisions de l'optique physique, dûment vérifiées par l'expérience ; en particulier, dans le cas considéré, l'optique géométrique ne tient pas compte d'un facteur essentiel, la répartition de la lumière à l'intérieur des taches-images. »
Ces calculs de la profondeur de champ peuvent être effectués par des logiciels facilement disponibles sur Internet[1].
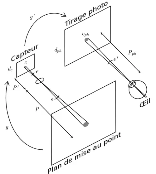
Définition de la netteté
L'objectif d'un appareil photographique est le système optique qui permet de former l'image d'une scène sur une surface photosensible (pellicule argentique ou le capteur électronique). Plus le plan objet est éloigné, plus l'image se forme près du plan focal. Faire la mise au point consiste alors à placer le capteur photographique à la bonne distance du plan focal de l'objectif pour choisir le plan de la scène que l'on veut voir net. Pour les autres plans, l'image se focalise en avant du capteur ou après le capteur : l'image récupérée par le capteur est en toute rigueur floue. Cependant, l’œil (ou un autre système optique) acceptera une marge d'erreur qui permet de définir non plus un seul plan net mais un volume de netteté.
Observation finale

La perception de la netteté d'une image est intimement liée au pouvoir séparateur de l’œil, autrement dit à l'acuité visuelle, ou éventuellement du système optique d'analyse. Nous noterons l'angle qui caractérise le pouvoir séparateur : il indique l'angle maximum qui sépare deux points qui ne peuvent pas être distingués. Cet angle est très faible : pour l’œil humain une valeur d'une minute d'arc, 1' ≈ 3 × 10−4 rad ≈ 1⁄3 000 rad[2], correspond à une acuité visuelle de 10/10[3], mais d'autres valeurs, un peu plus importantes peuvent être utilisées pour des applications moins exigeantes. La valeur de la tangente de cet angle peut donc être assimilée à sa valeur en radians par linéarisation (développement limité d'ordre 1) :
- ,
avec la taille maximale admissible pour un détail qui doit être perçu comme un point et la distance depuis laquelle est observée la photographie.
De la surface photosensible au format final
Il y a un facteur de grandissement entre l'image formée sur le capteur et l'image finale, qui vaut avec la taille de la photographie et la taille du capteur. La taille maximale admissible pour un détail sur le capteur sera alors : est appelé diamètre du cercle de confusion :
- .
Il est difficile de connaître l'utilisation finale d'un appareil photographique pour le fabricant. Certains fournissent tout de même des valeurs arbitraires pour le diamètre du cercle de confusion jugées adaptées à une utilisation courante.
En adoptant la valeur et pour une observation à distance confortable de lecture, c'est-à-dire environ , l’œil humain ne peut distinguer deux points séparés de moins de . Si le tirage photographique est un format 10 × 15 cm des plus courants, et le capteur photographique « plein format » 24 × 36 mm, alors la taille du plus petit détail sur le capteur serait d'environ : cette valeur correspond au diamètre du cercle de confusion, plus gros cercle formé sur le capteur qui sera perçu comme un point sur le tirage final.
En pratique, pour un capteur 24 × 36, une valeur comprise dans l'intervalle 0,025–0,035 mm est utilisée[4],[5] par défaut pour le calcul des tables de profondeur de champ. En cinéma super 35 mm, une valeur de 0,025 mm est souvent employée[6].
Prise de vue
La tache qui se forme sur le capteur, de dimension égale au diamètre du cercle de confusion , est reçue sous un angle limite de netteté suffisamment petit pour être assimilé à sa tangente : . La distance est liée à la distance focale et à la distance de mise au point par la relation de conjugaison et la relation du grandissement. On peut écrire si bien que l'angle limite du point de vue l'objectif est :
- .
Pour respecter les distances orthoscopiques, il faut que soit égal à : ceci permettrait de voir sur la photographie finale la même chose que l’œil placé au même en droit que l'appareil de prise de vue. Pour une mise au point à l'infini, la focale utilisée est la focale normale : . Cette notation simplifie l'expression de la relation dans le cas où les distances orthoscopiques ne sont pas respectées :
- .
Connaître la valeur de l'angle limite de netteté permet de calculer la distance hyperfocale utile au calcul de la profondeur de champ.
Détermination de la profondeur de champ

Distance de mise au point
La distance de mise au point peut être définie de deux façon différentes.
- De façon courante, la distance indiquée sur la bague de mise au point est la distance qui sépare le sujet sur lequel la mise au point est faite et le plan de la surface photosensible (capteur ou pellicule). Sur certains appareils, comme sur la photographie ci-contre, une marque indique la position du plan du capteur.
- En optique photographique, l'objectif étant modélisé par un système centré, il est plus commode d'utiliser la distance qui sépare l'objet, sur lequel la mise au point est faite, du plan principal objet (les points principaux sont confondus avec les points nodaux pour un objectif photographique). Cette définition, qui permet d'appliquer facilement la relation de conjugaison, sera utilisée pour les calculs qui seront effectués plus loin.
Pour des mises au point éloignées, on peut d'abord négliger la distance qui sépare les plans principaux devant la distance de mise au point, ce qui revient à modéliser l'objectif par une lentille mince. Ensuite, on néglige également la distance qui sépare le plan principal image et le plan de la surface photosensible : les relations mathématiques présentées plus loin fourniront des résultats satisfaisants quelle que soit la façon dont la distance de mise au point est définie.
En revanche, dans le cas de la proxiphotographie ou de la macrophotographie, les distances évoquées précédemment ne sont plus négligeables. L'objectif ne peut plus être considéré comme une lentille mince. Il est alors important de bien savoir situer l'origine des distances. Certains appareils intègrent un indicateur permettant de connaître la position du capteur, comme nous pouvons le voir sur la photographie ci-contre surligné en bleu. Il faut bien veiller dans ce cas à utiliser des formules prenant leur origine au plan du capteur et non au plan principal.
Prise de vue courante
Notations et hypothèse simplificatrices
Dans les cas les plus courants en photographie, la distance de mise au point est très supérieure à la focale et l'objectif peut être modélisé de façon acceptable[7] par une lentille mince de centre optique et de foyers objet et image . Le diaphragme d'ouverture est supposé accolé à la lentille. Les distances sont toutes positives.
- est la distance focale image.
- est la distance de mise au point.
- est la distance du premier plan net (PPN).
- est la distance du dernier plan net (DPN).
Les notations concernant l'ouverture du diaphragme sont les suivantes.
- : diamètre de pupille.
- : nombre d'ouverture.
Limite de netteté.
- est l'angle de limite de netteté du point de vue de l'appareil photographique.
- est le diamètre du cercle de confusion.
Calculs de la profondeur de champ
Pour une surface sensible donnée et une utilisation associée, la profondeur de champ ne dépend que de la focale , de l'ouverture et de la distance de mise au point [8]. Les calculs sont détaillés dans l'annexe 1.

1. la distance de mise au point ;
2. la focale ;
3. l'ouverture du diaphragme.
| Hyperfocale | |
|---|---|
| Premier plan net (PPN) | |
| Dernier plan net (DPN) | si ,
sinon le dernier plan net est rejeté à l'infini : . |
| Profondeur de champ (PDC) | si ,
sinon la profondeur de champ s'étend jusqu'à l'infini : . |
Pour un capteur plein format, le diamètre du cercle de confusion est souvent estimé à 30 μm. Si on utilise une focale de 50 mm et qu'on effectue une mise au point à 5,0 m avec une ouverture f/1,4, il est alors possible de calculer la distance hyperfocale qui sert alors d'intermédiaire de calcul pour obtenir les premier et dernier plans nets.
La profondeur de champ s'étend de 4,6 m à 5,5 m.
Recherche des réglages connaissant la profondeur à obtenir
Si la netteté doit s'étendre de la distance à la distance , la mise au point doit être faite dans tous les cas à la distance :
| . |
avec comme ouverture maximale du diaphragme :
| . |

On veut photographier un sujet dont les divers éléments intéressants sont compris entre 1,5 m et 3,0 m, avec un objectif de focale 50 mm (0,050 m) et une netteté angulaire de 1/1500 rad.
- et .
Si l'objectif dont on dispose (exemple ci-contre) est muni d'une échelle de profondeur de champ on peut se servir de celle-ci : de part et d'autre du losange qui sert de repère pour les échelles de distance et de diaphragme, on observe des traits symétriques portant des valeurs de diaphragme, 4, 8 et 16. En tournant la bague de mise au point de façon que les repères 1,5 m et 3 m deviennent symétriques par rapport au losange, on fait la mise au point sur 2 m. De plus, les deux repères se trouvent quelque part entre les graduations d'ouverture 11 (nombre non gravé) et 16. Avec 12,5, le calcul fournit un résultat convenable.
Macrophotographie
Dans le cas d'une prise de vue rapprochée il n'est plus possible de négliger la distance focale devant la distance de mise au point. En outre, le modèle de la lentille mince ne suffit plus pour modéliser l'objectif. On peut le modéliser de façon bien plus précise par un système centré dont il est nécessaire de connaître le grandissement pupillaire . La profondeur de champ, dont les calculs sont détaillés en annexe 2, est plus simple à exprimer en fonction du grandissement[9] :
| . |
Le grandissement peut être facilement déduit de la distance de mise au point par .
Notations utilisées
- est la distance focale image.
- est la distance de mise au point : distance entre le plan de mise au point et le plan principal objet.
- est le grandissement transversal en valeur absolue.
- est le diamètre du cercle de confusion.
- est le diamètre de pupille d'entrée.
- est le diamètre de pupille de sortie.
- est le grandissement pupillaire.
- est le nombre d'ouverture.
Annexe 1 : détail des calculs pour une lentille mince
Modèle et notations utilisées
L'objectif est modélisé par une lentille mince de centre optique et de foyers objet et image .

Les distances algébriques, telles qu'elles sont utilisées en physique dans le domaine de l'optique seront notées en minuscule et exprimée en mètre. Elles prennent une valeur positive si elles sont orientées dans le sens conventionnel de propagation de la lumière, c'est-à-dire de la gauche vers la droite. Elles prennent une valeur négative dans le cas contraire.
- est la distance focale image.
- est la distance algébrique entre le centre optique et l'objet de l'axe optique sur lequel la mise au point est effectuée.
- est la distance algébrique à laquelle se situe le premier plan net (PPN) ; est l'intersection de ce plan avec l'axe optique.
- est la distance algébrique à laquelle se situe le dernier plan net (DPN).
- est la distance algébrique entre le centre optique et l'image du point : le point est situé dans le plan du capteur compte tenu de la mise au point effectuée.
- est la distance algébrique entre le centre optique et l'image du point .
- est la distance algébrique entre le centre optique et l'image du point .
Ces distances sont liées entre elles par la relation de conjugaison :
- ; ; .
Les distances euclidiennes, non orientées, telles qu'elles sont utilisées dans les manuels de photographie et en géométrie, seront notées en majuscule. Elles prennent des valeurs toujours positives.
- est la distance de mise au point.
- est la distance du premier plan net (PPN).
- est la distance du dernier plan net (DPN).
- etc.
Les notations concernant l'ouverture du diaphragme sont les suivantes.
- : diamètre de pupille.
- : nombre d'ouverture.
Limite de netteté.
- est l'angle de limite de netteté du point de vue de l'appareil photographique.
- est le diamètre du cercle de confusion.
Calcul en fonction de l'angle limite de netteté
Il est plus simple pour les calculs d'exprimer les PPN et DPN en fonction de l'angle limite de netteté . En effet, dans ce cas, la distance hyperfocale peut se définir sans ambiguïté par :
- .
Il faut cependant garder à l'esprit que dépend de la distance de mise au point selon :
- .
Dans le cas où , on aboutit à l'approximation classique . Dans les cas de prise de vue plus rapprochée, l'approximation n'est plus satisfaisante ; le modèle de la lentille mince devient lui aussi trop simplifié : il peut être nécessaire d'utiliser comme modèle un système centré, comme présenté en annexe 2.
Calcul de la position du premier plan net P1
D'après le théorème de Thalès dans le triangle rouge côté image :
- .
À partir de la relation de conjugaison, on peut écrire que et , ce qui permet d'écrire :
- .
Par ailleurs,
- .
En utilisant les deux égalités précédentes, il vient :
- .
En utilisant les distances euclidiennes la relation peut s'écrire :
- .
On obtient la position du premier plan net en fonction de la distance de mise au point et de la distance hyperfocale :
| . |
Calcul de la position du dernier plan net P2
En suivant le même raisonnement mais en partant du théorème de Thalès dans le triangle bleu, il vient :
À partir de la relation de conjugaison, on peut écrire que et , ce qui permet d'écrire :
- .
Ce qui mène à
- ,
et qui équivaut à
- .
On obtient la position du dernier plan net en fonction de la distance de mise au point et de la distance hyperfocale :
| . |
Calcul de la profondeur de champ ΔP
En effectuant la différence entre la position du DPN et du PPN :
- ,
| . |
Relation de la profondeur de champ
Des résultats précédents, on peut déduire que :
| . |
Connaissant P1 et P2
En manipulant la relation précédente, on peut écrire :
| . |
Cette relation peut aussi mener à
- ,
permettant d'exprimer l'ouverture en fonction de la focale et des premier et dernier plans nets :
| . |
Calculs en fonction du diamètre du cercle de confusion
Les calculs sont plus compliquées à mener et les formules obtenues un peu plus délicates à utiliser.
Calcul de la position du premier plan net P1
D'après le théorème de Thalès dans le triangle rouge côté image :
- .
À partir de la relation de conjugaison, on peut écrire que et , ce qui permet d'écrire :
- .
Par ailleurs,
- .
En utilisant les deux égalités précédentes, il vient :
- .
En posant comme définition de l'hyperfocale (ce qui est légèrement différent de l'expression utilisée dans le paragraphe précédent) et en utilisant les distances euclidiennes la relation peut s'écrire :
- .
Hypothèse simplificatrice. Dans la plupart des situations en photographie, on considère que , ce qui aboutit à la relation présentée dans cet article :
| . |
Cette hypothèse ne serait plus valable si à la fois la distance de mise au point et l'hyperfocale était si petites qu'on ne pourrait plus négliger mais cette situation ne se présente jamais. Pour un capteur 24 × 36 (cercle de confusion de 0,030 mm), une focale de 50 mm et une ouverture f/32, l'hyperfocale diminue jusqu'à 2,6 m. L'erreur commise en effectuant l'approximation est au maximum de 2 % environ pour une mise au point à 0,1 m : . À une distance si proche, le modèle de la lentille mince ne suffit de toute façon plus vraiment. L'erreur diminue néanmoins pour des mises au point plus éloignées.
Calcul de la position du dernier plan net P2
En suivant le même raisonnement mais en partant du théorème de Thalès dans le triangle bleu, il vient :
À partir de la relation de conjugaison, on peut écrire que et , ce qui permet d'écrire :
- .
Ce qui mène à
- .
et qui équivaut à
- .
Hypothèse simplificatrice. L'approximation est moins évident pour le dernier plan net. En effet, pour simplifier cette relation, il faut considérer que ce qui est d'autant moins valable que la distance de mise au point se rapproche de l'hyperfocale. Cependant si ces conditions sont respectées, on aboutit à la relation simplifiée présentée dans cet article.
| . |
Toujours pour un capteur 24 × 36 (cercle de confusion de 0,030 mm), une focale de 50 mm et une ouverture f/32 et donc un hyperfocale de 2,6 m, l'erreur est de 2 environ pour une distance de mise au point de 0,1 m puis augmente à mesure que la distance de mise au point s'approche de l'hyperfocale ( environ à une distance de 2 m). Cette hypothèse est donc mal adaptée aux situations de faible ouverture associées qui présentent un hyperfocale relativement petite.
Calcul de la profondeur de champ ΔP
En effectuant la différence entre la position du DPN et du PPN :
| . |
Autre formulation en posant et on peut retrouver l'expression de la profondeur de champ en fonction de l'ouverture, du grandissement et de la focale :
- ,
| . |
Autre formulation encore, en fonction de et en posant :
- ,
| . |
Récapitulatif
| En fonction de l'angle limite de netteté | En fonction du diamètre du cercle de confusion | |
|---|---|---|
| Hyperfocale | En posant | En posant ce qui est légèrement différent |
| Premier plan net (PPN) | ||
| Dernier plan net (DPN) | si ,
sinon le dernier plan net est rejeté à l'infini : . |
si ,
sinon la profondeur de champ s'étend jusqu'à . |
| Profondeur de champ (PDC) | si ,
sinon la profondeur de champ s'étend jusqu'à . |
si ,
sinon la profondeur de champ s'étend jusqu'à . |
| si ,
sinon la profondeur de champ s'étend jusqu'à . |
si ,
sinon la profondeur de champ s'étend jusqu'à . |
Annexes 2 : détail des calculs pour un système centré
Notations utilisées
L'objectif est modélisé par système centré
- de foyers objet et image
- de points principaux objet et image confondus avec les points nodaux objet et image . Attention à ne pas confondre point principal et hyperfocale qui sont représentés par le même symbole.

Les distances algébriques, telles qu'elles sont utilisées dans le domaine de l'optique seront notées en minuscule et exprimée en mètre. Elles prennent une valeur positive si elles sont orientées dans le sens conventionnel de propagation de la lumière, c'est-à-dire de la gauche vers la droite. Elles prennent une valeur négative dans le cas contraire.
- est la distance focale image.
- est la distance algébrique entre le plan principal objet et l'objet de l'axe optique sur lequel la mise au point est effectuée.
- est la distance algébrique à laquelle se situe le premier plan net (PPN) du plan principal objet ; est l'intersection de ce plan avec l'axe optique.
- est la distance algébrique à laquelle se situe le dernier plan net (DPN) du plan principal objet.
- est la distance algébrique entre le plan principal image et l'image du point : le point est situé dans le plan du capteur compte tenu de la mise au point effectuée.
- est la distance algébrique entre le plan principal image et l'image du point .
- est la distance algébrique entre le plan principal image et l'image du point .
- est le grandissement transversal.
Les notations concernant l'ouverture du diaphragme sont les suivantes.
- : diamètre de pupille d'entrée.
- : diamètre de pupille de sortie.
- est la distance qui sépare le point principal image et le centre de la pupille de sortie.
- est la distance qui sépare le point principal objet et le centre de la pupille d'entrée.
- : nombre d'ouverture.
- est le grandissement transversal.
Limite de netteté.
- est le diamètre du cercle de confusion.
- est l'angle du pouvoir séparateur de l’œil.
- est l'angle de limite de netteté du point de vue de l'appareil photographique.
Ces distances sont liées entre elles par la relation de conjugaison :
- ; ; ; .
On pourra utiliser les relations suivantes déduites des précédentes :
- ; ;
- ; ;
- ;
- .
Calcul de la position du premier plan net p1
D'après le théorème de Thalès dans le triangle rouge :
- .
À partir de la relation de conjugaison, on peut écrire que et , ce qui permet d'écrire :
- .
On peut alors isoler
- .
En l'exprimant à partir du grandissement plutôt que de la distance de mise au point, sachant que :
- .
- .
Calcul de la position du dernier plan net p2
D'après le théorème de Thalès dans le triangle bleu :
- ,
- .
On peut alors isoler
- .
En l'exprimant à partir du grandissement plutôt que de la distance de mise au point, sachant que :
- .
Calcul de la profondeur de champ ΔP
En cherchant la distance qui sépare les premier et dernier plans nets, on obtient la profondeur de champ :
- .
En l'exprimant plutôt à partir du grandissement plutôt que de la distance de mise au point, sachant que :
- .
Soit en simplifiant :
- .
Dans le cas de la macrophotographie, , en effet la valeur est souvent arrondie à 1/1500 et le grandissement est proche de 1. On obtient ainsi le résultat présenté dans l'article :
| . |
Récapitulatif des résultats
| En fonction de la distance de mise au point | En fonction du grandissement | |
| Premier plan net (PPN) | ||
| Dernier plan net (DPN) | ||
| Profondeur de champ (PDC) | ||
| Approximation
pour un objectif symétrique. |
||
| Approximation
pour une prise de vue éloignée |
Notes et références
- ↑ (en) « Depth of Field Calculator », sur dofmaster.com (consulté le )
- ↑ Bernard Balland, Optique géométrique : imagerie et instruments, Lausanne, Presses polytechniques et universitaires romandes, , 860 p. (ISBN 978-2-88074-689-6, lire en ligne), p. 431
- ↑ Bases Cliniques de la Sensorio-Motricité Oculaire sur Google Livres
- ↑ Digital Photography for Next to Nothing sur Google Livres
- ↑ Zeiss utilise la valeur de 0,029 mm pour ses tables de profondeur de champ : [PDF] documentation technique Planar T* 1,4/85. Canon utilise la valeur de 0,030 mm pour son logiciel de calcul.
- ↑ Angénieux et Cooke utilisent la valeur 0,025 mm pour le calcul de leurs tables de profondeur de champ pour des capteurs au format Super 35 mm : [PDF] Documentation technique du zoom OPTIMO 16 - 40 ; [PDF] Cooke Lenses Depth of Field Tables.
- ↑ Les limites de cette hypothèse seront détaillées en annexe 2.
- ↑ Canon Eos 5D Mark III sur Google Livres
- ↑ (en) « Derivation of the DOF equations » (consulté le )
Voir aussi
Articles connexes
Bibliographie
- Louis-Philippe Clerc, La technique photographique, Paris, Paul Montel, , 2e éd.
- Jean Cruset, Leçons d'optique appliquée et de photographie, Paris, École nationale des sciences géographiques, , 4e éd., 327 p. (OCLC 25141627)
- André Moussa et Paul Ponsonnet, Cours de physique : optique, Lyon, André Desvigne, , 7e éd.
- Gérard de Vaucouleurs, Jean Dragesco et Pierre Selme, Manuel de photographie scientifique, Éditions de la Revue d'optique, Paris, 1956
- Pierre-Marie Granger, I sur O : L'optique dans l'audiovisuel : Cinéma, Photo, Vidéo, Paris, 1981 ; VM Éditions, Paris, 1986
- Louis Gaudart et Maurice Albet, Physique photographique, Lyon, Le temps apprivoisé, , 350 p. (ISBN 2-283-58285-7, OCLC 37124734), partie III, chap. 9 (« Profondeur de champ »)
Liens externes
- La profondeur de champ - 35mm-compact.com
- (en) Depth of Field Calculator - Dofmaster.com
- Maîtriser la profondeur de champ - Rémy Gautard, Studio-plus.fr,
- La profondeur de champ au cinéma - Christopher Guyon, Devenir-realisateur.com,
- Notices dans des dictionnaires ou encyclopédies généralistes :
- Portail de la photographie
- Portail du cinéma
- Portail de l’optique