Pyramide de Khéphren

| Commanditaire | ||||||||||
|---|---|---|---|---|---|---|---|---|---|---|
| Autre nom |
Wer Khâfrê, Wr Ḫʿ=f-Rʿ (« Khâfrê est grand ») | |||||||||
| Nom (hiéroglyphes) | ||||||||||
| Type | ||||||||||
| Hauteur |
143,87 mètres | |||||||||
| Base |
215,73 mètres 410 coudées | |||||||||
| Inclinaison |
53° 07′ 48″ | |||||||||
| Pente |
4/3 | |||||||||
| Coordonnées |
29° 58′ 32″ N, 31° 07′ 52″ E |

| Pyramide de Khéfren | |||||||||||
| wr-n-Ḫʕ.f-Rʕ |
La pyramide de Khéphren est la deuxième pyramide d'Égypte en taille. Dominant un complexe composé de deux temples reliés par une chaussée et d'une pyramide satellite, elle est de type à faces lisses et fut élevée sous la IVe dynastie durant l'Ancien Empire pour le pharaon Khéphren, fils de Khéops.
Elle se dresse sur le plateau de Gizeh au sud-ouest de celle de son père. Elle est sans doute la plus facile à reconnaître car son sommet est encore couvert de calcaire. Légèrement plus petite que celle de Khéops, elle paraît pourtant plus haute car érigée sur une proéminence rocheuse avec un angle d'inclinaison supérieur à celui de la Grande pyramide. Le temps a également préservé un temple d'accueil dont la sobriété et la composition subtile des matériaux constituent un véritable joyau de l'Ancien Empire.
Complexe funéraire
_fr.svg.png)

Le complexe funéraire de Khéphren est en bien meilleur état que celui de Khéops et comporte notamment un magnifique temple en granit rose d’Assouan. Il ne s’agit pas du temple funéraire à proprement parler, dont on n’a retrouvé que les fondations, mais de celui qui était au bout de la chaussée funéraire menant au monument. Appelé « temple de la vallée », comme tous ceux qui se situent près du Nil, il servait à accueillir le sarcophage du défunt après la traversée du fleuve.
Les deux temples étaient reliés par une longue chaussée couverte longue de 495 mètres[1]. Une petite pyramide satellite, sans doute destinée au Ka du souverain[2], prenait place au sud de la pyramide principale. Les vestiges d'un village d'ouvriers et d'une carrière liés à la construction du complexe sont toujours visibles à l'ouest et au nord-ouest du monument.
Le sphinx faisait peut-être partie du complexe funéraire.
Pyramide

Superstructure


La base de la pyramide est un carré de 215,16 mètres de côté[3] (soit 410 coudées) dont l'erreur maximale, pour obtenir un carré parfait, est de plus ou moins huit centimètres[3]. Le parallélisme est presque parfait à 1′ 15″ près[3]. Les faces sont orientées suivant les quatre points cardinaux avec une erreur de seulement 5′ 26″[3],[note 1]. Une torsion des faces due à la mise en œuvre ramène cette erreur à 3′ 46″ au niveau de la plateforme du sommet[3]. L'angle d'inclinaison des faces, de 53° 10′ ou de 52° 02′[3], est très proche de la valeur théorique correspondant à une pente de 4/3[4]. Cette pente est celle du triangle égyptien (triangle rectangle 3, 4, 5, pente théorique de 53° 07′ 48″), mentionnée dans quatre sections du papyrus Rhind (voir Mathématiques dans l'Égypte antique). La pyramide s'élevait à l'origine à 143,87 mètres[3]. Elle fut recouverte d'un parement de calcaire fin de Tourah dont il ne reste aujourd'hui que les quarante-cinq derniers mètres.

Les premières assises étaient, quant à elles, parées de blocs de granite rose[note 2]. Le pyramidion a disparu et aucun indice ne permet de conclure s'il fut en granite, en calcaire, en or ou en albâtre.
La maçonnerie du nucléus est plus grossière que sur la pyramide de Khéops et ne comporte aucun mortier (seuls les blocs de revêtement furent fixés avec du mortier liquide). La pyramide repose sur un massif rocheux naturel dont la roche est visible le long des faces nord, sud et est. Lors de la construction, un aplanissement du massif a dû être entrepris réduisant par endroits des variations de niveau allant de dix et vingt coudées (environ cinq et dix mètres). L'irrégularité du sol a été ensuite ajustée à l'aide d'énormes blocs de pierres avant l'édification. C'est une nouveauté : sur les sites pyramidaux précédents, le monument épousait la forme du sol.
Appartements funéraires
![]() |
![]() |
Deux entrées situées au nord de la pyramide, permettent l'accès aux appartements funéraires, une sur la face du monument et l'autre dans la cour. Une troisième entrée fut pratiquée par des voleurs à près de 8,50 mètres du niveau du sol[5], au centre de la face nord. Une galerie s'enfonce alors dans la pyramide et, par de multiples détours, rejoint la galerie supérieure, en un endroit situé après le passage à herse et menant directement à la chambre funéraire. Cette galerie pénétrant le nucléus décrit plus haut, reste un accès dangereux de par l'instabilité de la maçonnerie dans laquelle elle fut creusée.
Niveaux supérieurs
L'entrée originelle de la face nord était située (quand le parement était encore intact) à 12,90 mètres[5] du niveau du sol et décalée de l'axe de la pyramide de 12,45 mètres[5] vers l'est. Il semble qu'elle n'ait jamais été couverte d'une voûte comparable à celle qui couvre l'entrée de la pyramide de Khéops. Tout ici rappelle les appareillages de la pyramide rouge à Dahchour. Le corridor est long de trente-sept mètres et est incliné d'un angle de 26° 30′[note 3]. Ce couloir descendant avait ses faces entièrement recouvertes de blocs de granite rose. Il aboutit à un couloir horizontal débutant par un passage à herse dont un motif simple mais singulier, une moulure sculptée, décore le plafond juste après la jonction entre le couloir descendant et le passage à herse. La herse de granite fut découverte au début du XIXe siècle par l'italien Belzoni, abaissée jusqu'à vingt centimètres du sol[6]. La herse mesure, selon l'italien, 1,83 mètre de hauteur[6] et trente-sept centimètres d'épaisseur[6]. Les constructeurs avaient prévu une large rainure dans le sol afin que la herse s'y engage et qu'il soit impossible d'y introduire un levier[note 4]. Belzoni parvint à la soulever et à s'introduire dans le couloir horizontal. Ce dernier est maçonné dans une tranchée qui fut creusée à ciel ouvert sur une longueur de onze mètres puis devient complètement souterrain sur sa majeure partie. Ce corridor haut de 1,78 mètre mène droit à la chambre funéraire[6].

Peu après la partie maçonnée se trouve un embranchement vertical permettant d'emprunter une descenderie menant à la chambre inférieure. Cet endroit offre des particularités architecturales qui ont inspiré la théorie du journaliste français Jean-François Sers[7] selon laquelle le plafond de la partie maçonnée est en étroite corrélation avec le passage perforé. Ce plafond dissimulerait, selon lui, un accès à des appartements hypothétiquement situés dans le massif de la pyramide. Les architectes Vito Maragioglio et Celeste Rinaldi y voient plutôt un premier projet avorté de descenderie menant à la chambre inférieure[8]. Selon eux, les architectes égyptiens auraient mal évalué les distances et auraient décidé de creuser ce corridor un peu plus au sud (la descenderie actuelle) de même inclinaison que le passage perforé. Ce dernier fut ensuite comblé par les Égyptiens de blocs soigneusement maçonnés. Cette maçonnerie fut dégagée au XIXe siècle.

Le couloir horizontal aboutit à la grande chambre funéraire excavée dans la roche et couverte de dix-sept paires de grands blocs de calcaire disposés en chevrons[note 5], la protégeant des 143,87 mètres de pierres situés au-dessus. Le sol de la chambre n'est autre que la roche naturelle sur sa partie est tandis que la partie ouest fut recouverte de blocs de granit parmi lesquels s'insérait le sarcophage taillé dans un seul bloc de la même matière. Ce dernier est très semblable au sarcophage de Khéops mais de bien meilleure facture (Petrie n'a relevé comme variation maximale de polissage que deux millimètres[9], Pyramids and temples of Gizeh). Une petite cavité soigneusement taillée dans le sol, au sud de la chambre, servait sans doute d'emplacement au coffre à canopes dont Belzoni fit la description mais aujourd'hui disparu. Dans les murs sud et nord se trouvent deux cavités carrées taillées, sur respectivement trente-trois et quarante-trois centimètres[10]. Elles sont reliées virtuellement au sol par deux lignes tracées à l'encre rouge. L'ingénieur John Shae Perring les compara aux canaux dits de « ventilation » présents dans la chambre de la reine et la chambre du roi de la pyramide de Khéops et en fit une tentative avortée de creusement de canaux d'aérations[10]. Or, il est fortement improbable que les Égyptiens aient tenté de creuser des canaux aussi étroits dans la roche sans avoir la possibilité de s'y glisser et d'y progresser[note 6]. Selon Ludwig Borchardt, ces encoches servirent de supports à une poutre ayant servi à quelques manœuvres de blocs dans la chambre funéraire. Vito Maragioglio et Celeste Rinaldi le mettent en défaut en y voyant un support de séparation partageant la crypte en une chambre funéraire et un serdab[10]. Enfin, Belzoni prétend avoir trouvé des os d'animaux dans le sarcophage[11]. La chambre funéraire est un peu décalée par rapport à l'axe central de la pyramide. Petrie et Perring ont situé cet axe au sud de la chambre funéraire et la plupart des auteurs reprennent cette constatation. Plus récemment, Vito Maragioglio et Celeste Rinaldi positionnent l'apex à l'ouest de la chambre funéraire.
Le sarcophage de Khéphren.
Inscription de Belzoni dans la chambre funéraire.
La chambre funéraire.
L'embranchement.
Niveau inférieur
Il existe également une autre entrée située au pied de la face nord de la pyramide, jadis dissimulée par le pavement de la cour et alignée suivant la verticale avec la première entrée. Elle ouvre sur un couloir descendant que les Égyptiens avaient complètement bouché avec de gros blocs de calcaire. Aujourd'hui complètement dégagé, ce corridor incliné de 21° 40′[12] débouche sur un couloir horizontal initialement bloqué par une herse de granite semblable à celle du niveau supérieur. Avec 1,82 mètre[12], ce couloir est plus haut que la descenderie. Une grande niche fut soigneusement taillée dans son mur est et face à celle-ci se trouve l'entrée à la chambre inférieure accessible par une courte descenderie. Cette chambre dont les dimensions sont un peu en deçà de celles de la chambre funéraire, est vide. Entièrement souterraine, son plafond prend la forme d'une voûte en chevrons[note 7]. Des traces d'humidité indiquent que la chambre souterraine fut inondée à une époque inconnue jusqu'à une hauteur de trente centimètres[13]. La descenderie menant à cette chambre fut séparée du couloir horizontal par une porte à double battants[note 8]. Ces appartements souterrains sont reliés au niveau supérieur par la descenderie aboutissant à l'embranchement.
Recherche de chambres cachées
Une mission scientifique hors du commun fut menée, de manière très confidentielle, dans la pyramide de Khéphren de 1967 à 1968 par le prix Nobel de physique Luis Walter Alvarez. Aidé en cela de nombreux techniciens non issus du milieu égyptologique, cette expédition fut baptisée Giza Project 1968 et Join Pyramid Project puisqu'elle réunissait des experts américains et égyptiens. Très coûteuses, ces recherches consistaient à détecter des chambres cachées dans le massif de la pyramide en captant certaines particules du rayonnement cosmique, les muons quasi-verticaux. Ces muons, en traversant la matière, perdent plus ou moins d'énergie selon que l'épaisseur traversée est plus ou moins importante. Il suffit donc de photographier l'impact d'un muon, et de quantifier son énergie. Le professeur Alvarez installa son imposant matériel (le plus sophistiqué de l'époque) dans la chambre funéraire. Ces recherches, alors très avant-gardistes, se conclurent par un échec. Le physicien, par cette méthode, ne détecta aucune chambre. Les résultats et la procédure employée furent par la suite critiqués. En effet, Alvarez ne prit en compte qu'une densité uniforme de pierre, celle du calcaire, c'est-à-dire 1,8 g/cm2. Or, il ignorait à l'époque que la structure interne d'une pyramide pouvait comporter du granite de densité supérieure, c'est-à-dire 2,7 g/cm2. Le physicien soutint pourtant que, malgré cela, une structure en granite aurait été détectée par sa méthode. Il pensa également, que la détection de muons horizontaux, donnant des résultats plus précis, permettrait de confirmer ses résultats. Le manque de données et les connaissances insuffisantes sur la structure d'une pyramide invalideraient, pour certains, les résultats mal interprétés par le physicien. Cependant, cette expédition constitua une première dans l'histoire de l'égyptologie et de l'archéologie en général[14]. Plus récemment, en 2000, l'architecte Gilles Dormion a détecté plusieurs anomalies significatives par des mesures de micro-gravimétrie et de géo-radar[15]. L'une d'elles serait provoquée, selon lui, par la présence d'une grande cavité.
Depuis octobre 2015, la pyramide de Khéphren est inscrite au programme de ScanPyramids : un projet international d’exploration[16] de quatre grande pyramides égyptiennes, initié par le HIP Institute (Héritage - Innovation - Préservation) en collaboration avec la Ingeneer Faculty de l’université du Caire, sous la coordination et l’autorité du Conseil suprême des Antiquités égyptien[17].
Pyramide satellite

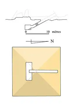
La petite pyramide satellite nommée G2A, située au sud de la pyramide de Khéphren, est totalement arasée. Construite en calcaire, l'inclinaison de ses faces devait être d'environ 53°-54°[2]. Ces infrastructures, dressées sur un plan très simple en T, consistent en une descenderie creusée à même le roc et aboutissant à une petite chambre qui semble n'avoir contenu aucun sarcophage[2]. Des ossements d'animaux, des scellements et des pièces de bois ont été découverts en cet endroit[2]. L'égyptologue Ahmed Youssef a reconstitué ces fragments. Il s'agit en fait d'un reposoir divin, un type d'autel supportant à l'origine une statue. Par ailleurs, un des scellements porte cette inscription :
Il est fort probable que cette pyramide fut destinée au Ka du souverain. Une majorité d'égyptologues penche en faveur de cette hypothèse, notamment Rainer Stadelmann et Mark Lehner. Cependant Zahi Hawass, considérant que les sépultures de deux épouses de Khéphren sont toujours inconnues, l'attribue à l'une d'entre elles[2].
Temple funéraire et temple d'accueil
Depuis l'avènement de l'architecture en pierre au complexe funéraire de Djéser, les Éyptiens n'ont cessé de perfectionner les techniques de construction. Les blocs sont agencés avec plus de précision et leur taille ainsi que la qualité d'exécution ne cessent d'augmenter. Ici, la construction mégalithique atteint son paroxysme avec des pierres de taille atteignant, pour certaines, 425 tonnes.
Temple funéraire

Le monumental temple funéraire (ou temple haut) mesure 111 × 48 mètres[18] et est séparé du massif de la pyramide. Bien que bâti suivant les mêmes conventions qu'au temple d'accueil, il n'en demeure aujourd'hui que de maigres vestiges. Cinq fosses à barques, vides, bordent les murs extérieurs du temple. Construits en calcaire, les murs intérieurs étaient tous entièrement recouverts de granite rose d'Assouan ainsi que les murs extérieurs, mais seulement sur les premières assises. Le sol était recouvert d'albâtre[18]. La chaussée montante conduisait à un hall d'entrée se séparant en une pièce en U au sud et en une antichambre à l'est. Des magasins disposés en dents de peigne étaient accessibles par le mur nord de l'antichambre. Cette dernière menait successivement à une première salle hypostyle orientée est-ouest et à une deuxième salle hypostyle orientée nord-sud dont le plan général rappelle nettement la salle en T du temple d'accueil. Les toitures étaient soutenues par des piliers monolithes en granite rose. La salle hypostyle la plus à l'ouest communiquait, par un petit couloir, avec une grande cour entourée de piliers osiriaques[note 9]. La description de la partie publique s'arrête ici. L'accès aux autres appartements n'était autorisé qu'aux prêtres chargés du culte funéraire. Ces appartements, outre des magasins, comportaient le saint des saints c'est-à-dire la chambre la plus à l'ouest comportant dans son mur occidental, une niche contenant une stèle fausse-porte[18].
Ruines du temple funéraire.
Ruines du temple funéraire.
Ruines du temple funéraire.
Temple d'accueil

Le temple d'accueil (ou temple de la vallée, ou bien encore temple bas) du complexe funéraire de Khéphren, situé juste au sud du temple du sphinx, est le seul temple de l'Ancien Empire qui nous soit parvenu dans un tel état de conservation. Son plan est carré et ses côtés mesurent 44,10 mètres[18]. Les murs extérieurs de treize mètres de haut, présentent un fruit accentué, comme dans tous les temples de l'Ancien Empire[19] Le massif, construit en calcaire, était entièrement recouvert de granite rose d'Assouan. L'appareillage de pierres fut exécuté ici, plus que dans tout autre temple, de manière irrégulière et présentant la maçonnerie comme un gigantesque puzzle[note 10]. La façade présentait deux portes, l'une au sud, l'autre au nord. Chaque porte était flanquée de deux sphinx longs de huit mètres et larges de deux mètres. Ces entrées donnaient chacune sur un vestibule haut de 9,40 mètres[20], aboutissant sur une antichambre orientée nord-sud et longue de vingt mètres. Celle-ci était couverte de dalles de granite larges de cinq mètres et son sol pavé de blocs d'albâtre. Auguste Mariette découvrit en 1860, dans un puits creusé dans le sol du vestibule nord, la célèbre statue de Khéphren en diorite représentant le pharaon protégé par le faucon Horus[20]. Ce chef-d'œuvre de la statuaire égyptienne est aujourd'hui exposé au Musée du Caire. Derrière la porte centrale dans le mur ouest de l'antichambre se trouve une salle hypostyle communément appelée « salle en T », dont le plafond est soutenu par seize piliers monolithes en granite. À l'origine, vingt-trois statues en albâtre, en schiste et en diorite représentant le roi assis, étaient adossées contre les parois de cette salle. Chaque extrémité de la paroi ouest de la salle en T présente une porte. Celle du sud donne accès à trois salles allongées, à deux étages et disposées en dents de peignes. Celle du nord donne accès à la chaussée montante longue de 494,60 mètres qui relie le temple d'accueil au temple funéraire[20].
Le rôle attribué au temple d'accueil n'est pas certain mais l'opinion générale l'affecte aux cérémonies liées à la purification et à l'embaumement ainsi qu'au rite de l'ouverture de la bouche[19].
Vue du temple d'accueil et des quais du port.
Vue de la façade du temple d'accueil.
Morceau de corniche du temple d'accueil.
Entrée du temple d'accueil.
Couloir du temple d'accueil.
Salle en "T" du temple d'accueil.
Piliers monolithiques du temple d'accueil.
Accès à la chaussée située dans le temple d'accueil.
Sphinx et temple du sphinx
Exploration de la pyramide jusqu'au XIXe siècle
.jpg)
L'histoire de l'exploration de la pyramide de Khéphren se confond dans ses grandes lignes, jusqu'au XIXe siècle, avec celle de la pyramide de Khéops. Il faut donc remonter à l'époque de l'historien grec Hérodote pour en trouver la première description :
« À la mort de Khéops, la royauté revient à son frère Khéphren[note 11]. Ce dernier se régla en tout point sur son prédécesseur et ne manqua pas de construire une pyramide qui, à vrai dire, n'atteint pas les dimensions de celle de Khéops(...) La base de l'édifice est en pierres d'Éthiopie veinées de couleurs diverses. Aussi large que la première, cette pyramide a quarante pieds de moins en hauteur[21]. »
Il faut ensuite attendre le XIIe siècle et L'histoire de l'Égypte et de ses merveilles de l'écrivain arabe Ibrahim Ibn Wassif Chah selon qui
« Dans la pyramide occidentale (la pyramide de Khéphren) furent aménagés trente magasins de granit coloré, remplis de toutes sortes de richesses et d'objets divers : statues de pierres précieuses, outils de fer magnifiques, armes inoxydables, verre malléable, talismans extraordinaires, drogues simples et composées, poisons mortels (...)
La pyramide occidentale fut placée sous la garde d'une statue en mosaïque de granit. Cette statue était debout, tenant à la main quelque chose comme une javeline, et coiffée d'une vipère repliée sur elle-même. Dès que quelqu'un s'approchait de la statue, la vipère s'élançait sur lui, s'enroulait autour de son cou, le tuait et revenait à sa place[21]. »

Description de l'Égypte.
Nous reconnaissons aisément dans cette dernière partie, en dépit d'une description très édulcorée, le grand sphinx de Gizeh. L'entrée ainsi que les infrastructures de la pyramide ne sont relatées dans aucun texte. Selon John Greaves, auteur de la Pyramidographia, la pyramide ne possède aucune entrée. Benoît de Maillet, consul de France en Égypte dès 1692 et célèbre pour les descriptions détaillées qu'il fit des pyramides, déclare que la pyramide de Khéphren est restée inviolée[21].
Ce n'est qu'au jour du que l'italien Giovanni Battista Belzoni parvint à découvrir l'entrée sur la face nord de la pyramide et à s'introduire jusqu'à la chambre funéraire. Il découvrit le sarcophage vide[note 12] dont le couvercle brisé gisait sur le sol. Il nota une inscription arabe se trouvant sur le mur ouest de la chambre qui témoignait de l'ouverture de la pyramide par le maître carrier Mohamed-Ahmed assisté du maître Otman, en présence du sultan Ali-Mahomet[21]. Il en conclut avec raison que la pyramide a été violée dès l'hégire. John Shae Perring explora plus avant la structure en 1839. En 1854, Auguste Mariette dégagea le temple d'accueil qu'il assimila, à tort, au temple du sphinx. Il y fit également la découverte de la fameuse statue représentant Khéphren assis. Durant la seconde moitié du XIXe siècle, Petrie dressa des plans très précis de l'ensemble du site de Gizeh.
Ces découvertes, ainsi que le pôle d'attraction que représente la pyramide de Khéops eurent pour conséquence d'annihiler l'intérêt porté à ce monument. Une seule étude approfondie du complexe funéraire sera effectuée, au début du XXe siècle, par Uvo Hölscher sous la direction de Steindorff.
Notes et références
Notes
- ↑ L'erreur moyenne à la pyramide de Khéops est de 3′
- ↑ La destruction du parement a commencé au temps du sultan Hassan (1347-1361). Pourtant, en 1548, Chesneau témoigne du fait que les pyramides de Khéphren et de Mykérinos étaient encore parées d'une très grande partie de leur revêtement (Jean-François Sers, Le secret de la pyramide de Khéphren, 1992, (ISBN 2268012476), p. 82)
- ↑ L'angle, d'après Petrie correspond à une pente de 1/2, Vito Maragioglio et Celeste Rinaldi, L'Architettura delle Piramidi Menfite, Le Piramidi di Zedefrâ e di Chefren, 1966, pl. 6
- ↑ Cette particularité dans un passage à herse est quasi-unique dans l'Ancien Empire
- ↑ Les premières voûtes en chevrons sont apparues à la pyramide de Khéops
- ↑ Les canaux dits de « ventilation » de la pyramide de Khéops étaient tous maçonnés et situés dans le massif de la pyramide
- ↑ Outre l'avantage technique qu'une telle voûte représente, il semble ici que sa fonction est également d'ordre symbolique puisque la fausse voûte n'est d'aucune utilité
- ↑ comme le montre la présence de quatre encoches à cet endroit
- ↑ Il s'agit de l'hypothèse de Uvo Hölscher. L'égyptologue allemand Herbert Ricke opte plutôt pour la présence de statues représentant le roi assis
- ↑ les pierres ont été taillées selon des angles multiples et de nombreux blocs présentent plus de six faces. Ce genre de construction fut parfaitement maîtrisée par les incas
- ↑ qui fut en réalité son fils
- ↑ Cependant, le lendemain de la découverte, Belzoni prétend avoir découvert des ossements d'animaux dans ce même sarcophage
Références
- ↑ Vito Maragioglio et Celeste Rinaldi, L'Architettura delle Piramidi Menfite, Le Piramidi di Zedefrâ e di Chefren, 1966, pl. 5
- 1 2 3 4 5 6 Zahi Hawass, Trésors des pyramides, 2003, (ISBN 2709814641), p. 145
- 1 2 3 4 5 6 7 Vito Maragioglio et Celeste Rinaldi, L'Architettura delle Piramidi Menfite, Le Piramidi di Zedefrâ e di Chefren, 1966, p. 50
- ↑ Petrie a mesuré 53° 10′ et John Shae Perring 52° 02′. Ludwig Borchardt a avancé ce chiffre de 53° 07′ 48″ correspondant à la pente de 4/3 mise en œuvre ici. La hauteur de 143,87 mètres pour une base de 215,16 mètres correspond, géométriquement pour un tétraèdre parfait, à une pente de 53° 13′.
- 1 2 3 Vito Maragioglio et Celeste Rinaldi, L'Architettura delle Piramidi Menfite, Le Piramidi di Zedefrâ e di Chefren, 1966, p. 52
- 1 2 3 4 Vito Maragioglio et Celeste Rinaldi, L'Architettura delle Piramidi Menfite, Le Piramidi di Zedefrâ e di Chefren, 1966, p. 54
- ↑ Jean-François Sers, Le Secret de la pyramide de Khéphren, 1992, (ISBN 2268012476).
- ↑ Vito Maragioglio et Celeste Rinaldi, L'Architettura delle Piramidi Menfite, Le Piramidi di Zedefrâ e di Chefren, 1966, p. 112-113
- ↑ Vito Maragioglio et Celeste Rinaldi, L'Architettura delle Piramidi Menfite, Le Piramidi di Zedefrâ e di Chefren, 1966, p. 56
- 1 2 3 Vito Maragioglio et Celeste Rinaldi, L'Architettura delle Piramidi Menfite, Le Piramidi di Zedefrâ e di Chefren, 1966, p. 58
- ↑ Vito Maragioglio et Celeste Rinaldi, L'Architettura delle Piramidi Menfite, Le Piramidi di Zedefrâ e di Chefren, 1966, p. 60
- 1 2 Vito Maragioglio et Celeste Rinaldi, L'Architettura delle Piramidi Menfite, Le Piramidi di Zedefrâ e di Chefren, 1966, pl. 6
- ↑ Maragioglio et Rinaldi ont relevé des traces et des colorations dues à une inondation
- ↑ L. W. Alvarez et al., Science 167, 832 (1970) ;
- L. Alvarez, Adventures in Exp. Phys. 1, 157 (1972) ;
- Tesla Foundation, Unfolding Pyramids' Secrets Using Modern Physics, film, narré par L. W. Alvarez et B. C. Maglich, réalisé par Victoria Vesna (1988) ;
- J. Lakshmanan, J. Montlucon, Geophys.: The Leading Edge 6, 10 (1987) ;
- Joint ARE−USA Research Team, Electromagnetic Sounder Experiments at the Pyramids of Giza, NSF doc. no. GF−38767, Ain Shams U., Cairo, Egypt, and SRI, Menlo Park, CA (May 1975) ;
- I. E. S. Edwards, The Pyramids of Egypt, Penguin Books, New York (1985) ;
- B. C. Maglich, Bull. APS 32, 1067 (1987).
- ↑ Citation tirée du rapport de Gilles Dormion disponible sur le site egyptologues.net
- ↑ Ftonic, « ScanPyramids : enfin des réponses à la construction des pyramides », sur Pharaon Magazine, (consulté le )
- ↑ Mesures & Essais, « Les pyramides au cœur d’un projet de scanning », sur Essais & Simulations, (consulté le )
- 1 2 3 4 Iorwerth Eiddon Stephen Edwards, Les Pyramides d'Égypte, 1992, (ISBN 2-253-05863-7) (BNF 35513246), p. 166-167
- 1 2 Iorwerth Eiddon Stephen Edwards, Les Pyramides d'Égypte, 1992, (ISBN 2-253-05863-7) (BNF 35513246), p. 156-161.
- 1 2 3 Jacques Vandier, Manuel d'archéologie égyptienne, tome II, 1976, (ISBN 2708400207), p. 51-54
- 1 2 3 4 Jean-François Sers, Le secret de la pyramide de Khéphren, 1992, (ISBN 2268012476), p. 80-95
Bibliographie
- Uvo Hölscher, Das Grabdenkmal des Königs Chephren, 1912 (téléchargeable ici ) ;
- Ludwig Borchardt, Die pyramiden, ihre entstehung und entwicklung, 1911 ;
- Jean-François Sers, Le Secret de la pyramide de Khéphren, 1992 ;
- Giovanni Battista Belzoni, Voyages en Égypte et en Nubie, 1821 ;
- William Matthew Flinders Petrie, The Pyramids and Temples of Gizeh, 1883 ;
- Richard William Howard Vyse, Operations Carried on at the Pyramids of Gizeh, 1840-1842 ;
- Iorwerth Eiddon Stephen Edwards, Les Pyramides d'Égypte, 1992 ;
- Vito Maragioglio et Celeste Rinaldi, L'Architettura delle Piramidi Menfite, 1963-1977 ;
- Jacques Vandier, Manuel d'archéologie égyptienne, Vol I, II, III ;
- Jean-Philippe Lauer, Le Mystère des pyramides, 1988 ;
- Luis Walter Alvarez et al., Science 167, 832 (1970) ;
- Luis Walter Alvarez, Adventures in Exp. Phys. 1, 157 (1972) ;
- Tesla Foundation, Unfolding Pyramids' Secrets Using Modern Physics, film, narré par L. W. Alvarez et B. C. Maglich, réalisé par Victoria Vesna (1988) ;
- J. Lakshmanan, J. Montlucon, Geophys.: The Leading Edge 6, 10 (1987) ;
- Joint ARE−USA Research Team, Electromagnetic Sounder Experiments at the Pyramids of Giza, NSF doc. no. GF−38767, Ain Shams U., Cairo, Egypt, and SRI, Menlo Park, CA (May 1975) ;
- B. C. Maglich, Bull. APS 32, 1067 (1987).
Annexes
Liens externes
- Ressource relative à l'architecture :
- Notices dans des dictionnaires ou encyclopédies généralistes :
- Portail de l’archéologie
- Portail de l’Égypte antique
- Portail de l’histoire de l’art

