Shweeb

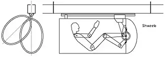
Shweeb est un moyen de transport individuel constitué de nacelles roulantes suspendues sous un monorail en acier. Le passager est en position semi-couchée et pédale pour mouvoir son module. Le bon aérodynamisme permet d'après le constructeur de se contenter d'une puissance de 33 W pour avancer à 20 km/h (ce qui est proche de la puissance requise pour marcher à 5 km/h). Le milieu de transport visé est essentiellement urbain, pour des trajets courts ou moyens. Dans un tel contexte, il entrerait dans la catégorie des transports de type Personal Rapid Transit (PRT).
Un démonstrateur à usage ludique a été réalisé à Rotorua[1], Nouvelle-Zélande. Sur cet anneau de vitesse d'une longueur de 200 m, les vitesses atteignent couramment 50km/h. 38° 05′ 25″ S, 176° 11′ 43″ E
Développement
Dans le cadre d'actions de mécénat, Google a annoncé investir 1 million de dollars pour tester et étendre ce projet de déplacement urbain[2].
Technique
Monorail
La poutre du monorail est construite avec une tôle galvanisée pliée. La section externe est d'une largeur de 200 mm x hauteur 220 mm. Les poteaux supports sont aussi en acier galvanisé.
Nacelle
Les nacelles recouvertes d'un carénage intégral en plastique transparent sont équipées d'orifices de ventilation. Elles sont dotées d'amortisseurs avant et arrière pour limiter les effets des chocs entre nacelles et pour leur permettre de se regrouper en trains favorisant l'aérodynamisme.
Entraînement mécanisé
Pour les dénivelés, un système d'entraînement avec une chaîne externe à griffes sur un segment de voie peut être prévu en remplacement de la propulsion humaine. Un tel système est aussi envisagé pour les arrivées sur des stations installées en hauteur par rapport à la voie. La position d'une station en hauteur permet à une nacelle de se mettre en vitesse rapidement en descendant la branche de connexion afin de s'intégrer aisément dans le flux de la circulation.
Références
- ↑ (en) « Shweeb Racer », sur Shweeb (consulté le ).
- ↑ (en) « $10 million for Project 10^100 winners », sur Official Google Blog (consulté le ).
Annexes
Articles connexes
Liens externes
- Portail des transports