Télégraphe

Le télégraphe (du grec ancien τῆλε / tễle, « loin » et γράφω / gráphô, « écrire ») est un système destiné à transmettre des messages, appelés télégrammes, d'un point à un autre sur de grandes distances, à l'aide de codes pour une transmission rapide et fiable.
Les communications à longue distance avant le télégraphe
Le télégraphe n'est pas le premier système permettant de transmettre des informations à distance. Plusieurs peuples ont mis au point des procédés de communication permettant de répercuter une information sur de longues distances à l'aide de signaux de fumée ou de torches placées sur des points élevés. Ces systèmes étaient toutefois limités dans leurs possibilités d'expression ; le télégraphe s'en distingue par l'utilisation d'un alphabet ou code linguistique permettant de transmettre n'importe quel type de message, sans se limiter à un ensemble de messages prédéfinis. Trois principaux types d'appareil furent successivement mis en œuvre : le télégraphe électrostatique, le télégraphe optique et le télégraphe électromagnétique[1].
Télégraphe aérien (ou optique)
Les précurseurs
Télégraphe aérien romain
Les Romains ont édifié de nombreuses tours à signaux, comme la tour Magne à Nîmes, créant ainsi un vaste réseau télégraphique inter-continental[2].
Guillaume Amontons
Guillaume Amontons (1663-1705) mène en 1690 au jardin du Luxembourg[3], puis en 1695 entre Meudon et Paris, une expérience qui consiste à transmettre un message entre deux points par le biais de signaux optiques émis par un poste et intercepté grâce à une longue-vue par le poste suivant, qui lui-même le transmet au poste suivant, jusqu'au point d'arrivée. Chaque lettre de l’alphabet a son signal dont la signification n’est connue que des postes extrêmes[4].
Fontenelle décrit ainsi le dispositif de Guillaume Amontons : « Le secret consistait à disposer, dans plusieurs postes consécutifs, des gens qui par des lunettes de longue-vue, ayant aperçu certains signaux du poste précédent, les transmettaient au suivant, et toujours ainsi de suite »[5].
Télégraphe Hooke
Robert Hooke (1635-1703) propose et expérimente en 1672 un système composé de trois mâts reliés par une poutre transversale. En partie gauche se situe un cache derrière lequel sont placés les symboles en attente (24 symboles différents). Chaque symbole est amené successivement en partie droite grâce à un palan[6].
Télégraphe Bergstrasser
Johann Andreas Benignus Bergsträsser (1732-1812) effectue un essai de son « synthematographe » entre le Feldberg, Homberg et Philippsruhe, le 11 juin 1786[6]. Il propose l'utilisation d'un mât et de deux barres pivotant sur des axes pour former des symboles.
Télégraphe Dupuis
Charles-François Dupuis réussit à correspondre en 1788 entre Ménilmontant et Bagneux à l'aide d'un télégraphe alphabétique.
Télégraphe Chappe
Le premier télégraphe Chappe exploité est optique et totalement manuel. Il s'agit du premier réseau de télécommunications d'envergure nationale au monde.
Pendant la Révolution française, Claude Chappe met au point son système révolutionnaire de transmission par sémaphores, et le fait adopter par l'État français, notamment grâce au soutien de Joseph Lakanal. À la fin du XVIIIe siècle, les premiers usages du télégraphe de Chappe sont dédiés à la communication militaire (annonce à la Convention de la prise de Quesnoy).
Les messages peuvent être transmis sur une longue distance par l'intermédiaire de relais espacés d'une dizaine de kilomètres et situés sur des hauteurs. Ces tours sont munies d'un système de bras articulés actionnés manuellement par un opérateur via un système de poulies. L'opérateur surveille au travers de deux lunettes situées de façon opposée la tour précédente et la suivante. Ainsi, il observe les signaux émis par le relais précédent et les retransmet au suivant.
Autres systèmes
Tout au long de la carrière du télégraphe Chappe quelques systèmes de télégraphie optique sont expérimentés, avant la loi de 1837 sur le monopole télégraphique[6].
Système Depillon sémaphore de la Marine
La marine utilisait des pavillons flottant au vent pour communiquer de bateau à bateau ou avec la côte. En 1806, la Marine décide la création d'un réseau de sémaphores côtiers entre Flessingue et La Spezia, basé sur le télégraphe Depillon. L'appareil proposé par Charles Depillon est constitué d'un mât tournant muni de trois ailes. Les sémaphores de la Marine reprennent ce système avec un mât fixe de 36 pieds, produisant 342 signaux différents correspondant chacun à un message. Un réseau de 293 stations côtières est mis en place en 1806 et fonctionnera jusqu'en 1814[6].
Système Bétancourt-Breguet
Augustin Bétancourt (1760-1826) et Abraham Breguet (1747-1823) proposent et expérimentent à Meudon en 1796 le télégraphe à aiguille : un indicateur en forme d'aiguille, monté en son centre sur un poteau, peut prendre 36 positions (une tous les dix degrés). En 1797, ils proposent une variante, le télégraphe en T, où l'aiguille a une forme en T afin de réduire les possibilités d'ambiguïté[6].
Systèmes Saint-Haouen
Le contre-amiral Yves Le Coat de Saint-Haouen (1756-1826) est l'inventeur du premier télégraphe utilisable de jour comme de nuit. Il propose d'abord des projets qui resteront sans suite, comme les machines à pavillon de 1798, puis en 1800 un télégraphe constitué d'un mât et une vergue supportant deux cadres avec des boules déplacées par des drisses. Cette même année ses travaux sont abordés lors d'une séance de l'Institut en date du relative au télégraphe optique dans le brume[7].
À l'été 1822, il expérimente sans succès sur quatre stations un système similaire sans cadre[6]. Ce système est décrit par son principal concurrent Ignace Chappe :
« La machine était composée d’un mât qui s’élevait de vingt-huit à trente pieds au-dessus de la maisonnette destinée au logement des employés ; au haut de ce mât était une vergue de dix-huit pieds de long, placée en forme de croix : on y avait suspendu par des cordes trois globes d’osier peints en noir, de deux pieds de diamètre, et distants de six pieds l’un de l’autre, et leurs mouvements s’opéraient sur des cordes perpendiculaires qui partaient de la vergue, et se prolongeaient jusque dans l’intérieur de la maisonnette. La distance de l’une à l’autre de ces cordes était de six pieds, comme celle des boules. Un quatrième globe était placé à deux pieds au-dessus de la maisonnette : il se mouvait horizontalement sur la largeur de la machine, et indiquait les mille : les trois premiers globes placés sur les trois lignes verticales représentaient les unités, les dizaines et les centaines[8]. »

Ce système permet de produire 14 400 mots, dont 120 sont finalement retenus.
Après une première proposition envoyée à Louis-Alexandre Berthier[9] en 1806 puis une autre repoussée en 1809 pendant le Premier Empire, Saint-Haouen présenta à nouveau le projet sous la restauration, et, grâce à l'appui de Louis XVIII, il obtint du ministre de la marine de faire expérimenter de mai à juin 1820 une courte ligne de Paris au mont Valérien, qui était visible des fenêtres des Tuileries. En outre, dans la même période, d'autres expériences eurent lieu au havre, sur terre et sur mer, de jour et de nuit.
Les signaux ainsi émis sont visibles de trois à quatre lieues de jour, et de quatre à cinq lieues de nuit. L'expérience fut un succès aux yeux de la commission d'observateurs, composée d'officiers de marine et de l'ingénieur en chef des travaux maritimes, et par un décret en conseil des ministres du , il fut décidé la construction d'une ligne entre Paris et Bordeaux[10], malgré deux avis défavorables du comité de l'intérieur des 2 janvier et . Le 8 mai, l'emplacement des douze stations est choisi ; mais rapidement, il faut changer d'emplacement, remplacer les guetteurs qui désertent, et les difficultés s'accumulent, laissant deviner les manœuvres du concurrent Chappe.
Devant la difficulté de lire les chiffres indiqués par le télégraphe, Saint-Haouen les remplaça par des boules d'osier, afin de produire des figures diverses, comme dans la description de Chappe.
L'expérience entre la butte Montmartre[11] et Orléans, sur une ligne qui comportait douze stations, faite le à 10 h du soir, et répétée le lendemain, fut un échec[12], et le projet fut interrompu plusieurs mois après une campagne de calomnie initiée par Chappe[13] dans une lettre du 30 octobre au Moniteur universel.
Malgré des expériences officieuses exécutées avec succès devant le duc d'Angoulême le et devant le comte d'Artois le 22 octobre, entre la butte Montmartre et Orléans à 9 h du soir, le gouvernement décide d'appliquer sa décision secrète du qui fait le choix du télégraphe Chappe. Ironie de l'histoire, le télégraphe de son concurrent sera installé sur le toit d'une de ses propres maisons à Brest, l'Hôtel Halligon, au 1 place des Portes, après une bataille judiciaire acharnée.
Son télégraphe fut malgré tout utilisé par Louis de France (1775-1844), duc d'Angoulême, durant l'expédition d'Espagne de 1823 où une brigade télégraphique est attachée à l'Armée française[14]. Il est alors allégé pour être porté à dos de cheval, chaque machine présentant alors une charge de 100 kg. Le télégraphe est utilisé devant Cadix fin 1823. Il sera également installé sur le vaisseau-amiral de Guy-Victor Duperré et sur les côtes algériennes en 1830 lors de la campagne d'Alger. L'amiral avait testé le télégraphe Saint-Haouen en 1822 à bord d'une escadre d'évolution partie de Brest, et c'est le propre fils de Saint-Haouen, le Baron Antoine le coat de Saint-Haouen, officier de la garde royale, qui fut chargé de le mettre en place en Algérie. Il organisa en quinze jours à Toulon une brigade télégraphique, qui permit des communications permanentes entre la flotte et la terre pendant la campagne grâce à l'installation de télégraphes à Torre-Chica et Staoueli[15]. Les télégraphes étaient portés à dos de mulet et montés en une demi-heure[16]. L'usage qui en a alors été fait a démontré qu'il était également utilisable de nuit, et supérieur donc, sur ce point, au télégraphe de Chappe[17]. Il servit notamment durant cette campagne à faciliter la communication entre l'état-major et la terre ferme pendant le débarquement des troupes à Torre-Chica[18].
Saint-Haouen meurt en 1826 avant d'avoir pu le commercialiser en Grande-Bretagne[19]. La dépêche annonçant sa mort a été envoyée par Abraham Chappe au Ministre de la marine[20].
Système Ferrier
Alexandre Ferrier (1809-1858) propose en 1831 la mise en place d'une ligne de télégraphie commerciale entre Calais et Londres, puis en 1832 un projet de ligne Paris-Rouen à l'aide d'un télégraphe à cinq voyants[21][source insuffisante]. La ligne fonctionnera en 1833 mais s'arrête faute de trafic[6].
Systèmes non officiels
Dans les années 1833-1834, des hommes d'affaires souhaitant bénéficier d'un réseau de communication organisent des lignes « clandestines ». Une ligne Paris-Lyon est mise en place en 1836, sur laquelle des transmetteurs tendent des toiles blanches entre un et cinq couples de piquets, reproduisant le signal observé à la station précédente. Une ligne clandestine Angoulême-Bordeaux utilisant six moulins à partir de quatre positions des ailes, est démantelée en juillet 1836[6]. À la même époque, près de Tours, des hommes d'affaires ont tenté de payer des stationnaires pour ajouter des signaux ou commettre des erreurs porteuses de sens lors des transmissions officielles[3].
Systèmes mixtes
Le Pony express de Nouvelle-Écosse était un système permettant, à partir de février 1849, de relier à cheval Halifax, le seul grand port canadien libre de glaces toute l'année à Digby, de l'autre côté de la péninsule de Nouvelle-Écosse. De là, un bateau traverse les 70 kilomètres de la Baie de Fundy pour arriver à Saint-John au Nouveau-Brunswick, terminus d'une ligne télégraphique nouvellement construite, où les nouvelles d'Europe sont télégraphiées à New York, et suivies de près à Wall Street.
Les réseaux de télégraphie optique

France
La première ligne du système Chappe, mise en place en 1794, relie Paris à Lille, pour des raisons stratégiques (établir une liaison rapide entre le Comité de Salut public et l'Armée du Nord) et annonce à la Convention la prise de Quesnoy.
Algérie et Tunisie
À partir de la Révolution de Juillet, la France commence à se lancer dans l'expansion coloniale. L'armée de conquête a besoin d'un système de transmission rapide, sûr et efficace et le télégraphe aérien de Chappe va franchir la Méditerranée à partir de 1835. Il survivra jusqu'en 1859/1860 en Algérie avec un réseau de 850 km en 1853, donc bien après la fin en métropole, dont le dernier poste sera détruit en 1859. Il sera également introduit en Tunisie à partir de 1848.
Royaume-Uni
Vers 1850, l'amirauté britannique fait installer un réseau de télégraphe optique entre Londres et la Côte Sud. Le système est basé sur six lattes mobiles. Les relais sont installés sur des promontoires, que l'on reconnaît aujourd'hui sur les cartes sous le nom de Telegraph Hills (les collines du Télégraphe)[22].
Télégraphe prussien
Les Prussiens ont exploité un réseau de télégraphie optique de 1832 à 1849 sur une ligne reliant Berlin à Coblence via Cologne en 61 stations munies d'un mât à trois paires d'ailes.
La ligne fut étendue de Coblence à Trèves.
À signaler également les lignes de télégraphe optique de Cuxhaven à Hambourg (1836 à 1849), et de Bremer Haven à Brême (1846 à 1848) permettant de prévenir les ports d'arrivée de navires.
Russie
Espagne
Augustin Bétancourt (1760-1826) part en Espagne en décembre 1798, et met en place un réseau d'une soixantaine de stations du palais du Buen Retiro de Madrid à Aranjuez, puis jusqu'à Cadix[6].
Belgique
En 1803, à l'époque de l'Occupation napoléonienne de la Belgique, la ligne Paris-Lille fut prolongée jusqu'à Bruxelles et en 1809, jusqu'à Anvers puis Amsterdam. Un appareil Chappe se trouvait placé sur chacune des tours de la cathédrale Sainte-Gudule, à Bruxelles[23]. Après l'indépendance de la Belgique, certaines initiatives privées virent le jour pour relier les Bourses de Bruxelles et d'Anvers au moyen de lignes de télégraphie optique. Ces initiatives furent à l'origine des premiers débats politiques sur la télégraphie en Belgique[23]. Alexandre Ferrier (1809-1858) quitte la France en 1833, et met en place une ligne privée de huit stations entre Anvers et Bruxelles qui fonctionnera de mai 1834 à 1837[6]. Le 14 mai 1834 Ferrier écrit au gouvernement belge pour l'informer de son activité[24]. Mais il a été précédé le 15 juillet 1833 par un autre homme d'affaires, le spéculateur De Hornes, qui a écrit au gouvernement[25] pour l'informer lui aussi de l'opération d'une ligne télégraphique. Le Télégraphe optique belge se heurte rapidement à l'opposition des pouvoirs publics[25], qui réfléchiront à la création d'une ligne publique, avant que le grand scientifique belge Adolphe Quetelet, statisticien belge, précurseur de l'étude démographique et fondateur de l'Observatoire royal de Belgique, ne pousse très tôt pour l'adoption d'un télégraphe électrique, celui de ses amis les inventeurs anglais William Fothergill Cooke et Charles Wheatstone, qu'il a aidé à obtenir une licence d'exploitation[26]. Dès 1840, Wheatstone fait déjà une première démonstration de son appareillage et il reçoit dès le 23 décembre 1845 la concession pour le télégraphe de la ligne de chemin de fer reliant Bruxelles-Nord à Malines et Anvers[26], ouverte le 9 septembre 1846, dix ans après celle du tronçon de la première moitié, entre Bruxelles et Malines.
Entre-temps, en juillet 1840, un autre opérateur privé, Van Duerne a écrit au Conseil des Ministres belge pour l'informer de son intention d'établir une ligne optique fonctionnant jour et nuit entre Bruxelles et Ostende, afin de transmettre le cours des fonds publics de la Bourse de Londres, complétés par des nouvelles politiques et commerciales venant "de ou par l'Angleterre". Entre-temps, la Hollande a signé le Traité consacrant la reconnaissance internationale de la Belgique et les problèmes militaires et de sûreté sont donc devenus moins importants[25].
Autres pays
Dans son ouvrage Histoire de la télégraphie (Paris, 1824) Ignace Chappe, frère aîné de Claude Chappe, indique que des télégraphes ont été établis en Allemagne, en Suède, en Angleterre, en Russie, en Turquie et en Égypte.
L'invention de Chappe est aussi adoptée postérieurement en Chine, en et aux États-Unis (télégraphe optique américain) en 1840.
Télégraphe électrique


Les précurseurs
Le développement de l'électricité et de l'électrodynamique fait naître l'ère du télégraphe électrique[27] :
- en 1753, un projet théorique est proposé par un auteur écossais anonyme qui entend relier un générateur d'électricité statique via 26 fils — isolés et dédiés chacun à une lettre de l'alphabet — à un éclateur ;
- en 1774, Georges-Louis Le Sage construisit et fit fonctionner à Genève un télégraphe électrique, constitué de vingt-quatre conducteurs, dont chacun aboutissait à un électromètre correspondant à une lettre de l'alphabet. Une machine électrostatique mise en contact avec l'autre extrémité du fil déplaçait les boules de l'électromètre[28] ;
- en 1787, Arthur Young décrit une forme de télégraphe électrique inventé par Lomond à Paris : « Le soir, visite à M. Lomond, jeune mécanicien très ingénieux et très fécond (…) Il a fait une découverte remarquable sur l’électricité : on écrit deux ou trois mots sur un morceau de papier ; il l’emporte dans une chambre et tourne une machine renfermée dans une caisse cylindrique, sur laquelle est un électromètre, petite balle de moelle de sureau ; un fil de métal la relie à une autre caisse, également munie d’un électromètre, placée dans une pièce éloignée ; sa femme, en notant les mouvements de la balle de moelle, écrit les mots qu’ils indiquent ; d’où l’on doit conclure qu’il a formé un alphabet au moyen de mouvements. Comme la longueur du fil n’a pas d’influence sur le phénomène, on peut correspondre ainsi à quelque distance que ce soit : par exemple, du dedans au dehors d’une ville assiégée, ou pour un motif bien plus digne et mille fois plus innocent, l’entretien de deux amants privés d’en avoir d’autre. Quel qu’en puisse être l’usage, l’invention est fort belle. »[29] ;
- au début du XIXe siècle, l'allemand S.T. Soemering met au point un télégraphe utilisant un courant électrique.
- en 1816, Francis Ronalds développe un télégraphe électrique primitif. Il l'expérimente en envoyant des messages le long d'un fil de 13 km de longueur encastré dans un tube de verre et enterré dans son jardin à Kelmscott House (extrémité ouest de Londres). Ronalds propose son appareil à l'Amirauté britannique qui ne montre aucun intérêt et il renonce à pousser plus loin sans même faire breveter son travail[30] ;
- en 1820, Ampère propose en ces termes devant l'Académie des Sciences un télégraphe fondé sur les principes de l'électromagnétisme :
- « on pourrait au moyen d'autant de fils conducteurs et d'aiguilles aimantées qu'il y a de lettres, et en plaçant chaque lettre sur une aiguille différente, établir, à l'aide d'une pile placée loin de ces aiguilles, et qu'on ferait communiquer alternativement par ses extrémités avec celles de chaque conducteur, former une sorte de télégraphe propre à écrire tous les détails qu'on voudrait transmettre, à travers quelque obstacle que ce soit, à la personne chargée d'observer les lettres placées sur les aiguilles. En établissant sur la pile un clavier, dont les touches porteraient les mêmes lettres et établiraient la communication par leur abaissement, ce moyen de correspondance pourrait avoir lieu avec assez de facilité, et n'exigerait que le temps nécessaire pour toucher d'un côté et lire de l'autre chaque lettre ».
Cooke et Wheatstone
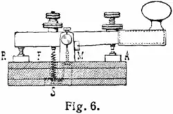
.svg.png)
1.station transmettrice, 2.station réceptrice, 3.manipulateur, 4.batterie, 5.terre, 6.ligne, 7.électroaimant, 8.poinçon, 9.bobine de papier, 10.rouleau encré, 11.rouleau entraînant, 12.bande de papier
À partir de 1832, plusieurs inventeurs contribuent par leurs travaux à la conception du télégraphe électrique dont le diplomate russe Pavel Schilling, l’Anglais William Fothergill Cooke, un jeune servant dans l’armée des Indes, et Charles Wheatstone, un physicien.

En janvier 1837, Cooke proposa aux directeurs des chemins de fer de Liverpool et de Manchester de concevoir un télégraphe à 60 codes. C'était trop complexe pour leurs objectifs; le besoin immédiat était une simple communication de signaux entre la gare de Liverpool et un atelier de traction par cordes (halage) situé au sommet d'une pente abrupte par un long tunnel à l'extérieur de la station. Le système de halage ou traction par cordes, dans les gares principales, était courant à cette époque pour éviter le bruit et la pollution, et dans ce cas précis, la pente était trop raide pour que la locomotive puisse monter sans une aide supplémentaire. Il suffisait de quelques signaux simples, tels qu'une indication visuelle ou sonore à la salle des machines pour commencer à tirer. On demanda à Cooke de construire une version plus simple avec moins de codes, ce qu'il fit avant la fin avril 1837. Cependant, le chemin de fer a décidé d'utiliser à la place un télégraphe pneumatique équipé de sifflets. Peu de temps après, Cooke s'associa à Wheatstone.

En mai 1837, Cooke et Wheatstone brevetèrent un système télégraphique utilisant un certain nombre d'aiguilles sur un tableau pouvant être déplacées pour indiquer les lettres de l'alphabet. Le brevet recommandait un système à cinq aiguilles, mais un nombre quelconque d'aiguilles pouvait être utilisé en fonction du nombre de caractères à coder. Un système à quatre aiguilles a été installé entre Euston et Camden Town à Londres sur une ligne de chemin de fer construite par Robert Stephenson entre Londres et Birmingham. Une démonstration eut lieu le avec succès. C'était pour une application similaire au projet de Liverpool. Les wagons étaient détachés à Camden Town et entraient par gravité dans Euston. Un système était nécessaire pour ordonner à la salle des machines de Camden Town de remonter les voitures vers la locomotive qui attendait au sommet de la pente. Comme à Liverpool, le télégraphe électrique a finalement été rejeté en faveur d'un système pneumatique à sifflets.
Cooke et Wheatstone eurent leur premier succès commercial avec un télégraphe installé sur le Great Western Railway sur les 21 km de la gare de Paddington à West Drayton en 1838. En fait, il s'agissait du premier télégraphe commercial au monde. Il s’agissait d’un système à cinq aiguilles et six fils. Les câbles étaient à l'origine installés sous terre dans un conduit en acier. Cependant, les câbles ont rapidement commencé à tomber en panne en raison de la détérioration de l'isolation. À titre provisoire, un système à deux aiguilles a été utilisé avec trois des derniers câbles souterrains en état de fonctionnement, qui, malgré l'utilisation de ces deux aiguilles seulement, comportait un plus grand nombre de codes. Comme le nouveau code devait être appris, et pas simplement lu à l'écran, c'était la première fois dans l'histoire du télégraphe que des opérateurs télégraphiques qualifiés étaient nécessaires.
Lorsque la ligne a été étendue à Slough en 1843, un système à une aiguille et à deux fils a été installé. Cooke est également à l’origine du passage de câbles dans des tuyaux en plomb enterrés vers le système moins coûteux et plus facile à entretenir qui consiste à suspendre des fils non isolés sur des poteaux équipés d’isolateurs en céramique, un système qu’il a breveté et qui est rapidement devenu la méthode la plus courante. Cette extension a été réalisée aux frais de Cooke, la compagnie de chemin de fer ne souhaitant pas financer un système qu'elle considérait encore comme expérimental. Jusque-là, le Great Western avait insisté pour son usage exclusif de la ligne et avait refusé à Cooke l'autorisation d'ouvrir des bureaux publics de télégraphe. Mais le nouvel accord signé par Cooke autorisait le chemin de fer à utiliser le système gratuitement en échange du droit pour Cooke d'ouvrir des bureaux publics, établissant pour la première fois un service de télégraphie public. Un tarif forfaitaire était fixé (à la différence de tous les services télégraphiques ultérieurs facturant par nombres de mots) d'un shilling, mais de nombreuses personnes ne payaient ce shilling que pour voir cet étrange équipement.
À partir de ce moment, l'utilisation du télégraphe électrique a commencé à se développer sur les nouveaux chemins de fer construits à partir de Londres. Le chemin de fer Londres - Blackwall (une autre installation à traction par cordes) était équipé du télégraphe Cooke et Wheatstone lors de son ouverture en 1840, et de nombreux autres suivirent. La distance à parcourir sur le chemin de fer de Blackwall (quatre miles) était trop longue pour la signalisation à vapeur (télégraphe pneumatique) et l'ingénieur, Robert Stephenson, a fortement soutenu la solution électrique. En février 1845, une ligne de 88 miles reliant Nine Elms à Gosport est complétée le long du chemin de fer London and South Western, beaucoup plus longue que toute autre ligne jusqu'alors. L'Amirauté a payé la moitié du coût en capital et 1 500 £ par an pour un télégraphe privé à deux aiguilles sur cette ligne pour se connecter à sa base de Portsmouth, remplaçant finalement le télégraphe optique. En septembre 1845, le financier John Lewis Ricardo et Cooke fondèrent la Electric Telegraph Company. Cette société a racheté les brevets Cooke et Wheatstone et a solidement établi le secteur du télégraphe. En 1869, l'entreprise fut nationalisée et intégrée à la General Post Office (autorité britannique des postes). Le télégraphe à une aiguille a remporté un franc succès sur les chemins de fer britanniques: 15 000 appareils étaient encore utilisés à la fin du XIXe siècle. Certains sont restés en service dans les années 1930.
Samuel Morse

L'américain Samuel Morse s'inspire des travaux de ses prédécesseurs (notamment André-Marie Ampère, François Arago) pour inventer un système simple et robuste. Après un voyage en Europe, c'est en 1832, sur le Sully, navire qui le ramène aux États-Unis, qu'il conçoit l'idée d'un télégraphe électrique après une conversation sur l'utilisation de l'électro-aimant et les travaux d'Ampère avec le géologue Charles Thomas Jackson. Le 20 juin 1840, un brevet est accordé pour l'invention du télégraphe électrique[31] pour lequel son assistant Alfred Vail invente un code original de transmission, le code Morse, via la transcription en une série de points et de traits des lettres de l'alphabet, des chiffres et de la ponctuation courante. Le point est une impulsion brève et le trait une impulsion longue.
À chaque extrémité est placée une machine constituée d'un émetteur et d'un récepteur. L'émetteur est un manipulateur manuel ; un simple interrupteur alimente avec une batterie plus ou moins brièvement la ligne. Le récepteur est un électroaimant connecté directement sur la ligne qui actionne un mécanisme chargé de transcrire le code par le marquage d'une bande de papier, qui avance au rythme des impulsions émises sur la ligne. Lorsqu'un opérateur appuie sur le manipulateur de son émetteur, le récepteur distant, tout comme le sien entrent en action, laissant une marque sur la bande de papier en émettant un bruit. Voilà pourquoi la bande de papier permet de garder une trace du message et de pallier une éventuelle absence de l'opérateur en réception.
Exploitation commerciale
Samuel Morse fait construire en 1843 la première ligne télégraphique entre Baltimore et Washington, puis contribue à fonder la « Western Union Telegraph ». De son côté Charles Wheatstone produit un télégraphe automatique (ancêtre du Télex) qui transmet jusqu'à 190 mots par minute.
L'essor commercial de la télégraphie commence : le premier câble transManche fonctionne entre Douvres et Calais en 1851. En 1866, la première liaison transatlantique durablement opérationnelle est réalisée entre l'Irlande et les États-Unis via Terre-Neuve[1]. L'Angleterre compte plus de 128 000 km de lignes télégraphiques en 1868.
Un état publié en 1864 évalue le réseau français comme suit : télégraphie côtière : 1 508 km ; départements : 26 684 km ; Algérie : 4 203 km ; câbles sous-marins : 1 173 km, soit un total de 33 568 km[32].
Le nombre de dépêches transmises atteint 9 000 en 1851, puis 1 754 876 en 1863[32].
Dans les décennies suivantes et jusqu’au milieu du XXe siècle, les réseaux télégraphiques électriques terrestres et sous-marins ont permis aux agences de presse, aux banques, aux commerces, puis au public de transmettre des messages et des nouvelles entre les continents et via les océans presque instantanément et avec des conséquences sociales et économiques importantes.
Chronologie du télégraphe électrique
- 1838 : le premier télégraphe électrique est construit par Charles Wheatstone et fonctionna entre Londres et Birmingham.
- 1840 : Samuel Morse (dépôt de brevet)
- 1842 : Louis Breguet développe en France un télégraphe à aiguille.
- 1845 : première ligne de télégraphie électrique en France (entre Paris et Rouen). Substitution de l'ancienne ligne de télégraphie aérienne entre Paris et Lille en 1846.
- 1851 au 1er mars : mise à disposition du public du télégraphe. Celui-ci n'était auparavant qu'un instrument du gouvernement.
- 1851 : premier câble sous-marin entre la France et l'Angleterre.
- 1856 : premier pantélégraphe de Caselli (transmission de dessin)
- 1858 : du 10 juin au 5 août, pose du premier câble transatlantique entre l'Irlande et Terre-Neuve (Canada) ; il tombe en panne après trois semaines d'utilisation. En juillet 1866, un second câble est posé, puis 4 autres avant 1895[33]. Ils seront exploités pendant une centaine d'années.
- 1863 : au 1er janvier, la France possède 28 671 km de lignes télégraphiques comprenant 88 238 km de fils et 1 022 bureaux. Il y a 3 752 agents de tous grades.
- 1876 : Walter P. Phillips, opérateur de télégraphe américain crée le "Code Phillips", un procédé de sténo-télégraphie adopté en 1883 par la société "Mutual Union Telegraph"
- 1877 : Émile Baudot invente le code Baudot utilisé par les téléscripteurs.
- 1892 : au Carnaval de Paris, un employé du bureau de poste 47 a l'idée de lancer sur les gens, pour marquer la fête, des bobines de papier (utilisées pour enregistrer les « signaux morse ». Ainsi naît le serpentin : sa vogue dure encore sur toute la planète, bien après la disparition du télégraphe.
Télégraphe sans fil
La télégraphie sans fil (appelée aussi TSF) permet d'émettre des messages à distance en utilisant des ondes radio.
Dès les premières expériences de transmission par radioélectricité faites par Guglielmo Marconi en 1895, les principes du télégraphe électrique Morse et le code Morse furent employés pour assurer les transmissions de messages par radio.
La transmission de l'information venait de s'affranchir des obstacles physiques, il ne restait plus qu'à perfectionner le système pour arriver aux systèmes de transmissions (radiotéléphonie et aux réseaux mobiles) du XXe siècle et du XXIe siècle.
Le code Morse[34], bien que tombé en désuétude pour les télécommunications privées, est encore utilisé comme système de transmission de secours dans l'armée et comme passe-temps par les radioamateurs. Ses mérites sont d'être facilement décodable « à l'oreille » par un opérateur radiotélégraphiste spécialement formé et de ne nécessiter qu'un émetteur-récepteur peu sophistiqué. La grande efficacité de la transmission radio en morse est la possibilité de décoder un signal « tout-ou-rien » avec un rapport signal/bruit très faible.
La modulation utilisée pour transmettre du code morse par radio est la « modulation par tout ou rien » (en anglais OOK = on-off-keying) encore appelée (abusivement) onde entretenue (continuous wave, CW) pour des raisons historiques.
Pour la transmission de messages, le télégraphe a ensuite été détrôné par le téléscripteur, le Télex puis par le fax et enfin par Internet.
Précurseurs
Chronologie
- 1894 : Albert Turpain réalise la première transmission radioélectrique en signal Morse[35].
- 1894 : Guglielmo Marconi est considéré comme l'inventeur de la télégraphie sans fil.
- 1901 : première liaison transatlantique en télégraphie sans fil[36].
- 1904 : la station Ouessant TSF FFU (depuis le Stiff), effectue des liaisons radiotélégraphiques avec une flotte de 80 paquebots.
- 1906 : Conférence de Berlin de 1906[37] pour la radiotélégraphie morse sur la longueur d'onde de 600 mètres
- À partir des années 1930 se développe le réseau Télex, qui supplante petit à petit le télégraphe.
- Jusque dans les années 1990, en France, La Poste et France Télécom (qui n'existaient pas encore) était appelées « les PTT », PTT étant le sigle des mots Postes Télégraphes Téléphones, et par la suite "P et T", sigle de "Poste et Télécommunications", on disait : « travailler aux PTT/P et T », « calendrier des PTT/P et T », etc.
Notes et références
- 1 2 Frédéric Aitken et Jean-Numa Foulc, Des profondeurs océaniques au laboratoire. 1, Les premières explorations de l'océan profond par le H.M.S. Challenger (1872-1876), vol. 1, Londres, ISTE, , 250 p. (ISBN 978-1-78405-464-9), chap. 1
- ↑ Louis Figuier, Les Merveilles de la science ou description populaire des inventions modernes, t. 2, Paris, Furne, Jouvet et Cie, (lire sur Wikisource), « ↓ Voir Supplément au TÉLÉGRAPHE AÉRIEN. », p. 1-84
- 1 2 Catherine Bertho, Télégraphes et téléphones, de Valmy au microprocesseur, Éditions Le Livre de Poche, Paris, 1981, numéro 5581, (ISBN 2-253-02832-0)
- ↑ Fontenelle, « Éloge de M. Amontons », in Histoire de l’Académie Royale des Sciences, Année 1705
- ↑ Fontenelle, « Éloge d'Admontons », in Éloges, cité par Luke Flichy, Une histoire de la communication moderne : Espace public et vie privée, La Découverte, [détail de l’édition], p. 17-18.
- 1 2 3 4 5 6 7 8 9 10 « La télégraphie Chappe », ouvrage collectif sous la direction de Guy DE SAINT DENIS, Strasbourg, Éditions de l'Est, 1993, 441 pages (FNARH : 19, rue Émile Bertin, BP 4020, 54039 NANCY CEDEX.) (ISBN 2-86955-142-8)
- ↑ Congrès de l'Association française pour l'avancement des sciences, (lire en ligne).
- ↑ Marc Gocel, La télégraphie aérienne de A à Z, Le ban Saint-Martin : association Mont Saint-Quentin le télégraphe de Chappe, , 337 p., p. 232.
- ↑ « le coat de saint-haouen | document | sotheby's pf1450lot74dksfr », sur sothebys.com (consulté le ).
- ↑ Revue encyclopédique, ou Analyse raisonnée des productions les plus remarquables dans la littérature, les sciences et les arts, Bureau de la revue encyclopédique, (lire en ligne).
- ↑ Il était situé à l'emplacement du no 15 de la place du Tertre.
- ↑ « Figuier - Les Merveilles de la science, 1867-1891, tome 2/52 », sur fr.wikisource.org (consulté le ).
- ↑ « Le réseau Chappe sous la Restauration (1815-1830) », sur telegraphe-chappe.com (consulté le ).
- ↑ Anonyme, « Vente aux enchères publiques du à l'hôtel Drouot », La Gazette de l'Hôtel Drouot, , p. 14 (lire en ligne).
- ↑ « http://collections.bm-lyon.fr/BML_01PER0030212306?page=2&query=Saint-Haouen », sur collections.bm-lyon.fr (consulté le ).
- ↑ M. Merle Jean Toussaint, Anecdotes pour servir à l'histoire de la conquête d'Alger en 1830, G.-A. Dentu, (lire en ligne).
- ↑ Conquête d'Alger ou pièces sur la conquête d'Alger et sur l'Algérie, (lire en ligne).
- ↑ « Mémorial des Pyrénées, XVIe année, no 50, », .
- ↑ Biographie universelle et portative des contemporains ; ou, Dictionnaire historique des hommes vivants et des hommes morts depuis 1788 jusqu'à nos jours : qui se sont fait remarquer par leurs écrits, leurs actions, leurs talents, leurs vertus ou leurs crimes, (lire en ligne).
- ↑ Société archéologique et historique de l'Orléanais, « Bulletin de la Société archéologique et historique de l'Orléanais », sur Gallica, (consulté le ).
- ↑ Brevet 5227 du , INPI.
- ↑ Quid, édition 2007
- 1 2 " Inventaire des archives de Belgacom et de ses prédécesseurs, 1809-2001 / O. De Bruyn"
- ↑ "Projet et réalisations télégraphiques de Ferrier", La télégraphie Chappe, par Paul Charbon, (1993), pages 349 à 355.
- 1 2 3 "La structuration du rôle de l'État dans le secteur des télécommunications en Belgique au XIXe siècle", article de Jean-Pierre Vercruysse et Pascal Verhoest, dans le numéro thématique Histoire des télécoms de la revue "Réseaux " - 1991 - Volume 9 - pages 91 à 110.
- 1 2 "Les débuts de la télégraphie électrique en Belgique", 23 mars 2010, dossier de Gueuze Info
- ↑ cité par M. Rival, Les Grandes Inventions, Larousse Paris 2005
- ↑ Louis Figuier-Furne, Télégraphie aérienne, électrique et sous-marine, câble transatlantique, galvanoplastie, dorure et argenture électro-chimiques, aérostats, éthérisation, Paris, Jouvet, coll. « Les Merveilles de la science ou description populaire des inventions modernes », (lire en ligne), p. 11-12
- ↑ Arthur Young, Voyages en France, octobre 1787, p. 117 (lire sur Wikisource).
- ↑ (en) « Sir Francis Ronalds's Telegraph », The Institution of Engineering and Technology (consulté le )
- ↑ (en) US Patent 1,647, Improvement in the mode of communicating information by signals by the application of electro-magnetism, 20 juin 1840
- 1 2 Jules Radu, Instruction élémentaire, Paris, Jules Radu, , 533 p., p. 175
- ↑ (en) « Narrative History Of Submarine Cables », International Cable Protection Committee, (consulté le )
- ↑ « Recommandation UIT-R M.1677-1 (10/2009) Code Morse international », sur itu.int
- ↑ Raconte-moi la radio : Albert TURPAIN, Pierre Dessapt, consultée le 7 mai 2009.
- ↑ (en) Fessenden and Marconi: Their Differing Technologies and Transatlantic Experiments During the First Decade of this Century - Marconi's antenna system at Poldhu (Cornouailles), december 1901 ieee.ca, septembre 1995
- ↑ Conférence radiotélégraphique internationale de Berlin de 1906 earlyradiohistory.us, 1907.
Bibliographie
- Encyclopédie des Postes, télégraphes et téléphones, Rombaldi, 1957
- Bibliographie Histoire de la télégraphie (ouvrages parus de 1780 à 1899)
Télégraphe optique
- Marc Gocel, La Télégraphie aérienne de "A à Z", Association Mont-Saint-Quentin Télégraphe de Chappe, , 337 p. (OCLC 799298506)
- Marc Gocel, La télégraphie aérienne, t. 2 : Atlas, Les Presses du Tilleul, Florange, 2001 (ISBN 2-9517739-0-0)
- Alexis Belloc, La télégraphie historique, Paris, Firmin Didot, (lire en ligne)
- Ignace Chappe, Histoire de la télégraphie, Le Mans, Richelet, 1824, 2e édition 1840
- Guy de Saint Denis, La télégraphie Chappe, Nancy, FNARH/Éditions de l'Est, coll. « Reflets et racines », , 441 p. (ISBN 2-86955-142-8)
- Patrice Flichy, Une histoire de la communication moderne : Espace public et vie privée, La Découverte, [détail de l’édition], « La communication d'État : le télégraphe optique », p. 17-43
- Édouard Gerspach, Annales télégraphiques, vol. III et IV : Histoire administrative de la télégraphie aérienne en France, 1860 et 1861
- Simone M. Müller, Wiring the World: The Social and Cultural Creation of Global Telegraph Networks, Columbia University Press, (ISBN 978-0-231-54026-1, lire en ligne)
Télégraphe électrique
- Ludovic Ternant, Les télégraphes, vol. II, Paris, Hachette,
Voir aussi
Articles connexes
Liens externes
- Notices dans des dictionnaires ou encyclopédies généralistes :
- Histoires oubliées - Le ponchon des îles (Le télégraphe)
- Portail des technologies
- Portail des télécommunications