Thermoélectricité
La thermoélectricité est l'électricité générée par l'effet thermoélectrique, un phénomène physique présent dans certains matériaux, qui lie les flux de chaleur qui les traversent aux courants électriques qui les parcourent. Cet effet est à la base d'applications, dont très majoritairement la thermométrie, puis la réfrigération (ex. : module Peltier) et enfin, très marginalement, la génération d'électricité (par « thermopile » ou « calopile »).
Elle a été découverte puis comprise au cours du XIXe siècle grâce aux travaux de Seebeck, Peltier et Kelvin.
Un matériau thermoélectrique transforme directement la chaleur en électricité, ou déplace de l'énergie thermique par l'application d'un courant électrique. Un grand nombre des matériaux possédant des propriétés thermoélectriques intéressantes ont été découverts au cours des décennies 1950 et 1960. C'est notamment le cas du tellurure de bismuth (Bi2Te3) utilisé dans les modules Peltier commerciaux, ou des alliages silicium-germanium (SiGe) utilisés pour l'alimentation des sondes spatiales dans des générateurs thermoélectriques à radioisotope.
L'utilisation de la thermoélectricité en thermométrie connaît un grand succès depuis le début du XXe siècle et en réfrigération portable depuis les années 2000. Par contre, la calopile a du mal à émerger car son rendement est peu élevé et les coûts sont importants, ce qui la limite à des utilisations très ciblées en 2005 (il n'y a pas encore de marché de niche pour la thermopile ou calopile), mais des recherches scientifiques se poursuivent dans cette discipline[1].

Aspects historiques
Découvertes
En 1821, le physicien allemand Thomas Johann Seebeck découvre un effet thermoélectrique. Il remarqua qu'une aiguille métallique est déviée lorsqu'elle est placée entre deux conducteurs de natures différentes liés par des jonctions à leurs extrémités et soumis à un gradient thermique (voir Effet Seebeck). Il interprète ses observations en postulant un lien entre champ magnétique et différence de température entre les deux jonctions et établit le sens de déviation de l'aiguille pour un grand nombre de couples. Il pense ainsi avoir trouvé une explication à l'origine du champ magnétique terrestre[2]. En réalité, l'effet observé est d'origine électrique : une différence de potentiel apparaît à la jonction de deux matériaux soumis à une différence de température.[réf. nécessaire] L'utilisation la plus connue de l'effet Seebeck est la mesure de température à l'aide de thermocouples.[réf. nécessaire]
En 1834, un horloger et inventeur français installé à Genève, Jean-Charles Peltier, découvre le second effet thermoélectrique[3] : une différence de température apparaît aux jonctions de deux matériaux de natures différentes soumis à un courant électrique (voir Effet Peltier).
En 1838, le physicien germano-balte Heinrich Lenz montre que de la chaleur est absorbée ou libérée à une jonction thermoélectrique suivant le sens du courant[4],[5].
En 1851, le physicien anglais Lord Kelvin montre que les effets Seebeck et Peltier sont liés : un matériau soumis à un gradient thermique et parcouru par un courant électrique échange de la chaleur avec le milieu extérieur. Réciproquement, un courant électrique est généré par un matériau parcouru par un flux de chaleur[6]. La différence fondamentale entre les effets Seebeck et Peltier considérés séparément et l'effet Thomson est l'existence de ce dernier pour un seul matériau et l'inutilité d'une jonction[réf. nécessaire] (voir Effet Thomson).
En 1909, le thermodynamicien allemand Edmund Altenkirch calcule pour la première fois correctement l'efficacité énergétique d'un générateur thermoélectrique exploitant l'effet Seebeck[7].
En 1950, le chercheur russe Abram Ioffé découvre les propriétés thermoélectriques des semi-conducteurs, ce qui ouvre de nouvelles perspectives pour la thermoélectricité[8] sur l'effet Seebeck[7].
Renaissance de l'intérêt du sujet
En 1978 le thermodynamicien français Hubert Juillet invente la « nano-thermoélectricité » et réalise le premier « chapelet conducteur électricité ».[réf. nécessaire]
Vers 1992, on constate une augmentation importante du nombre de publications scientifiques[1] suivies quelques années plus tard par une augmentation des demandes de brevets d'inventions en matière de thermoélectricité, à l'INPI en particulier[réf. nécessaire], au point de représenter plusieurs centaines de demandes en 2005 contre une à deux avant 1996[réf. nécessaire].
En 1993, L. D. Hicks et Mildred Dresselhaus montrent que des structures de très petites dimensions permettraient d'augmenter l'efficacité énergétique des générateurs thermoélectriques et ainsi augmenter l'intérêt de la thermoélectricité[11].
Dans les années 2000, la thermoélectricité est à nouveau enseignée, y compris dans les écoles les plus prestigieuses de par le monde.[réf. nécessaire] Il n'existe pas d'explication prouvée pour ce regain d'intérêt, mais par contre, on sait que cette renaissance a bien démarré en France, si l'on considère le nombre de brevets déposés et le nombre de doctorats effectués[12][réf. incomplète].
Effets thermoélectriques
Les effets thermoélectriques sont liés à la présence simultanée de courants électrique et de chaleur dans un métal ou un semi-conducteur. Les lois régissant ces phénomènes sont accessibles en utilisant la thermodynamique hors équilibre[13],[14].
On suppose que la densité des porteurs de charge (électron, ion, trou) est uniforme et le milieu isotrope. On rappelle l'expression du potentiel électrochimique :
où
- est le potentiel chimique (J m−3),
- la température (K),
- la densité volumique de charges (C m−3),
- le potentiel électrique (V).
En dérivant cette expression, il vient :
où est le champ électrique (V m−1).
On s'intéresse au transport de la matière porteuse de charges électriques et de l'énergie associée. Le transport des porteurs de charge est régi par un processus brownien. Les flux de particules et de chaleur sont donc du type diffusif. Ils sont reliés linéairement aux affinités correspondantes, respectivement et , par :
Les relations de réciprocité d'Onsager permettent d'écrire . On identifie les coefficients à partir de :
- la loi d'Ohm
- Pour une température uniforme . La densité de courant électrique est :
- On identifie la conductivité électrique
- Dans un circuit électrique ouvert sont nuls. La première équation donne :
- Le gradient de température est à l'origine d'un gradient de potentiel chimique responsable de l'effet Seebeck.
- Cette expression peut s'écrire où est le coefficient Seebeck.
- En reportant dans la seconde équation, il vient :
- On identifie la conductivité thermique :
- Toujours à température constante un courant électrique de densité s'accompagne d'un flux de chaleur , où est le coefficient Peltier. En comparant aux équations ci-dessus on voit que :
- Cette relation entre les coefficients Peltier et Seebeck est la deuxième relation de Kelvin.
- Lorsqu'un gradient de température est présent dans un matériau traversé par un courant le flux d'énergie est :
- La puissance dégagée est :
- En partant de la relation sur le gradient du potentiel électrochimique et des relations trouvées dans les parties sur les effets Peltier et Seebeck et sur la loi d'Ohm, on peut exprimer le gradient du potentiel électrochimique :
soit :
- - le premier terme est la puissance dégagée par conduction,
- - le troisième la puissance dégagée par effet Joule,
- - le deuxième correspond à l'effet Thomson.
- À partir des relations ci-dessus, on peut relier le coefficient Thomson aux coefficients Peltier et Seebeck par :
- Cette expression constitue la première relation de Kelvin.
Conversion de l'énergie par effet thermoélectrique

Pour la réfrigération ou la génération d'électricité par effet thermoélectrique, un « module » est constitué de « couples » connectés électriquement. Chacun des couples est constitué d'un matériau semi-conducteur de type p (S>0) et d'un matériau semi-conducteur de type n (S<0). Ces deux matériaux sont joints par un matériau conducteur dont le pouvoir thermoélectrique est supposé nul. Les deux branches (p et n) du couple et tous les autres couples composant le module sont connectés en série électriquement et en parallèle thermiquement (voir schéma à droite). Cette disposition permet d'optimiser le flux thermique qui traverse le module et sa résistance électrique. Par souci de simplicité, nous raisonnerons dans la suite sur un seul couple, formé de deux matériaux de sections constantes.

La figure à droite présente le schéma de principe d'un couple p-n utilisé pour la réfrigération thermoélectrique.
Le courant électrique est imposé de telle manière que les porteurs de charge (électrons et trous) se déplacent de la source froide à la source chaude (au sens thermodynamique) dans les deux branches du couple. Ce faisant, ils contribuent à un transfert d'entropie de la source froide à la source chaude, et donc à un flux thermique qui va s'opposer à celui de la conduction thermique.
Si les matériaux choisis ont de bonnes propriétés thermoélectriques (nous verrons par la suite quels sont les paramètres importants), ce flux thermique créé par le mouvement des porteurs de charge sera plus important que celui de la conductivité thermique. Le système permettra donc d'évacuer de la chaleur depuis la source froide vers la source chaude, et agira alors comme un réfrigérateur.
Dans le cas de la génération d'électricité, c'est le flux de chaleur qui entraîne un déplacement des porteurs de charge et donc l'apparition d'un courant électrique.
Efficacité énergétique, rendement et paramètres importants
Rendement ou efficacité énergétique ?
Pour une machine thermique réceptrice (c'est-à-dire une machine qui convertit du travail en chaleur), l'efficacité énergétique correspond au rapport de la chaleur "utile" au travail reçu. C'est évidemment l'inverse pour une machine moteur.
Les valeurs maximum de ces efficacités sont atteintes pour un cycle de Carnot :
- Pour une machine réceptrice frigorifique :
- Pour une machine réceptrice calorifique (pompe à chaleur) :
- Pour une machine moteur :
Le rendement d'une machine thermique est défini par le rapport entre son efficacité énergétique et l'efficacité énergétique de Carnot dans les mêmes conditions. Cette grandeur quantifie le poids des irréversibilités du processus dans l'efficacité de la machine. L'absence d'irréversibilité correspond à un rendement maximum de 1.
On remarquera que l'efficacité d'une machine réceptrice n'est pas nécessairement inférieure à 1, alors qu'un rendement est toujours compris entre 0 et 1.
Calcul de l'efficacité énergétique d'un système thermoélectrique
Le calcul de l'efficacité énergétique d'un système thermoélectrique s'effectue en déterminant la relation entre le flux de chaleur et le courant électrique dans le matériau. Il nécessite l'utilisation des relations définies plus haut.
L'exemple suivant présente le calcul de l'efficacité énergétique dans le cas de la réfrigération (celui de la génération d'électricité peut être effectué par des raisonnements analogues).
Reprenons donc le schéma précédent. Dans chacune des deux branches du couple, le flux de chaleur généré par l'effet Peltier s'oppose à la conductivité thermique. Les flux totaux sont donc dans la branche p et la branche n :
- et (obtenues avec la loi de Fourier locale)
avec x la coordonnée spatiale (voir schéma), λp et λn les conductivités thermiques des matériaux, et Ap et An leurs sections.
La chaleur est donc extraite de la source froide avec un flux Qf :
Dans le même temps, le courant qui parcourt les deux branches est à l'origine d'une création de chaleur par effet Joule J2/(σA) par unité de longueur des branches. En supposant que le coefficient Thomson est nul (cela revient à supposer que η est indépendant de la température, voir la relation de Thomson), la conservation de l'énergie dans le système s'écrit dans les deux branches :
- et
En considérant des conditions aux limites T=Tf en x=0 et T=Tc en x=lp ou x=ln avec lp et ln les longueurs des branches p et n, Tf et Tc les températures des sources froides et chaudes, Qf s'écrit :
avec K et R les conductance thermique et résistance électrique totales des branches du couple :
- et
La puissance électrique W fournie au couple correspond à l'effet Joule et à l'effet Seebeck, soit :
L'efficacité énergétique du système de réfrigération thermoélectrique correspond au rapport de la chaleur extraite de la source froide à la puissance électrique dissipée, soit :
Pour une différence de température ΔT donnée, l'efficacité énergétique dépend du courant électrique imposé. Deux valeurs particulières du courant permettent de maximiser soit l'efficacité énergétique e soit la chaleur extraite de la source froide Q_f.
Par un raisonnement similaire, l'efficacité d'un couple p-n utilisé en génération d'électricité sera donné par le rapport de la puissance électrique utile délivrée à une résistance de charge r au flux thermique traversant le matériau :
Ici encore, deux valeurs particulières de J maximisent soit l'efficacité énergétique, soit la puissance électrique délivrée par le système.
Le maximum d'efficacité énergétique dans des conditions données peut atteindre des valeurs supérieures à 10 : pour un fonctionnement en refroidisseur, cela signifie que la puissance pompée en face froide est 10 fois supérieure à la puissance électrique consommée. Ces valeurs sont néanmoins très inférieures à celles du cycle théorique de Carnot dans les mêmes conditions : le rendement d'un système thermoélectrique est souvent inférieur ou de l'ordre de 10 %, alors qu'un système mécanique comme un réfrigérateur à compresseur a un rendement de l'ordre de 40 %.
Paramètres importants pour obtenir une bonne efficacité énergétique
En maximisant ces deux efficacités, on peut montrer qu'elles dépendent uniquement des températures Tf et Tc et d'une grandeur adimensionnelle ZpnTM appelée « facteur de mérite » (TM est la température moyenne du système, TM=(Tf+Tc)/2) dont l'expression est :
On remarque que Zpn pour un couple n'est pas une quantité intrinsèque au matériau, mais dépend des dimensions relatives des branches du module au travers de R et K (résistance électrique et conductance thermique). L'efficacité énergétique du système (en génération d'électricité comme en refroidissement), et donc le rendement, est maximale lorsque Zpn l'est, donc lorsque le produit R·K est minimal, ce qui est vérifié quand :
Le facteur de mérite Zpn devient alors fonction uniquement de paramètres intrinsèques aux matériaux :
Pour obtenir un rendement maximum, il convient donc de choisir les matériaux constituant le couple de manière à maximiser Zpn. Cette optimisation de matériaux passe par l'optimisation de leurs propriétés de transport électriques et thermiques de manière à maximiser leur facteur de mérite (λ étant la conductivité thermique et ρ la résistivité électrique) :
Un bon matériau thermoélectrique possèdera donc simultanément un coefficient Seebeck élevé, une bonne conductivité électrique (c'est-à-dire une faible résistance électrique), et une faible conductivité thermique.
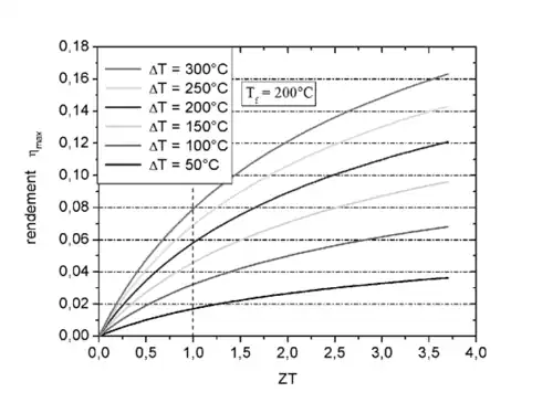
La figure ci-contre montre l'évolution du rendement d'un système thermoélectrique dans des conditions idéales en fonction du facteur de mérite ZT.
Par exemple, si ZT=1 et que la différence de température est de 300 °C, le rendement sera de 8 %, ce qui signifie suivant le cas (génération d'électricité ou réfrigération) que la chaleur traversant le matériau, convertie en électricité correspondra à 8 % de la puissance maximum théoriquement atteignable, ou bien que la chaleur extraite par le refroidissement correspondra à 8 % de la puissance théoriquement extractible.
À la plupart des températures utilisées dans la pratique, et notamment celles utilisées pour la génération d'électricité, les propriétés thermoélectriques des meilleurs matériaux de type p et de type n sont similaires. Dans ce cas, le facteur de mérite du couple est proche de la moyenne des facteurs de mérite individuels.
Modules thermoélectriques
Optimisation géométrique
Nous avons vu que les propriétés de conversion d'un couple de matériaux thermoélectriques constituant un module ne sont pas uniquement intrinsèques : elles dépendent également de la géométrie du système (longueur et section des branches du module) dont dépendent la résistance électrique R et la conductance thermique K des branches. Il faut en effet que K soit suffisamment faible pour qu'un gradient thermique puisse être maintenu. De même, R doit être choisie de manière à avoir le meilleur compromis possible entre la puissance électrique et la différence de potentiel électrique. Une fois les matériaux constituant le module choisis (grâce au facteur de mérite ZT), il est donc nécessaire d'optimiser la géométrie du système pour pouvoir obtenir l'efficacité énergétique, la puissance électrique ou la chaleur extraite maximum en fonction de l'application du module.
Modules segmentés
Les matériaux utilisés dans les modules de conversion thermoélectrique ne sont généralement efficaces que dans une gamme de température restreinte. Ainsi, l'alliage SiGe utilisé pour l'alimentation des sondes Voyager n'est efficace qu'à des températures supérieures à 1 000 K environ. Il peut donc être intéressant, pour des applications où le gradient de température est très grand, d'utiliser plusieurs matériaux thermoélectriques en série dans chaque branche, chacun dans la gamme de température pour laquelle il est le plus efficace. On parle alors de module thermoélectrique segmenté.

La figure ci-contre illustre le concept de module thermoélectrique segmenté. Nous avons ici un gradient de température très important (700 K de différence entre la zone chaude et la zone froide), et aucun matériau connu n'est efficace dans toute la gamme de température. Chacune des deux branches du couple est donc formée de plusieurs matériaux (ici deux pour la branche n et trois pour la branche p). La longueur de chacun de ces matériaux est choisie pour qu'il soit utilisé dans la gamme de température où il est le plus efficace. Un tel module permettra donc d'obtenir une efficacité énergétique, une puissance électrique, ou une chaleur extraite, nettement plus élevée que si chaque branche n'était composée que d'un seul matériau. Ainsi, les meilleurs rendement de conversion obtenus en laboratoire avec ce type de modules sont à l'heure actuelle voisins de 15 % (ce qui signifie que 15 % de la chaleur traversant le matériau est convertie en puissance électrique). Les modules segmentés sont cependant d'un prix beaucoup plus élevé que les modules « simples », ce qui les restreint à des applications pour lesquelles le coût n'est pas le facteur de choix décisif.
Matériaux thermoélectriques
Matériaux utilisés dans les dispositifs actuels
Basses températures
Le matériau thermoélectrique le plus couramment utilisé aux basses températures (150-200 K), est formé sur la base de Bi1-xSbx (alliage de bismuth et d'antimoine) et ne présente malheureusement de bonnes propriétés thermoélectriques qu'en type n (conduction par les électrons), ce qui restreint le rendement de conversion du système puisqu'aucun matériau n'est efficace en type p dans cette gamme de température (rappelons qu'un système de conversion thermoélectrique est constitué à la fois de branches p et n). Curieusement, alors que ses propriétés sont relativement moyennes (ZT~0,6), l'application d'un champ magnétique permet de doubler le facteur de mérite qui dépasse alors l'unité. Ce matériau est donc généralement utilisé en association avec un aimant permanent[15].
Voisinage de la température ambiante
Le matériau le plus étudié en 2003 est le tellurure de bismuth(III) Bi2Te3 (alliage de bismuth et de tellure). Il est utilisé dans tous les dispositifs fonctionnant au voisinage de la température ambiante, ce qui inclut la plupart des dispositifs de réfrigération thermoélectrique. Les meilleures performances sont obtenues lorsqu'il est allié à Sb2Te3 (alliage d'antimoine et de tellure) qui possède la même structure cristalline[16]. Des échantillons de type p comme de type n peuvent être obtenus par de petites variations de composition au voisinage de la stœchiométrie. Dans les deux cas, des valeurs du facteur de mérite ZT proches de 1 sont obtenues au voisinage de la température ambiante[17]. Ces bonnes valeurs de ZT sont obtenues en partie grâce à la très faible conductivité thermique λ, proche de 1 W m−1 K−1 dans les meilleurs matériaux.
Températures intermédiaires
Pour une utilisation à moyenne température (550-750 K environ), le matériau le plus utilisé est le tellurure de plomb PbTe et ses alliages (PbSn)Te (tellurure de plomb-étain). Les deux composés PbTe et SnTe peuvent former une solution solide complète ce qui permet d'optimiser le gap (bande interdite du semi-conducteur) à la valeur désirée. Les meilleurs matériaux obtenus ont des facteurs de mérite proches de l'unité autour de 700 K[18]. Cependant, ces valeurs sont obtenues uniquement dans les matériaux de type n. PbTe ne peut donc pas, en 2003, constituer à lui seul les deux branches d'un thermoélément. La branche p est donc généralement constituée d'un matériau de type TAGS (pour tellure-antimoine-germanium-argent), qui quant à lui permet d'obtenir des facteurs de mérite supérieurs à l'unité à 700 K uniquement en type p[19]. Il apparaît donc crucial de développer un nouveau matériau qui puisse être utilisé à la fois en type p et en type n dans cette gamme de température. Il est en effet plus facile industriellement d'utiliser le même type de matériau pour les deux branches (et cela permettrait de plus d'éliminer le tellure fortement toxique)[20].
Hautes températures
Les alliages silicium-germanium possèdent de bonnes caractéristiques thermoélectriques aux hautes températures (au-dessus de 1 000 K) et sont notamment utilisés pour la génération d'électricité dans le domaine spatial, dans des générateurs thermoélectriques à radioisotope[21],[22]. Ce sont notamment des alliages de ce type qui sont utilisés pour l'alimentation en électricité des sondes Voyager.
Optimisation des matériaux thermoélectriques
L'expression du facteur de mérite ZT = (S2T)/(ρλ) = (S2Tσ)/λ résume la difficulté à optimiser les propriétés de transport d'un matériau thermoélectrique. Intuitivement, il paraît difficile pour un matériau de posséder simultanément une bonne conductivité électrique et une mauvaise conductivité thermique, caractéristique des isolants. Idéalement, un bon matériau thermoélectrique devrait ainsi posséder tout à la fois la conductivité électrique d'un métal et la conductivité thermique d'un verre[23].
Le numérateur du facteur de mérite ZT, S2σ (σ est la conductivité électrique, inverse de la résistivité électrique : σ=1/ρ) est nommé facteur de puissance. En génération d'électricité par effet thermoélectrique, la puissance utile sera d'autant plus grande que le facteur de puissance sera grand. Le coefficient Seebeck S et la conductivité électrique ne sont pas indépendants l'un de l'autre, et varient de manière opposée avec la concentration en porteurs de charge (concentration d'électrons ou de trous, voir semi-conducteur) : les meilleurs pouvoirs thermoélectriques seront obtenus dans des matériaux de faible concentration en porteurs, tandis que les meilleures conductivités électriques le seront dans des matériaux à forte concentration de porteurs. Par compromis, les meilleurs matériaux thermoélectriques appartiendront donc à la classe des semi-conducteurs.
Le second facteur important dans l'expression du facteur de mérite ZT (en sus du facteur de puissance) est la conductivité thermique : un matériau aura des propriétés thermoélectriques optimales pour une faible conductivité thermique. En effet, de manière intuitive, une bonne conductivité thermique tendrait à s'opposer à l'établissement du gradient thermique : la chaleur traverserait le matériau sans rencontrer de résistance. L'optimisation des matériaux nécessitera donc de chercher à diminuer la conductivité thermique, sans dégrader la conductivité électrique. Seule la contribution des vibrations du réseau (voir conductivité thermique) devra donc être diminuée, et pas la contribution due aux porteurs de charge (électrons ou trous).
Voies de recherche
Comme vu précédemment, les meilleurs matériaux utilisés à l'heure actuelle dans les dispositifs de conversion thermoélectrique possèdent des facteurs de mérite ZT voisins de 1. Cette valeur ne permet pas d'obtenir des rendements de conversion qui rendent ces systèmes rentables économiquement pour des applications « grand public ». Par exemple, il faudrait des matériaux pour lesquels ZT=3 pour pouvoir développer un réfrigérateur domestique concurrentiel. Pour les systèmes de génération d'électricité (qui pourraient être utilisés par exemple sur le pot d'échappement de voitures ou camions, ou sur des microprocesseurs), deux moyens permettraient d'augmenter la rentabilité des systèmes : une augmentation significative de leurs rendements (avec par exemple ZT > 2), ou bien une diminution des coûts.
Le but de ce paragraphe est de présenter de manière non exhaustive quelques voies de recherche actuellement suivies, tant dans des laboratoires industriels que publics.
Structures de basse dimensionnalité
On nomme structure de basse dimensionnalité une mise en forme d'un matériau pour laquelle une ou plusieurs dimensions sont très petites par rapport aux autres. C'est par exemple le cas des couches minces en micro-électronique (structure 2D), de nanofils (structure 1D) ou de nanopoudres (structure 0D), par opposition au matériau massif qui possède trois dimensions. Ces structures possèdent généralement des propriétés assez différentes du matériau massif de même composition.
Dans le domaine de la thermoélectricité, le but de la recherche est double : chercher à améliorer le rendement de conversion en utilisant des structures de basse dimensionnalité, tout en bénéficiant des systèmes de fabrication en grande série utilisés en micro-électronique. L'étude des structures de basse dimensionnalité est devenue très importante depuis l'invention du chapelet conducteur par le thermodynamicien Hubert Juillet en 1978 et que des améliorations notables du facteur de mérite ZT avait été prédites théoriquement puis observées expérimentalement[11] en 1992.
Les deux principaux effets observés sont une forte diffusion des phonons par les joints de grains (frontières entre les différents grains constituant le matériau) induisant une diminution de la conductivité thermique de réseau, et des effets de confinement (phénomène de type quantique) des porteurs de charge qui modifient fortement les propriétés de transport électrique (conductivité électrique et coefficient Seebeck). Des valeurs très élevées du facteur de mérite ZT, de l'ordre de 2,5 à la température ambiante, ont ainsi été observées en laboratoire dans des structures en couches minces[24]. À l'heure actuelle, ces structures sont principalement envisagées pour des applications à des températures basses ou moyennes (<150-200 °C). Une des principales difficultés est en effet d'obtenir des couches minces thermoélectriques dont les propriétés ne se dégradent pas avec la température.
Identification et optimisation de nouveaux matériaux
Principes
Pour obtenir un bon rendement de conversion, les matériaux doivent avoir une conductivité thermique la plus faible possible et une conductivité électrique la plus forte possible. Ils doivent donc idéalement conduire le courant électrique comme un métal, et la chaleur comme un verre.
Différentes propriétés peuvent permettre à la conductivité thermique d'un cristal (les métaux ont une structure cristallisée) de s'approcher de celle d'un verre (les verres sont amorphes). Ce sont principalement :
- une structure cristalline complexe. En effet, la plus grande partie de la chaleur est transportée par les modes de phonons acoustiques. Or un matériau possédant N atomes par maille aura trois modes acoustiques, et 3(N-1) modes optiques, d'où l'intérêt de structures complexes pour lesquelles N est grand et la majorité des modes de phonon sont des modes optiques qui transportent peu la chaleur[25] ;
- des atomes faiblement liés au reste du réseau cristallin (par exemple des atomes petits dans une cage grande), ou dont les positions ne sont pas parfaitement définies (sous-positions autour d'un même site, amplitudes de vibrations importantes). Ces atomes induisent un désordre important qui contribue à la diffusion des phonons et donc à la diminution de la conductivité thermique. En revanche, comme ils participent peu à la conductivité électrique, le désordre n'occasionne pas de dégradation trop importante de cette conductivité.
Matériaux prometteurs particulièrement étudiés
Actuellement, trois classes de matériaux sont particulièrement étudiées suivant ces recommandations (structure complexe et atomes faiblement liés) :
- les composés de type semi-Heusler, de formule générale XYZ avec X et Y des métaux de transition et Z un métalloïde ou un métal, par exemple ZrNiSn (zirconium, nickel, étain). Ces composés présentent des facteurs de puissance S2σ très élevés, à la fois en type p et en type n. L'une de leurs caractéristiques les plus intéressantes est la possibilité de dopage sur chacun des trois sites, ce qui tend en outre à modifier les vibrations du réseau. Cependant leurs conductivités thermiques sont trop élevées, et les meilleurs facteurs de mérite ZT obtenus en 2001 sont de l'ordre de 0,7 à 700-800 K[26] ;
- la deuxième famille de composés, qui présente un très grand nombre de variétés structurales, est celle des clathrates. Ces composés ont une structure relativement ouverte constituée, pour les composés les plus étudiés en 2003, d'un réseau de Si (silicium), GaGe (gallium-germanium) ou GaSn (gallium-étain) formant de grandes cages dans lesquelles peuvent être insérés des atomes lourds (notamment des terres rares ou des alcalino-terreux)[27]. Leur conductivité thermique est similaire à celle du verre (l'atome inséré dans la cage diffuse fortement les phonons) alors que les propriétés électroniques, qui sont principalement fonction du réseau, sont bonnes. Les meilleurs facteurs de mérite obtenus approchent l'unité autour de 800 K[28] ;
- la troisième famille, très étudiée au début des années 2000, est celle des skuttérudites. Ces composés ont une structure cubique formée d'un réseau de type MX3 (avec M un métal de transition et X : arsenic, phosphore ou antimoine), avec au centre de ce réseau une grande cage dans laquelle peuvent être insérés des atomes lourds (notamment des terres rares)[29],[30]. Ces composés possèdent des coefficients Seebeck très élevés ainsi qu'une bonne conductivité électrique, mais leurs conductivités thermiques demeurent trop élevées. Les meilleurs facteurs de mérite obtenus sont voisins de 1,4 autour de 800 K[31],[32].
Applications potentielles
Les applications actuelles et potentielles des matériaux thermoélectriques tirent parti des deux aspects de l'effet Thomson :
D'une part, l'établissement d'un flux de chaleur, opposé à la diffusion thermique, lorsqu'un matériau soumis à un gradient thermique est parcouru par un courant, permet d'envisager des applications de réfrigération thermoélectrique. Cette solution alternative à la réfrigération classique utilisant des cycles de compression-détente ne nécessite aucune pièce mobile, d'où une plus grande fiabilité, l'absence de vibration et de bruit.
Ces propriétés sont fondamentales dans des applications pour lesquelles la température doit être régulée de manière très précise et fiable, par exemple pour les containers utilisés pour le transport d'organes à transplanter, ou pour des applications dans lesquelles les vibrations constituent une gêne rédhibitoire, par exemple les systèmes de guidage laser ou les circuits intégrés. De plus, la possibilité de créer un flux thermique à partir d'un courant électrique de manière directe rend inutile l'utilisation de gaz de type fréon, qui contribuent à dégrader la couche d'ozone.
Depuis l'an 2000, il existe un marché important pour la réfrigération par la thermoélectricité pour les glacières portables à brancher sur du courant électrique 12 volts (voitures automobiles).
D'autre part, la possibilité de convertir un flux de chaleur en courant électrique permet d'envisager des applications de génération d'électricité par effet thermoélectrique, notamment à partir de sources de chaleur perdue comme les pots d'échappement des automobiles (gain de 5 % à 10 %[33] du carburant attendu en limitant l'utilisation de l'alternateur), les cheminées d'incinérateurs, les circuits de refroidissement des centrales nucléaires, etc.[34] Les systèmes thermoélectriques constitueraient alors des sources d'énergie d'appoint « propres », puisque, utilisant des sources de chaleur existantes inutilisées.
De plus, la très grande fiabilité et durabilité des systèmes (grâce à l'absence de pièces mobiles) a conduit à leur utilisation pour l'alimentation en électricité des sondes spatiales. C'est notamment le cas des sondes Voyager, lancées en 1977, dans lesquelles le flux de chaleur établi entre du PuO2 (l'isotope 238 fissible du plutonium utilisé comme source de chaleur) et le milieu extérieur traverse un système de conversion thermoélectrique à base de SiGe (alliage de silicium et germanium), permettant l'alimentation des sondes en électricité. Les sondes spatiales s'éloignent tant du Soleil que le flux solaire devenant trop faible ne peut plus alimenter des panneaux solaires.
Les systèmes de conversion utilisant l'effet thermoélectrique ont cependant des rendements faibles, ce qui limite les thermopiles à quelques applications dans lesquelles la fiabilité et la durabilité sont plus importantes que les coûts et le rendement. Des générateurs thermoélectriques permettent de recharger les dispositifs portables comme les batteries de mobiles en cas de panne secteur[réf. nécessaire].
Notes et références
- 1 2 (en) C. B. Vining, « Fifteen Years of Progress and Things to Come », 5th European Conference on Thermoelectrics, Odessa, (lire en ligne [PDF]).
- ↑ (de) Thomas Johann Seebeck, « Magnetische Polarisation der Metalle und Erze durch Temperatur-Differenz », Abhandlungen der Königlichen Preußischen Akademie der Wissenschaften zu Berlin, Verlag von Wilhelm Engelman, (lire en ligne [PDF]).
- ↑ Jean-Charles Peltier, « Nouvelles expériences sur la caloricité des courants électriques », Annales de chimie et de physique, vol. 56, , p. 371-386 (lire en ligne).
- ↑ (de) Heinrich Lenz, « Ueber die Bestimmung der Richtung durch elektodyanamische Vertheilung erregten galvanischen Ströme », Annalen der Physik und Chemie, vol. 31, , p. 483 (lire en ligne), sur Gallica.
- ↑ (en) D. D. Allred, Short course on thermoelectrics : An overview of thermoelectrics, International Thermoelectric Society, .
- ↑ (en) W. Thomson, « On the Dynamical Theory of Heat Transfer », Transactions of the Royal Society of Edinburgh: Earth Sciences, vol. 3, , p. 91-98.
- 1 2 (de) E. Altenkirch, « Über den Nutzeffekt der Thermosäule », Physikalische Zeitschrift, vol. 10, no 16, , p. 560–580. Traduction en anglais : (en) Dario Narducci, « E. Altenkirch, About the Efficiency of the Thermopile », dans 200 Years of Thermoelectricity, vol. 328, Springer International Publishing, , 145–152 p. (ISBN 978-3-031-22107-1, DOI 10.1007/978-3-031-22108-8_17).
- ↑ (en) M. V. Vedernikov et E.K. Iordanishvili, « A.F. Ioffe and origin of modern semiconductor thermoelectric energy conversion », Proceedings ICT 98, XVII International Conference on Thermoelectrics, .
- ↑ Système d'électrocardiographie sans fil, brevet n°WO2004002301A2, le 8 janvier 2004, Google Patents (consulté le 1er juillet 2017).
- ↑ Installation pour la surveillance cardiologique de patients, le 24 mars 1982, Google Patents (consulté le 1er juillet 2017).
- 1 2 (en) L. D. Hicks et Mildred Dresselhaus, « Effect of quantum-well structures on the thermoelectric figure of merit », Physical Review B, vol. 47, , p. 12727-12731.
- ↑ Voir la base de données de l'INPI ou de l'OMPI.
- ↑ Roger Balian, Introduction à la thermodynamique hors équilibre, CEA/Institut de physique théorique, , 40 p. (lire en ligne [PDF]).
- ↑ N. Pottier, Physique statistique hors d'équilibre : processus irréversibles linéaires, Les Ulis/Paris, EDP Sciences/CNRS Éditions, , 524 p. (ISBN 978-2-86883-934-3).
- ↑ (en) W. M. Yim et A. Amith, « Bi-Sb alloys for magneto-thermoelectric and thermomagnetic cooling », Solid-State Electronics, vol. 15, no 10, , p. 1141-1144.
- ↑ (en) O. Yamashita et S. Tomiyoshi, « Effect of annealing on thermoelectric properties of bismuth telluride compounds », Japanese Journal of Applied Physics, vol. 42, no 1, , p. 492.
- ↑ (en) H. J. Goldsmid, Thermoelectric refrigeration, Springer, , 240 p. (ISBN 978-1-4899-5725-2).
- ↑ (en) H. Dughaish, « Lead telluride as a thermoelectric material for thermoelectric power generation », Physica B, vol. 322, nos 1-2, , p. 205-223.
- ↑ (en) J. W. Sharp, « Some properties of Ge-Te based thermoelectric materials », 22th International Conference on Thermoelectrics, La Grand Motte, France, , p. 267.
- ↑ Fiche internationale de sécurité pour le tellure.
- ↑ (en) B. Abeles, D. S. Beers, G. D. Cody et J. P. Dismukes, « Thermal conductivity of Ge-Si alloys at high temperatures », Physical Review, vol. 125, no 1, , p. 44-46.
- ↑ (en) O. Yamashita et N. Sadatomi, « Thermoelectric properties of Si1-xGex (x<0.10) with alloy and dopant segregations », Journal of Applied Physics, vol. 88, no 1, , p. 245-252.
- ↑ (en) G. A. Slack, CRC Handbook for Thermoelectric cooling : New materials and performance limit for thermoelectric cooling, Boca Raton/New York/London etc., CRC Press, , 407-440 p. (ISBN 0-8493-0146-7).
- ↑ (en) R. Venkatasubramanian, E. Siivola, T. Colpitts et B. O'Quinn, « Thin-film thermoelectric devices with high room-temperature figures of merit », Nature, vol. 413, , p. 597-602.
- ↑ (en) G. A. Slack, « The Thermal Conductivity of Nonmetallic Crystals », Solid State Physics, vol. 34, , p. 1-71.
- ↑ (en) Qiang Shen, L. Zhang, Lidong Chen et Toshio Hirai, « Thermoelectric properties of ZrNiSn based half Heusler compounds by solid state reaction method », Journal of Materials Science Letters, vol. 20, , p. 2197-2199.
- ↑ (en) P. Rogl et al., « Structural Chemistry, Constitution and Properties of Clathrates », 22th International Conference on Thermoelectrics, La Grand Motte, France, .
- ↑ (en) H. Anno, M. Hokazono, M. Kawamura et K. Matsubara, « Thermoelectric properties of Ba8GaxGe46-x clathrate compounds », 21st Conference on Thermoelectrics, Long Beach (CA) États-Unis, , p. 77.
- ↑ (de) I. Z. Oftedal, « Die Kristallstruktur von skutterudit und speiskobalt chloanthit », Zeitschrift für Kristallographie, vol. 66, , p. 517.
- ↑ (en) W. Jeitschko et D. J. Braun, « LaFe4P12 with filled CoAs type structure and isotypic LnxMyPz », Acta Crystallographica, vol. 33, , p. 3401.
- ↑ (en) X. F. Tang et al., « High temperature thermoelectric properties of n-type BayNixCo4-xSb12 », Journal of Materials Research, vol. 16, no 12, , p. 3343-3346.
- ↑ (en) X. F. Tang, L. Chen, T. Goto et T. Hirai, « High temperature thermoelectric properties of n-type BayNixCo4-xSb12 », Journal of Materials Research, vol. 16, no 3, , p. 837-843.
- ↑ (en) K. Matsubara, « Development of a high efficient thermoelectric Stack for a waste exhaust heat recovery of vehicles », 21st International Conference on Thermoelectrics, Long Beach (CA) États-Unis, , p. 418.
- ↑ « Inventaire des énergies renouvelables : énergie thermoélectrique » (consulté le ).
Voir également
Articles connexes
Bibliographie
- Roger Balian, From Microphysics to Macrophysics : Methods and Applications of Statistical Physics. Volume I, Springer, , 465 p. (ISBN 978-3-540-45469-4, lire en ligne)
- (en) H. J. Goldsmid, Introduction to Thermoelectrics, Springer, , 701 p. (ISBN 978-0-8493-0146-9)
- (en) D. M. Rowe, CRC Handbook of Thermoelectrics, CRC Press, , 701 p. (ISBN 978-0-8493-0146-9)
- (en) G. Mahan, B. Sales et J. Sharp, « Thermoelectric Materials: New Approaches to an Old Problem », Physics Today, vol. 50, , p. 42
Liens externes
- Notices dans des dictionnaires ou encyclopédies généralistes :
- (en) Société internationale de thermoélectricité
- « Thermoélectricité : concepts, matériaux et enjeux énergétiques » par Antoine Georges, Collège de France, 2013 (consulter la section « Cours & Séminaires ») (fiche du cours [PDF])
- [vidéo] Chaillot Barnabé, « Ep 4: Comment faire de la thermoélectricité avec un module peltier ? », sur YouTube,
- Portail de la physique
- Portail de l’électricité et de l’électronique
- Portail de l’énergie